GM Service Manual Online
For 1990-2009 cars only
Figure 1:

Power, Ground and Dimming Control


Object Number: 745014  Size: FS
Master Electrical Component List
Interior Lighting Systems Description and Operation
LED Dimming Control, IPC, Cargo/Fog Lamp Switch and DIC
ABS, HAZ LP, STUD 1, STUD 2, CTSY LP, and PARK LP Fuses
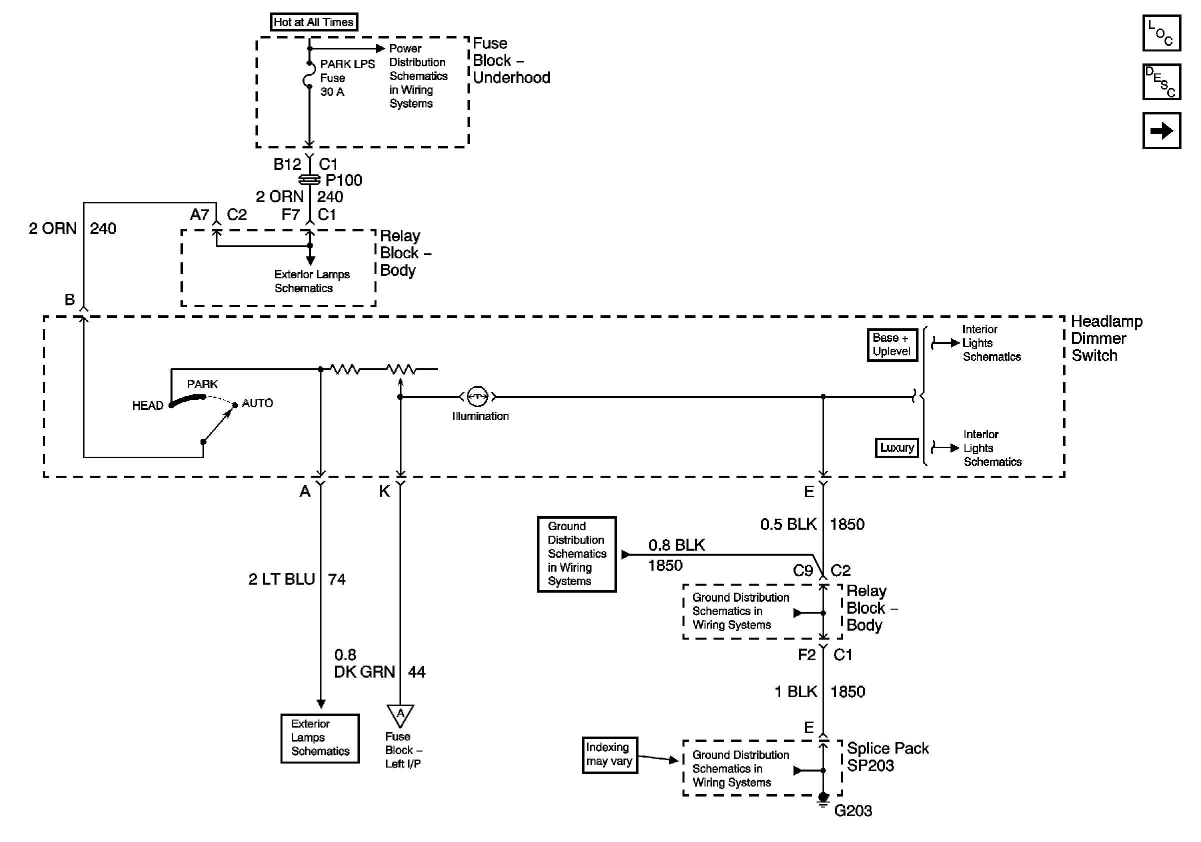
Park Lamp Control
G203 - 3 of 4
G203 - 3 of 4
G203 - 1 of 4
Park Lamp Control
LED Dimming Control, IPC, Cargo/Fog Lamp Switch and DIC
Figure 2:

LED Dimming Control, IPC, Cargo/Fog Lamp Switch and DIC


Object Number: 745015  Size: FS
Master Electrical Component List
Interior Lighting Systems Description and Operation
Transfer Case Shift Control Switch and Traction Assist Switch
Power, Ground and Dimming Control
Power, Ground and Dimming Control
Transfer Case Shift Control Switch and Traction Assist Switch
Transfer Case Shift Control Switch and Traction Assist Switch
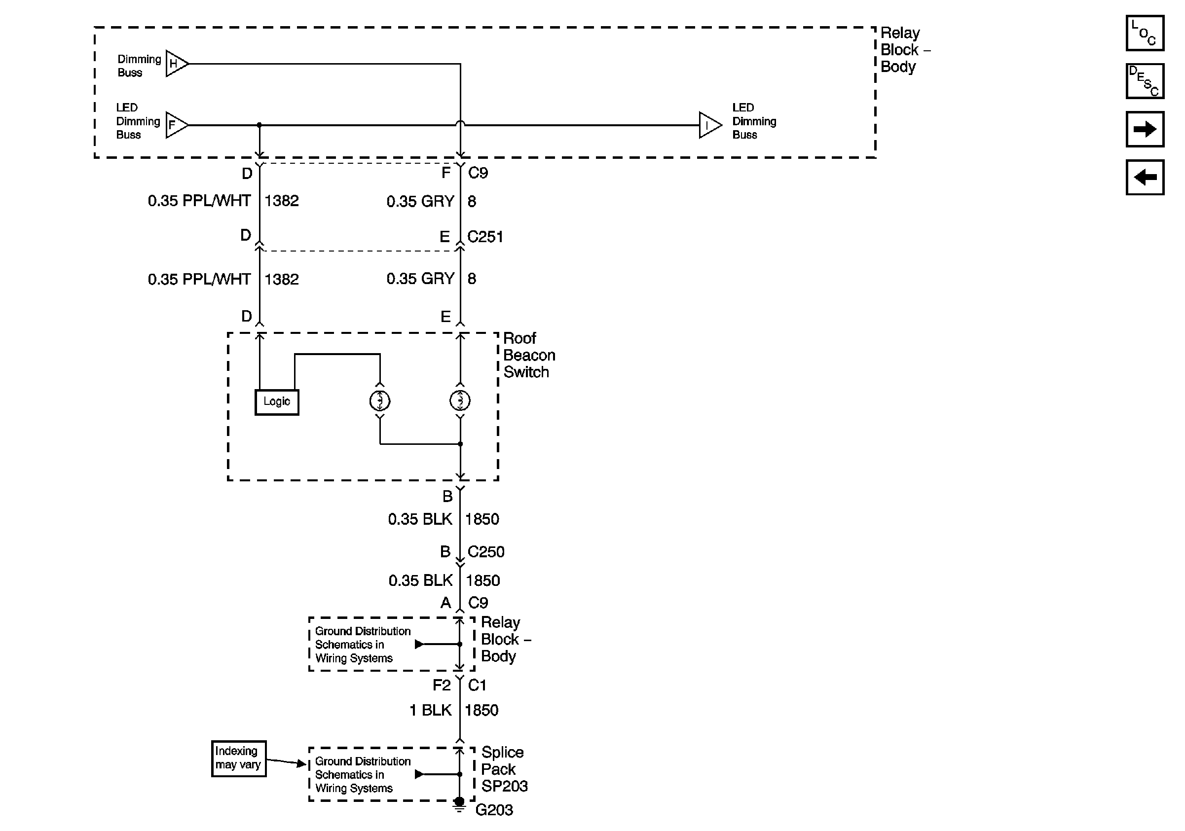
Roof Beacon Switch
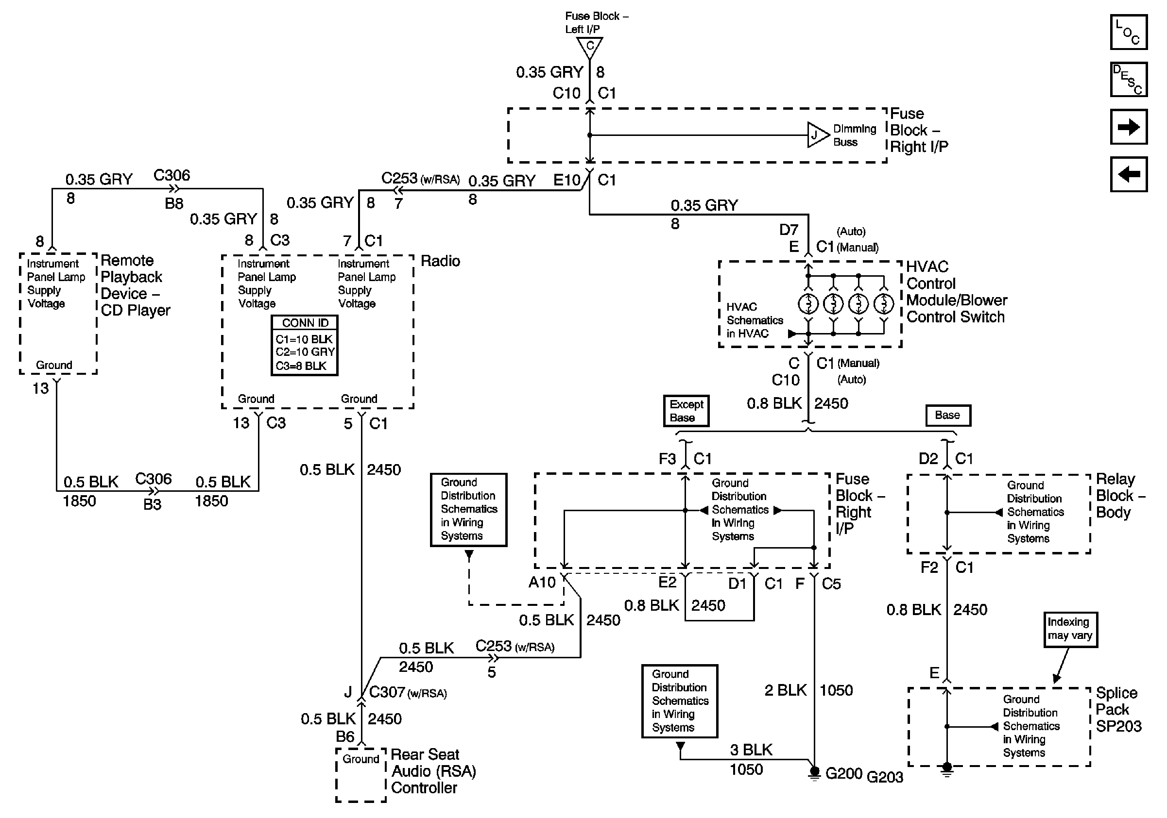
Radio, CD Player, and HVAC Control Module
Transfer Case Shift Control Switch and Traction Assist Switch
Power and Ground
G203 - 1 of 4
G203 - 1 of 4
G203 - 3 of 4
Fog Lamps Schematics
Cargo Lamps and Door Jamb Switch - LF - Uplevel
G103, G105, and G106
G103, G105, and G106
G103, G105, and G106
Figure 3:

Transfer Case Shift Control Switch and Traction Assist Switch


Object Number: 757849  Size: FS
Master Electrical Component List
Interior Lighting Systems Description and Operation
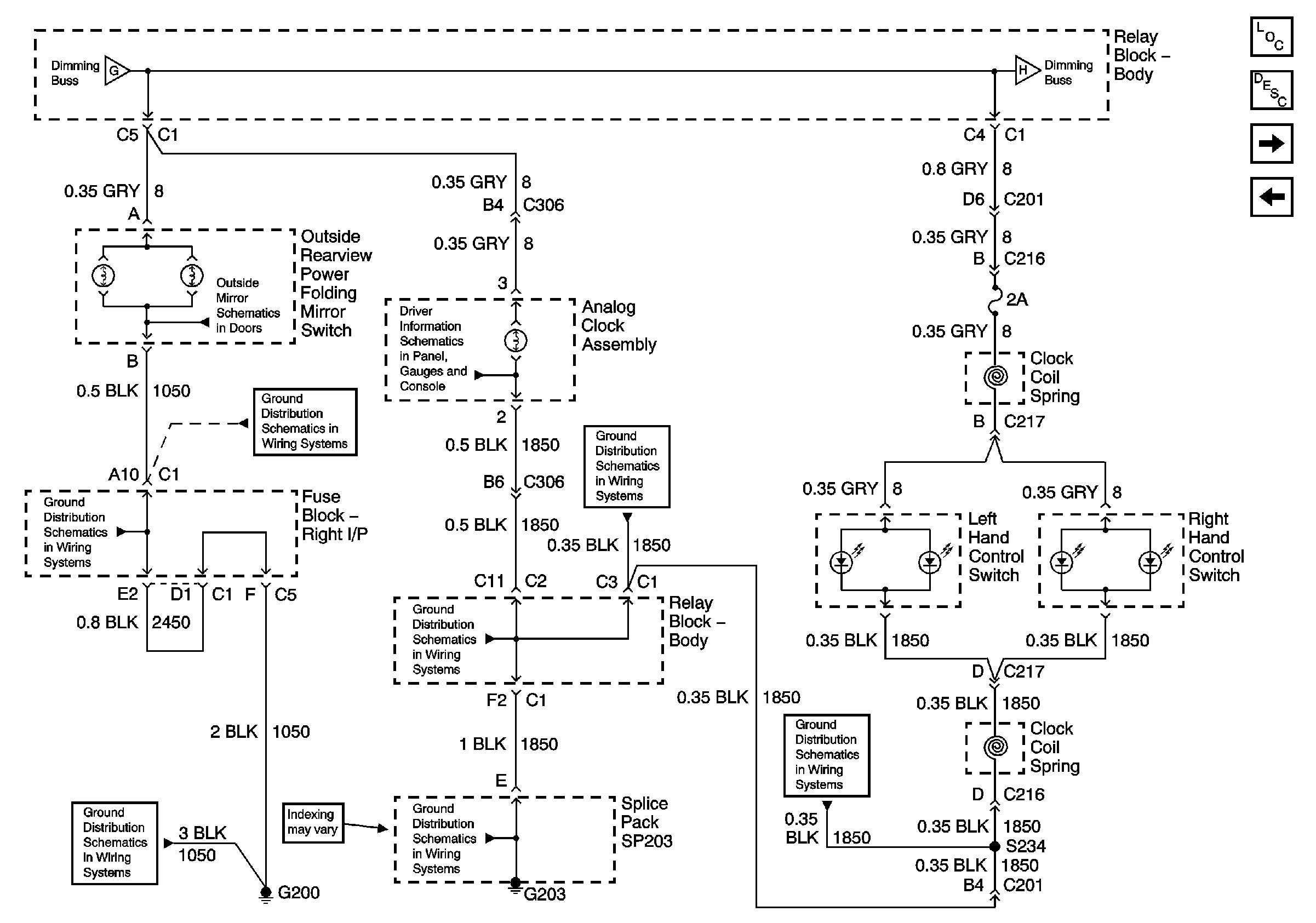
Power Folding Mirror Switch, Analog Clock and Steering Wheel Controls
LED Dimming Control, IPC, Cargo/Fog Lamp Switch and DIC
LED Dimming Control, IPC, Cargo/Fog Lamp Switch and DIC
Power Folding Mirror Switch, Analog Clock and Steering Wheel Controls
LED Dimming Control, IPC, Cargo/Fog Lamp Switch and DIC
LED Dimming Control, IPC, Cargo/Fog Lamp Switch and DIC
G203 - 4 of 4
G203 - 4 of 4
w/ Traction Assist - Escalade 2WD
Speed Sensor Signals, Traction Control Switch - w/Traction Assist
G203 - 4 of 4
G203 - 1 of 4
Figure 4:

Power Folding Mirror Switch, Analog Clock and Steering Wheel Controls


Object Number: 764303  Size: FS
Master Electrical Component List
Interior Lighting Systems Description and Operation
Roof Beacon Switch
Transfer Case Shift Control Switch and Traction Assist Switch
Transfer Case Shift Control Switch and Traction Assist Switch
Roof Beacon Switch
Outside Rearview Mirror - Passenger and Outside Rearview Power Folding Mirror Switch (Z75)
Analog Clock (Z75 Only)
G200 - 2 of 2
G200 - 2 of 2
G200 - 1 of 2
G203 - 3 of 4
G203 - 3 of 4
G203 - 1 of 4
G203 - 3 of 4
Figure 5:

Roof Beacon Switch


Object Number: 814920  Size: FS
Master Electrical Component List
Interior Lighting Systems Description and Operation
Radio, CD Player, and HVAC Control Module
Power Folding Mirror Switch, Analog Clock and Steering Wheel Controls
Power Folding Mirror Switch, Analog Clock and Steering Wheel Controls
LED Dimming Control, IPC, Cargo/Fog Lamp Switch and DIC
RPA and Vehicle Stability Switches
G203 - 3 of 4
G203 - 1 of 4
Figure 6:

Radio, CD Player, and HVAC Control Module


Object Number: 745016  Size: FS
Master Electrical Component List
Interior Lighting Systems Description and Operation
RPA and Vehicle Stability Switches
Roof Beacon Switch
LED Dimming Control, IPC, Cargo/Fog Lamp Switch and DIC
HVAC Auxiliary Control
Primary Blower Controls
G200 - 2 of 2
G200 - 1 of 2
G200 - 1 of 2
G203 - 3 of 4
G203 - 1 of 4
Figure 7:

RPA and Vehicle Stability Switches


Object Number: 812097  Size: FS
Master Electrical Component List
Interior Lighting Systems Description and Operation
HVAC Auxiliary Control
Radio, CD Player, and HVAC Control Module
Radio, CD Player, and HVAC Control Module
HVAC Auxiliary Control
Roof Beacon Switch
Rear Parking Assist (RPA) Display, RPA Disable Switch, Control Module
Wheel Speed Sensors, YAW Rate Sensor and Vehicle Stability Switch - W/VSES
G203 - 3 of 4
G203 - 1 of 4
Figure 8:

HVAC Auxiliary Control


Object Number: 757852  Size: FS
Master Electrical Component List
Interior Lighting Systems Description and Operation
RPA and Vehicle Stability Switches
RPA and Vehicle Stability Switches
G410 - 1 of 2
G410 - 1 of 2
G410 - 1 of 2
G410 - 1 of 2
Auxiliary Blower Controls (w/o Sunroof) - Device Controls (w/Heat or A/C Only)
Auxiliary Blower Controls (w/Sunroof) - (w/Heat and A/C)