GM Service Manual Online
For 1990-2009 cars only
Makes
🢒
Chevrolet
🢒
2002
🢒
Avalanche - 2WD
🢒
Body and Accessories
🢒
Wiring Systems
🢒 Theft Deterrent System Schematics
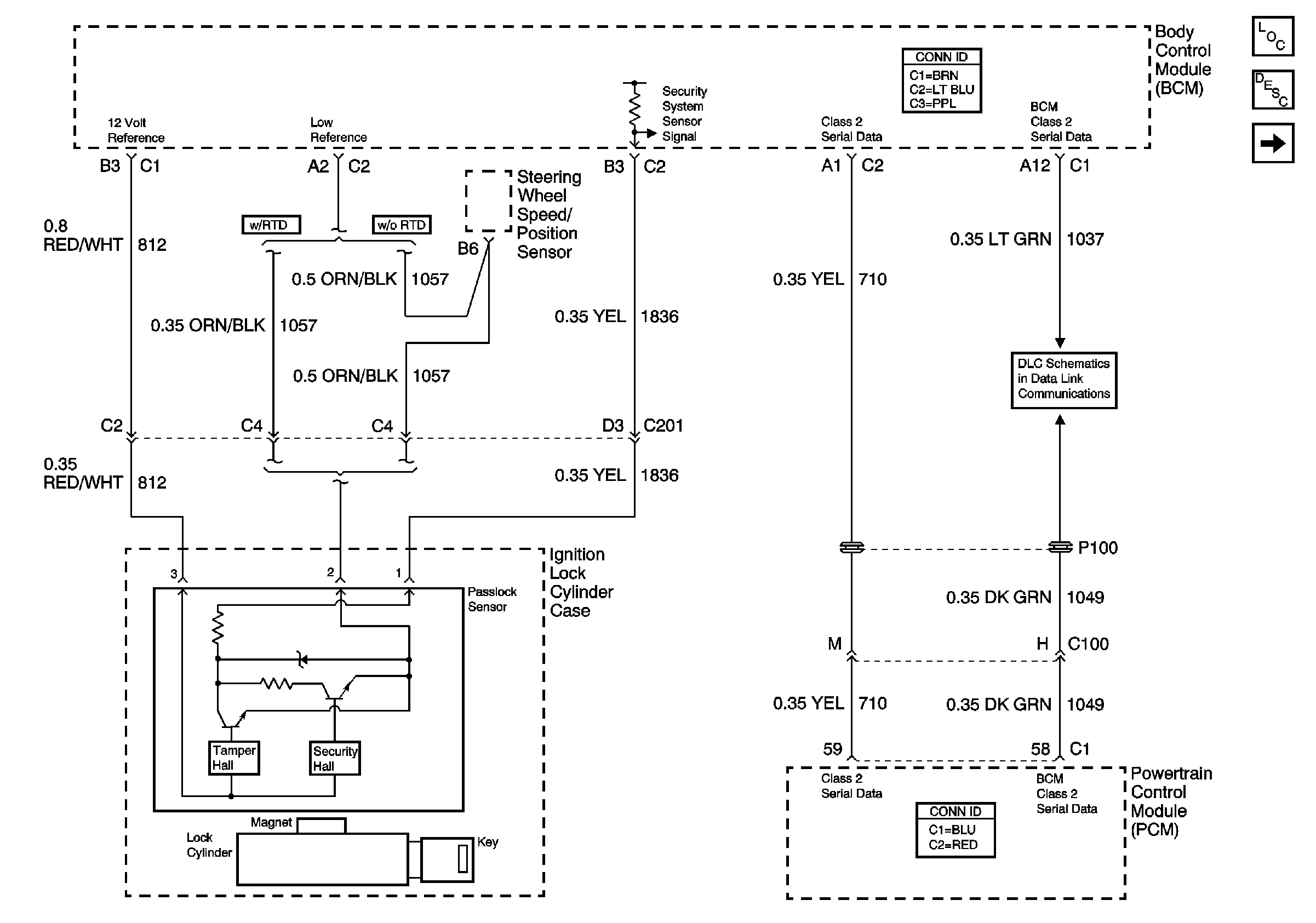
Figure
1:
Steering Wheel Speed/Position Sensor, Passlock Sensor, DLC
Master Electrical Component List
Theft Systems Description and Operation
Door Jamb and Key Switches
Splice Pack SP205
Figure
2:
Door Jamb and Key Switches
Master Electrical Component List
Theft Systems Description and Operation
Steering Wheel Speed/Position Sensor, Passlock Sensor, DLC
G203 - 2 of 4
G203 - 1 of 4
G203 - 2 of 4
G200 - 1 of 2
G200 - 1 of 2
G200 - 1 of 2
G200 - 1 of 2
G410 2 of 2
G410 2 of 2
G410 - 1 of 2
G410 - 1 of 2