GM Service Manual Online
For 1990-2009 cars only
Makes
🢒
Chevrolet
🢒
2007
🢒
Avalanche - 2WD
🢒
Safety and Security
🢒
Immobilizer
🢒 Immobilizer Component Views
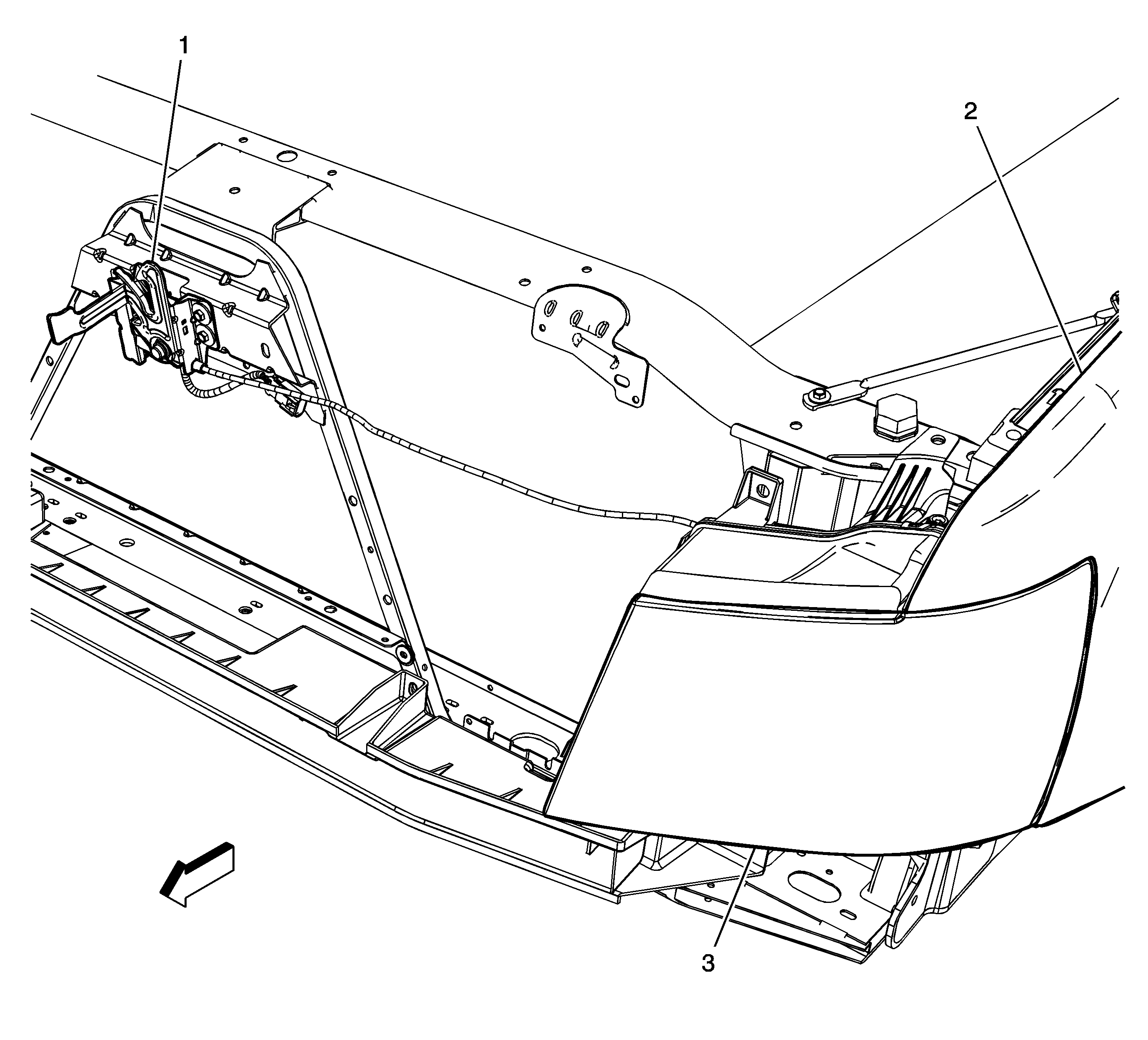
Figure
1:
Hood Ajar Switch
(1)
Hood Ajar Switch (AP3/AP8)
(2)
Left Front Fender
(3)
Headlamp Assembly - Left Front
Figure
2:
Steering Column Components
(1)
Turn Signal Multifunction Switch
(2)
Ignition Lock Cylinder
(3)
Tow/Haul Switch
(4)
Steering Angle Sensor
(5)
Shift Interlock Solenoid
(6)
Theft Deterrent Control Module
(7)
Ignition Switch
(8)
Inflatable Restraint Steering Wheel Module Coil