GM Service Manual Online
For 1990-2009 cars only
Makes
🢒
Chevrolet
🢒
2008
🢒
Avalanche - 2WD
🢒
Diagnostic Navigation
🢒
Vehicle Diagnostic Information
🢒 Automatic Transmission Controls Schematics
Figure
1:
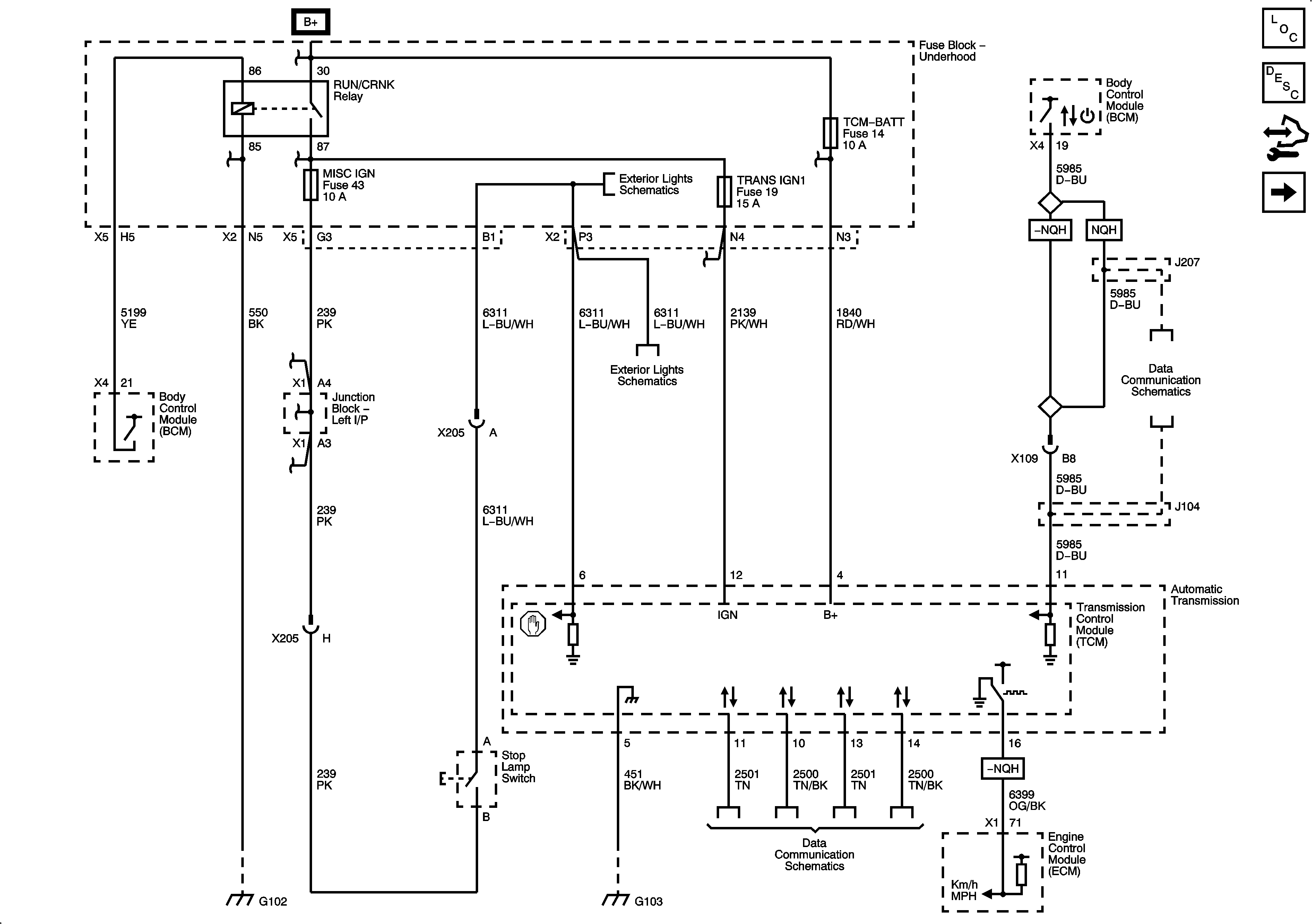
Module Power, Ground, Serial Data and Stop Lamp Switch
Master Electrical Component List
Transmission Component and System Description
Control Module References
Pressure Controls - 1 of 2 and Shift Controls
RUN/CRANK Bus - AIRBAG IGN, MISC IGN and SEO/ALC Fuses
Stop Lamp Controls and CHMSL
RUN/CRANK Bus - ECM-IGN and TRANS IGN 1 Fuses
ECM-BATT, HEADLAMP WASH, HVAC BATT, IPC, LTR, S/ROOF, and TCM-BATT Fuses
Stop Lamp Controls and CHMSL
Serial Data Communication Enable and Wake-up Circuits
G102, G104, and G108
G103, G110 and G111
HIgh Speed Bus - 1 of 2
Figure
2:
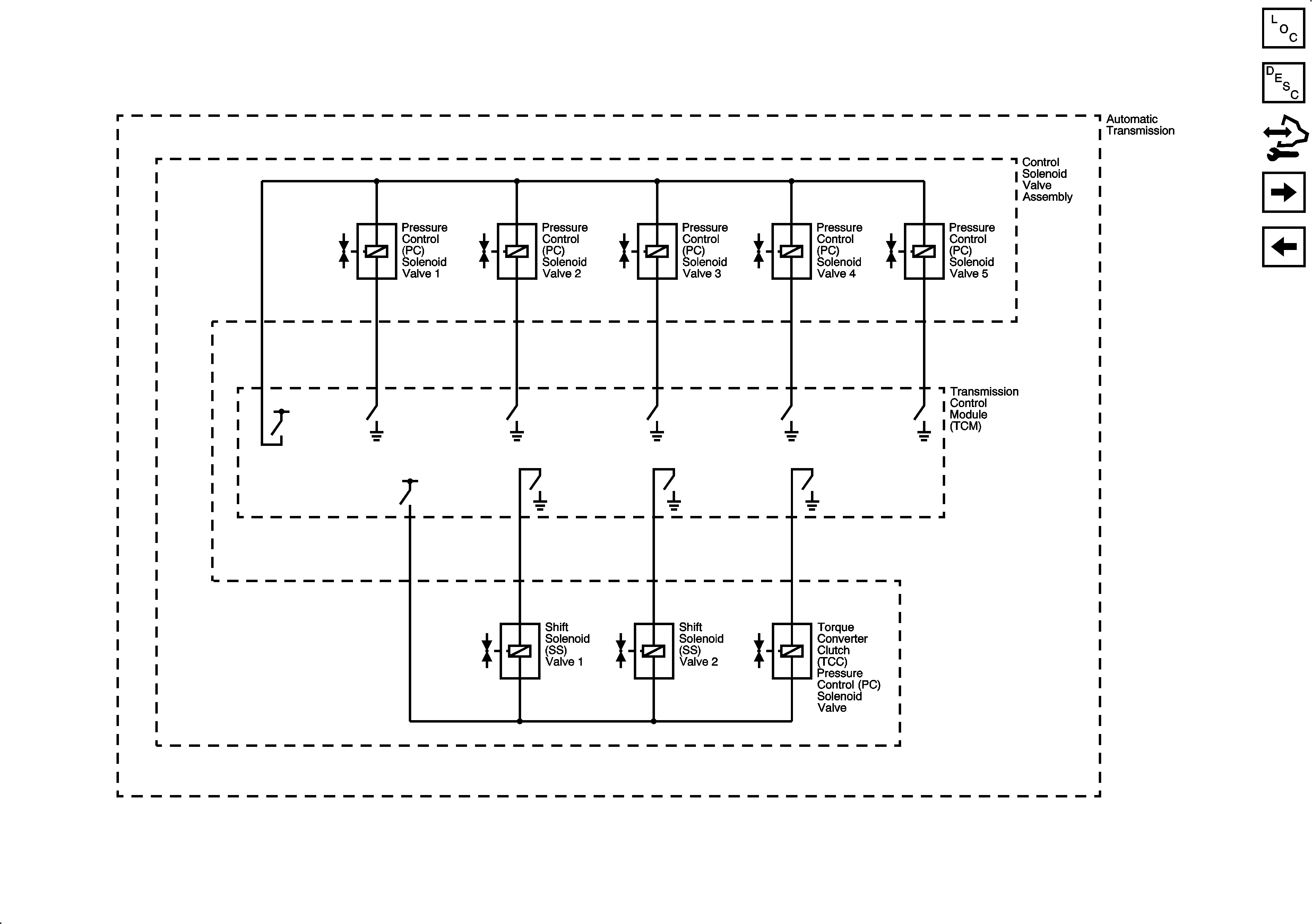
Pressure Controls - 1 of 2 and Shift Controls
Master Electrical Component List
Transmission Component and System Description
Control Module References
Pressure Controls - 2 of 2 and Speed Sensors
Module Power, Ground, Serial Data, and Stop Lamp Switch
Figure
3:
Pressure Controls - 2 of 2 and Speed Sensors
Master Electrical Component List
Transmission Component and System Description
Control Module References
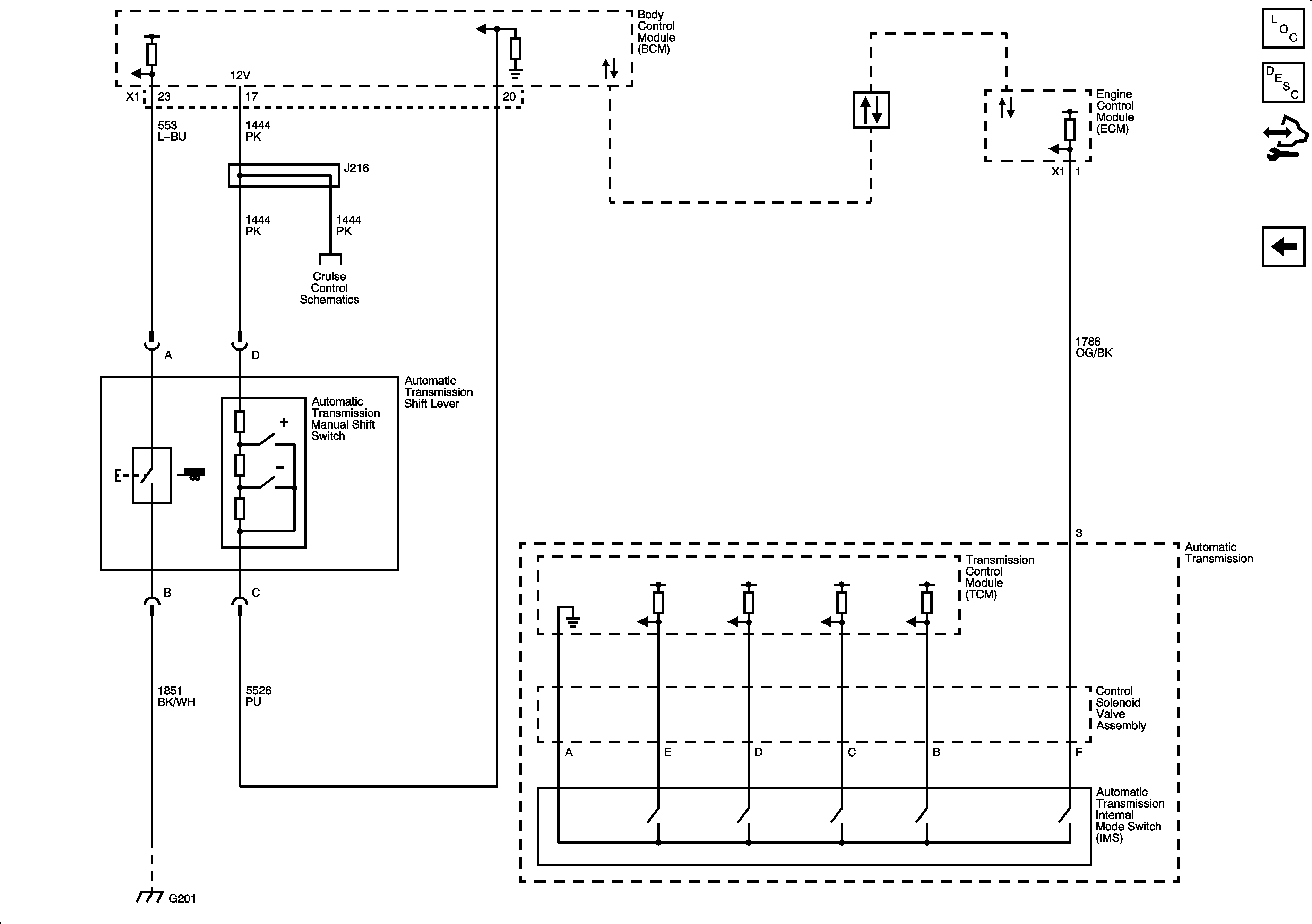
Transmission Range Signals and Driver Shift Request
Pressure Controls - 1 of 2 and Shift Controls
Figure
4:
Transmission Range Signals and Driver Shift Request
Master Electrical Component List
Transmission Component and System Description
Control Module References
Pressure Controls - 2 of 2 and Speed Sensors
Cruise Control Schematics
Data Communication Schematics
G201