GM Service Manual Online
For 1990-2009 cars only

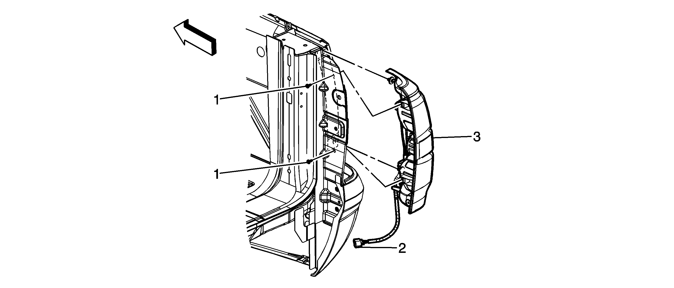
Tail Lamp Replacement Tahoe/Yukon


Object Number: 1669959  Size: SF

Callout

Component Name

Preliminary Procedure

Open the liftgate in order to access the tail lamp assembly screws.

1

Tail Lamp Assembly Screws (Qty: 2)

Notice: Refer to Fastener Notice in the Preface section.

Tighten
2 N·m (18 lb in)

2

Tail Lamp Assembly Locator Pins (Qty: 2)

Tip
Upon tail lamp removal, some effort is needed to disengage the locating pins from the rear body panel retainer nuts.

3

Tail Lamp Retainer Nuts (Qty: 2)

4

Tail Lamp Wiring Harness Assembly Connector

5

Tail Lamp Assembly

Tip
Upon installation, push inward on the tail lamp in order to seat the 2 locating pins.

Tail Lamp Replacement Cadillac


Object Number: 1669953  Size: SF

Callout

Component Name

Preliminary Procedure

Open the liftgate in order to access the tail lamp assembly screws.

1

Tail Lamp Assembly Screws (Qty: 2)

Notice: Refer to Fastener Notice in the Preface section.

Tighten
2 N·m (18 lb in)

2

Tail Lamp Assembly Locator Pins (Qty: 2)

Tip
Upon tail lamp removal, some effort is needed to disengage the locating pins from the rear body panel retainer nuts.

3

Tail Lamp Retainers (Qty: 2)

4

Tail Lamp Wiring Harness Assembly Connector

5

Tail Lamp Assembly

Tip
Upon installation of the tail lamp, push inward on the lamp in order to seat the 2 locator pins into the retainer nuts.

Tail Lamp Replacement Avalanche


Object Number: 1739484  Size: SF

Callout

Component Name

Preliminary Procedure

Open the endgate in order to access the tail lamp assembly screws.

1

Tail Lamp Assembly Screw (Qty: 2)

Notice: Refer to Fastener Notice in the Preface section.

Tighten
2 N·m (18 lb in)

2

Tail Lamp Wiring Harness Assembly Connector

3

Tail Lamp Assembly

Tip
Upon installation, push inward on the tail lamp in order to seat the 2 locating pins in the body panel.

Tail Lamp Replacement GMC Yukon Two-mode Hybrid


Object Number: 1965002  Size: SF

Callout

Component Name

Preliminary Procedure

Open the liftgate in order to access the tail lamp assembly screws.

1

Tail Lamp Assembly Screws (Qty: 2)

Notice: Refer to Fastener Notice in the Preface section.

Tighten
2.5 N·m (22 lb in)

2

Tail Lamp Electrical Harness Assembly Connector

Tip
Disconnect the tail lamp bulb and side marker lamp bulb sockets from the lamp assembly.

3

Tail Lamp Assembly

Tip
Upon installation, push inward on the outer edge of the tail lamp in order to seat the 2 locating pins to the outer body panel nuts.