GM Service Manual Online
For 1990-2009 cars only

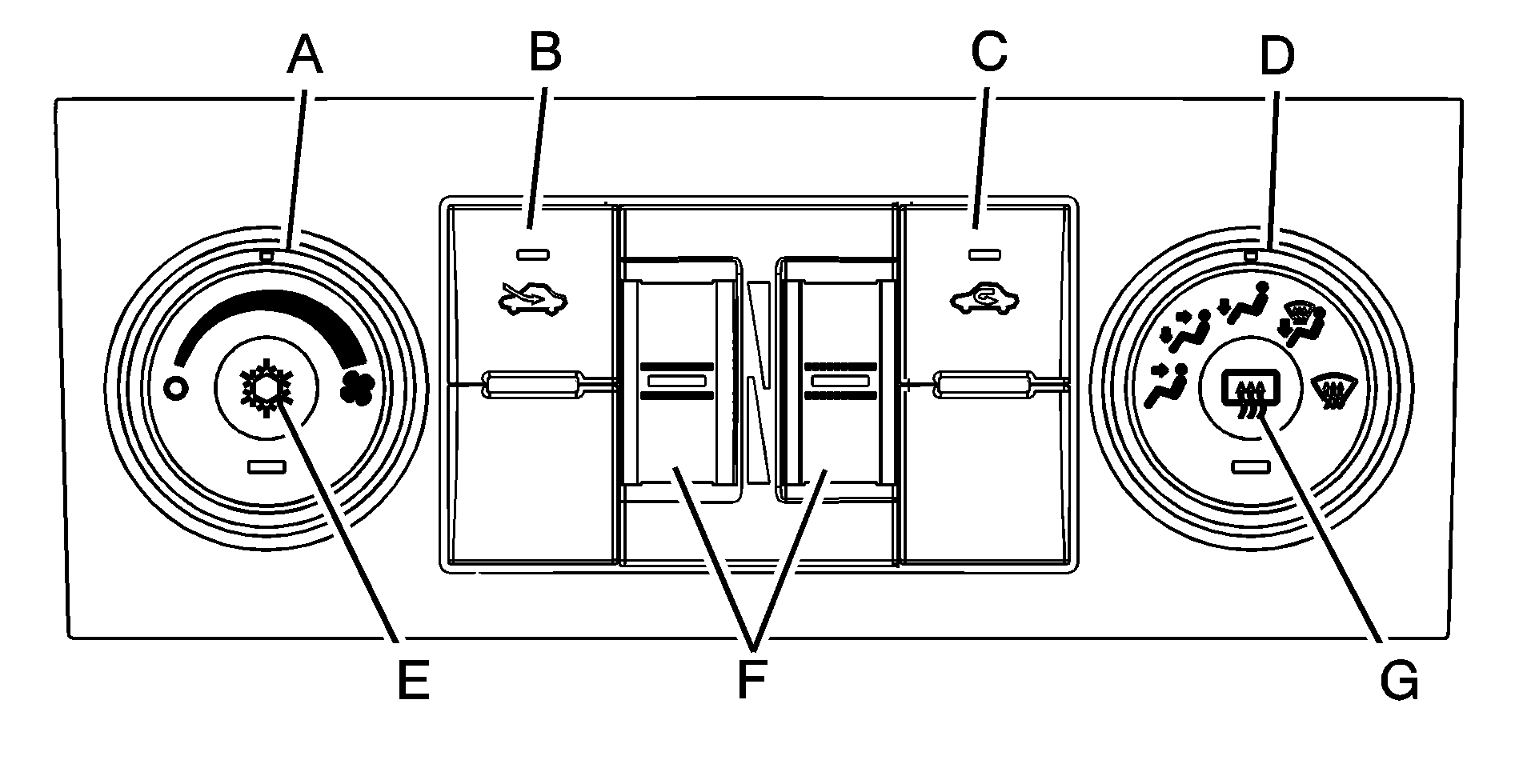
The heating, cooling, defrost, defog and ventilation of the vehicle can be controlled with this system.


Object Number: 2048304  Size: B2
  1. Fan Control

  2. Outside Air

  3. Recirculation

  4. Air Delivery Mode Control

  5. Air Conditioning

  6. Driver and Passenger Temperature Controls

  7. Rear Window Defogger

Temperature Control:  Move the thumbwheels up or down to increase or decrease the temperature on the driver side or the passenger side of the vehicle.

(Fan Control):  Turn clockwise or counterclockwise to increase or decrease the fan speed. Turn the knob all the way counterclockwise to turn the front system off.

Air Delivery Mode Control: Turn clockwise or counterclockwise to change the direction of the airflow inside the vehicle. The knob can be positioned between two modes, for a combination of those modes. To change the current mode, select one of the following:

(Vent):  Air is directed to the instrument panel outlets.

(Bi-Level):  Air is divided between the instrument panel and floor outlets. Some air is directed towards the windshield and side window outlets. Cooler air is directed to the upper outlets and warmer air to the floor outlets.

(Floor): Air is directed to the floor outlets, with some of the air directed to the windshield, side window, and second row floor outlets. In this mode, the system automatically selects outside air. Recirculation cannot be selected when in Floor Mode.

(Defog):  The defog mode is used to clear the windows of fog or moisture. Air is directed to the windshield, floor outlets, and side window vents. In this mode, the system turns off recirculation and runs the air conditioning compressor unless the outside temperature is close to freezing. The recirculation mode cannot be selected while in the defog mode.

(Defrost): The defrost mode is used to remove fog or frost from the windshield more quickly. Air is directed to the windshield and side window vents, with some directed to the floor vents. In this mode, the system automatically forces outside air into the vehicle. The recirculation mode cannot be selected while in the defrost mode. The air conditioning compressor runs automatically in this setting, unless the outside temperature is close to freezing. Do not drive the vehicle until all the windows are clear.

(Air Conditioning):  Press this button to turn the air conditioning system on or off. An indicator light comes on to show that the air conditioning is on. The air conditioning can be selected in any mode as long as the fan control is on. On hot days, open the windows to let hot inside air escape; then close them. This helps to reduce the time it takes for the vehicle to cool down. It also helps the system to operate more efficiently. The air conditioning system removes moisture from the air, so a small amount of water might drip under the vehicle while idling or after turning off the engine. This is normal.

(Outside Air): Press to turn the outside air mode on. An indicator light comes on to show that outside air is on. Air from outside the vehicle is circulated throughout the vehicle. The outside air mode can be used with all modes, but it cannot be used with the recirculation mode. Pressing this button again will cancel the recirculation mode.

(Recirculation): Press to turn the recirculation mode on or off. An indicator light comes on to show that recirculation is on. This mode recirculates and helps to quickly cool the air inside the vehicle. It can be used to help prevent outside air and odors from entering the vehicle. The recirculation mode cannot be used with floor, defrost, or defogging modes. If recirculation is selected while in one of those modes, the indicator flashes three times and turns off. The air conditioning compressor will also come on when this mode is activated. While in recirculation mode the windows may fog when the weather is cold and damp. To clear the fog, select either the defog or defrost mode and increase the fan speed. The recirculation mode can also be turned off by turning off the engine.

Rear Window Defogger

The rear window defogger uses a warming grid to remove fog from the rear window.

(Rear Window Defogger): Press this button on the right knob to turn the rear window defogger on or off. The system automatically turns off several minutes after it has been activated. The defogger can also be turned off by turning off the engine. Do not drive the vehicle until all the windows are clear.

For vehicles with heated outside rearview mirrors, the mirrors will heat to help clear fog or frost from the surface of the mirror when the rear window defog button is pressed.

Notice: Do not use anything sharp on the inside of the rear window. If you do, you could cut or damage the warming grid, and the repairs would not be covered by the vehicle warranty. Do not attach a temporary vehicle license, tape, a decal or anything similar to the defogger grid.