GM Service Manual Online
For 1990-2009 cars only
Makes
🢒
Chevrolet
🢒
2002
🢒
Avalanche - 4WD
🢒
Body and Accessories
🢒
Wiring Systems
🢒 SIR Schematics
Figure
1:
Power, Ground, Steering Wheel Module, IP Module, Discriminating Sensor
IGN 1, SEO IGN, and AIR BAG Fuses
G304
Splice Pack SP205
SIR Schematic Icons
SIR Schematic Icons
SIR Schematic Icons
IGNITION, RUN, and START Bus Bar
HTD MIR, RR DEFOG Fuses, and RR DEFOG Relay
Master Electrical Component List
SIR System Description and Operation
Side Impact Sensors and Modules
SIR Caution
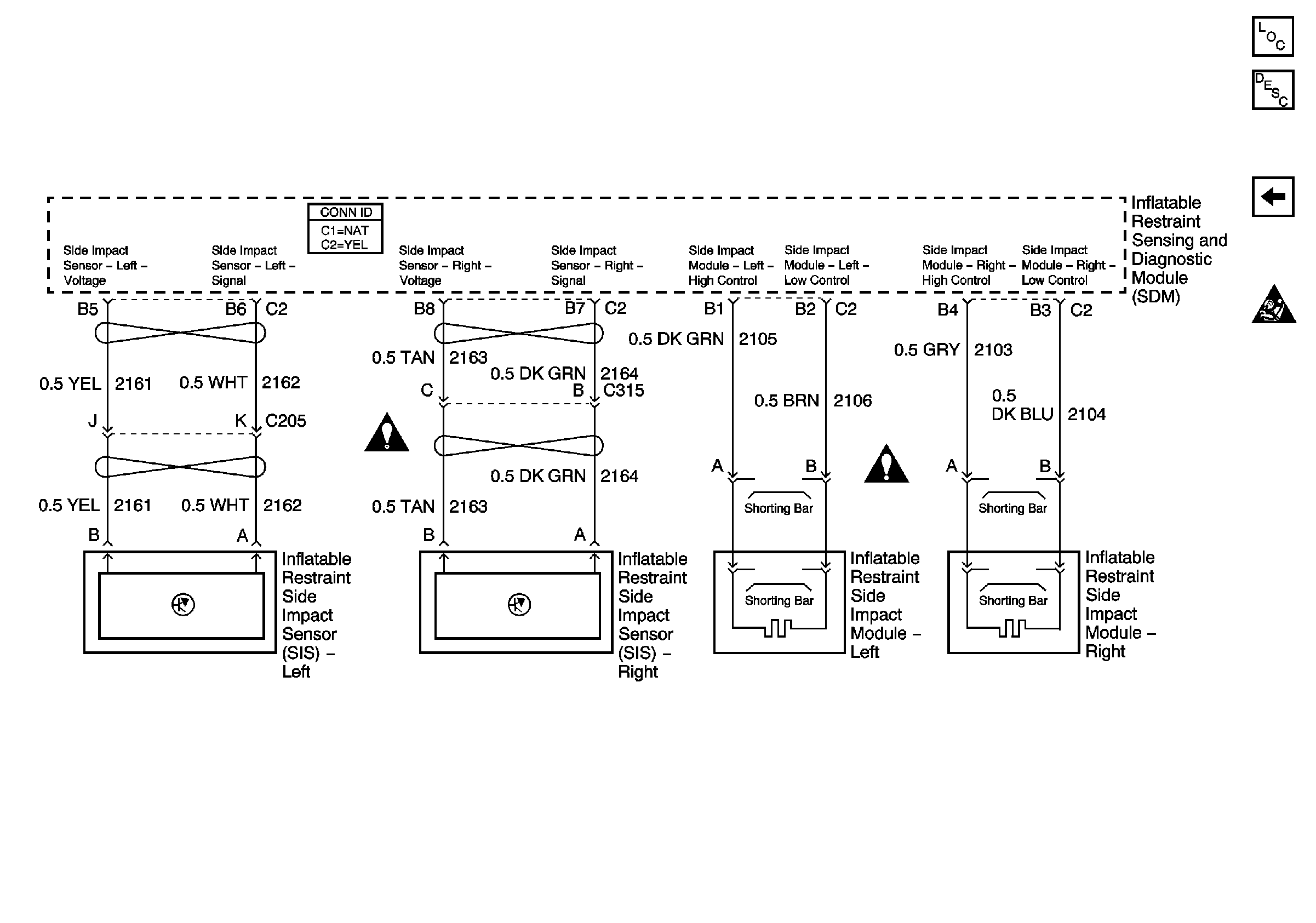
Figure
2:
Side Impact Sensors and Modules
Master Electrical Component List
SIR System Description and Operation
Power, Ground, Steering Wheel Module, IP Module, Discriminating Sensor
SIR Caution
SIR Schematic Icons
SIR Schematic Icons