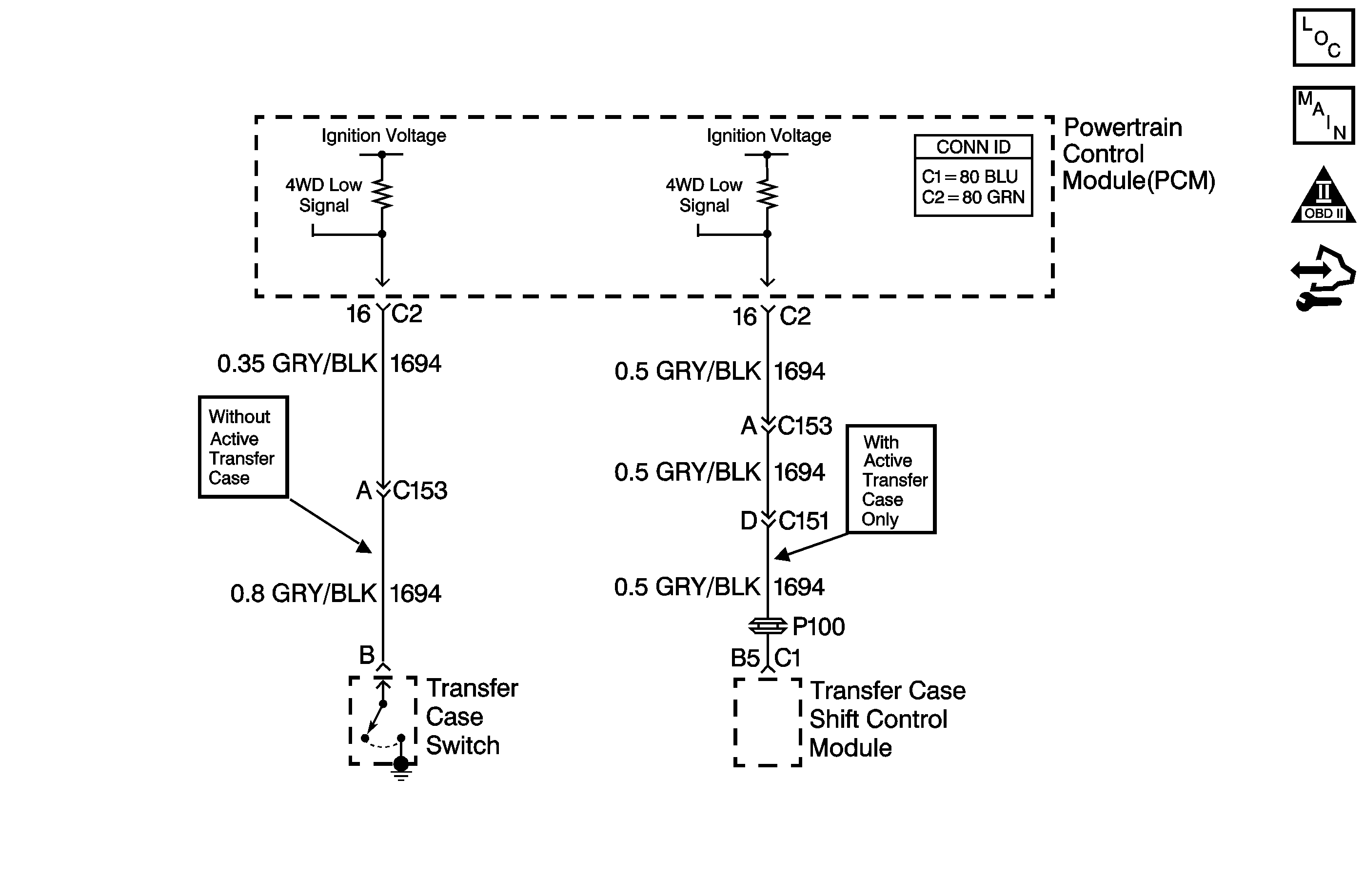
Vehicles equipped with an active transfer case have a four-wheel drive (4WD) low circuit consisting of a powertrain control module (PCM), an active transfer case control module, and the circuit wiring. The active transfer case control module controls the 4WD low signal circuit. When the operator selects 4WD low, the active transfer case control module grounds the low signal circuit, and the 4WD low signal voltage on the circuit changes from ignition voltage to zero volts. The PCM then compensates for transfer case gear reduction in the automatic transmission output shaft speed (AT OSS) signal. The PCM uses the transmission VSS signal to adjust shift points, line pressure and torque converter clutch (TCC) scheduling.
Vehicles not equipped with an active transfer case have a 4WD low circuit consisting of a PCM, transfer case switch and the circuit wiring. The transfer case switch is used to control the 4WD low signal circuit. When the operator moves the 4WD selector lever to 4WD low, the transfer case switch closes, and the 4WD low signal circuit changes from B+ voltage to zero volts. The PCM then compensates for transfer case gear reduction in the AT OSS readings. The PCM uses the transmission VSS signal in order to adjust shift points, line pressure and TCC scheduling.
If the PCM detects a continuous open or short to ground in the 4WD low signal circuit, DTC P2771 sets. DTC P2771 is a type C DTC. For California emissions vehicles DTC P2771 is a type B DTC.
This diagnostic procedure supports the following DTC:
DTC P2771 Four Wheel Drive (4WD) Low Switch Circuit
| • | No MAF DTC P0101, P0102, or P0103. |
| • | No MAP sensor DTC P0106, P0107 or P0108. |
| • | No TP sensor DTC P0120 or P0220. |
| • | No AT VSS DTC P0502 or P0503. |
| • | No AT ISS DTC P0716 or P0717. |
| • | No TCC Stuck OFF DTC P0742. |
| • | No 1-2 SS valve DTC P0751, P0752 or P0753. |
| • | No 2-3 SS valve DTC P0756, P0757 or P0758. |
| • | No TFP manual valve position switch DTC P1810. |
| • | No TCC PWM solenoid DTC P2761. |
| • | The TFP manual valve position switch is D4. |
| • | The TP Sensor is 5-100 percent. |
| • | The TFT is 20-130°C (68-266°F). |
| • | The engine torque must be between 95 N·m (70 lb ft) and: |
| - | 6.0L: 542 N·m (400 lb ft) |
| - | 8.1L: 881 N·m (650 lb ft) |
| • | Vehicle speed is 2 km/h (1 mph) or greater. |
One of the following conditions occur:
| • | The four-wheel drive low circuit is closed, grounded, for greater than 7 seconds with a transfer case ratio of 0.95-1.05:1, for 1 occurrence. |
| • | The four-wheel drive low circuit is open for 2 seconds, with a transfer case ratio of 2.65-2.76:1 in two different commanded gears for 2 occurrences. |
| • | The PCM assumes a 4WD low state if measured transfer case ratio is 2.68-2.76. |
| • | The PCM assumes a non-4WD low state if the measured transfer case ratio is 0.95-1.05. |
| • | The PCM freezes transmission adaptive functions. |
| • | The PCM records the operating conditions when the Conditions for Setting the DTC are met. The PCM stores this information as Freeze Frame, California only, and Failure Records, California and Federal. |
| • | The PCM stores the DTC P2771 in PCM history during the second consecutive trip, California, or the first trip, Federal, in which the Conditions for Setting the DTC are met. |
| • | For California emissions, the PCM turns OFF the MIL during the third consecutive trip in which the diagnostic test runs and passes. |
| • | A scan tool can clear the MIL/DTC. |
| • | For California emissions, the PCM clears the DTC from PCM history if the vehicle completes 40 warm-up cycles without an emission related diagnostic fault occurring. |
| • | For Federal emissions, the PCM clears the DTC from PCM history if the vehicle completes 40 warm-up cycles without a non-emission related diagnostic fault occurring. |
| • | The PCM cancels the DTC default actions when the fault no longer exists and the ignition switch is OFF long enough in order to power down the PCM. |
| • | Low pump pressure and a slipping transmission may cause DTC P2771 to set. |
| • | Transfer case ratio is calculated by dividing the ISS by the OSS. |
The numbers below refer to the step numbers on the diagnostic table.
This step tests for a short to ground in the signal circuit.
This step tests for an open in the signal circuit, a faulty transfer case control module, active transfer case vehicles, or transfer case switch, non-active transfer case vehicles.
Step | Action | Value(s) | Yes | No | ||||||||
|---|---|---|---|---|---|---|---|---|---|---|---|---|
1 | Did you perform the Diagnostic System Check - Vehicle? | -- | Go to Step 2 | Go to Diagnostic System Check - Vehicle in Vehicle DTC Information | ||||||||
2 |
Important: Before clearing the DTCs, use the scan tool in order to record the Freeze Frame and Failure Records. Using the Clear Info Function erases the Freeze Frame and Failure Records from the PCM. Does the 4WD Low on the scan tool display Disabled when 4WD is selected, then Enabled when 4WD Low is selected? | -- | Go to Intermittent Conditions in Engine Controls - 6.0L or Intermittent Conditions in Engine Controls - 8.1L | Go to Step 3 | ||||||||
Does the 4WD Low on the scan tool indicate Enabled? | -- | Go to Step 6 | Go to Step 4 | |||||||||
Does 4WD Low on the scan tool indicate Enabled when the signal circuit is grounded? | -- | Go to Step 5 | Go to Step 7 | |||||||||
5 | Replace the active transfer case control module on the active transfer case vehicles, or the transfer case switch on the non-active transfer case vehicles. Refer to one of the replacement procedures:
Did you complete the replacement? | -- | Go to Step 9 | -- | ||||||||
6 |
Refer to Testing for Short to Ground and Wiring Repairs in Wiring Systems. Did you find and correct the condition? | -- | Go to Step 9 | Go to Step 8 | ||||||||
7 |
Refer to Testing for Continuity and Wiring Repairs in Wiring Systems. Did you find and correct the condition? | -- | Go to Step 9 | Go to Step 8 | ||||||||
8 | Replace the PCM. Refer to Control Module References in Computer/Integrating Systems for replacement, setup, and programming. Did you complete the replacement? | -- | Go to Step 9 | -- | ||||||||
9 | Perform the following procedure in order to verify the repair:
Has the test run and passed? | -- | Go to Step 10 | Go to Step 2 | ||||||||
10 | With the scan tool, observe the stored information, capture info and DTC info. Does the scan tool display any DTCs that you have not diagnosed? | -- | Go to Diagnostic Trouble Code (DTC) List - Vehicle in Vehicle DTC Information | System OK |