GM Service Manual Online
For 1990-2009 cars only
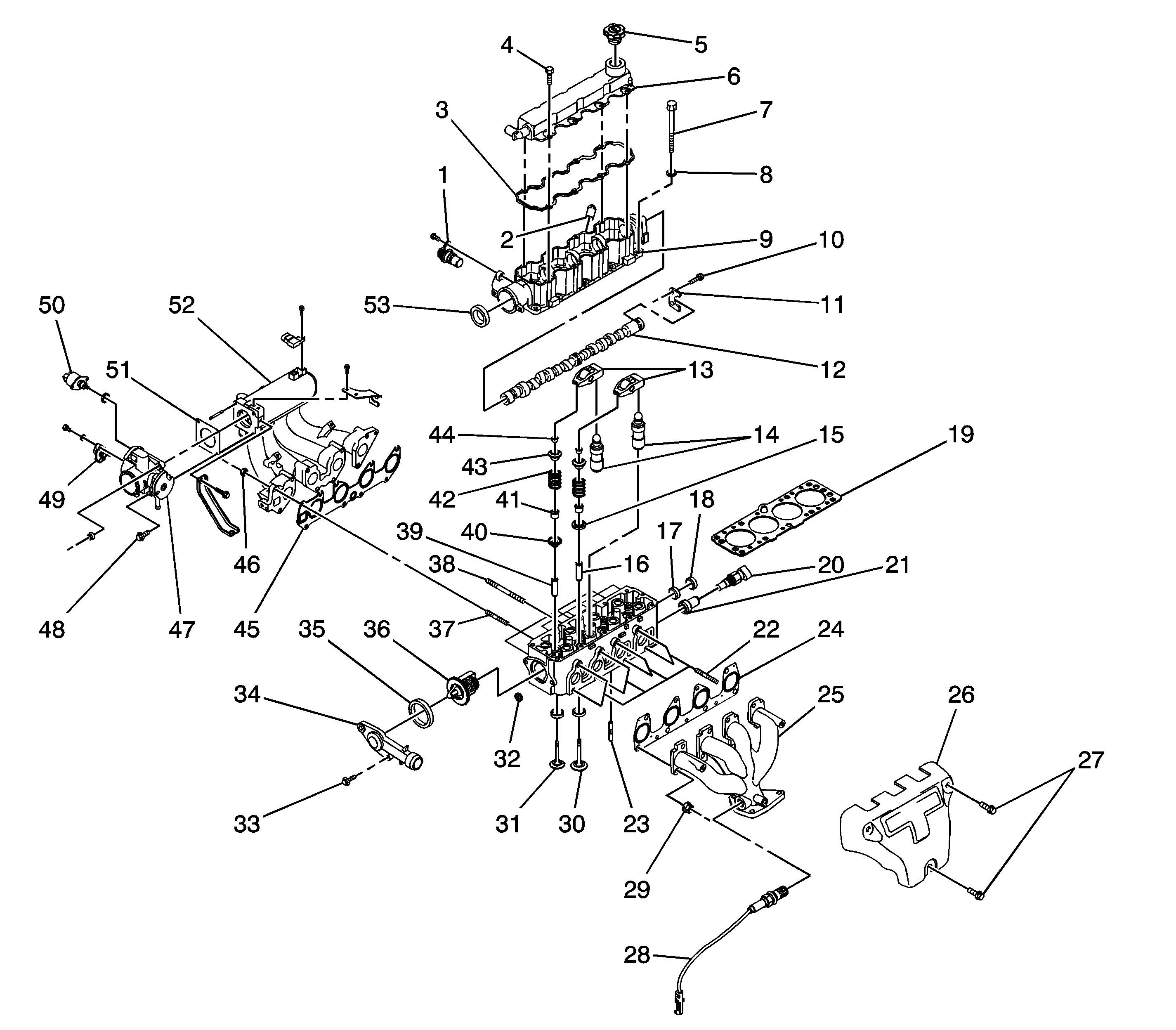
Figure 1:

Upper End


Object Number: 1248513  Size: LF
(1)Camshaft Position Sensor
(2)Tube
(3)Valve Cover Gasket
(4)Bolt
(5)Cap, Bayonet Joint
(6)Valve Cover
(7)Cylinder Head Bolt
(8)Washer
(9)Camshaft Support
(10)Bolt
(11)Camshaft Pressure Plate
(12)Camshaft
(13)Roller Follower
(14)Roller Follower Lifter
(15)Intake Valve Spring Seat
(16)Intake Valve Guide
(17)Oil Duct Cap
(18)Oil Duct Cap
(19)Cylinder Head Gasket
(20)Coolant Temperature Sensor
(21)Adapter
(22)Bolt-Stud
(23)Cylinder Head Oil Duct Sleeve
(24)Exhaust Manifold Gasket
(25)Exhaust Manifold
(26)Exhaust Manifold Heat Shield
(27)Bolt
(28)Exhaust Oxygen Sensor
(29)Nut
(30)Intake Valve
(31)Exhaust Valve
(32)Screw Plug
(33)Bolt
(34)Thermostat Housing
(35)Thermostat Housing Seal Ring
(36)Thermostat
(37)Bolt-Stud
(38)Bolt-Stud
(39)Exhaust Valve Guide
(40)Exhaust Valve Spring Seat
(41)Valve Stem Seal
(42)Valve Spring
(43)Valve Spring Plate
(44)Valve Key
(45)Intake Manifold Gasket
(46)Nut
(47)Throttle Body
(48)Bolt
(49)Throttle Position Sensor
(50)Idle Air Control Valve
(51)Throttle Body Gasket
(52)Intake Manifold
(53)Shaft Seal Ring
Figure 2:

Lower End


Object Number: 1248514  Size: LF
(1)Connecting Rod Bearing Set
(2)Piston Pin
(3)Piston Ring Set
(4)Piston
(5)Connecting Rod
(6)Oil Level Gage Stick
(7)Gage Stick Tube
(8)Oil Filter
(9)Crankshaft Position Sensor
(10)Connecting Piece
(11)Flywheel - Manual Transaxle
(12)Bolt - Manual Transaxle
(13)Bolt
(14)Shaft Seal Ring
(15)Main Bearing
(16)Main Bearing Cap Bolt
(17)Oil Pan
(18)Washer
(19)Drain Plug
(20)Bolt
(21)Crankshaft Bearing - Lower
(22)Crankshaft Bearing - Upper
(23)Oil Pump Body Gasket
(24)Gasket
(25)Cover
(26)Gear
(27)Gear
(28)Bolt Plug
(29)Oil Pump Seal Ring
(30)Spring
(31)Pressure Relief Valve Plunger
(32)Oil Pickup Tube
(33)Bolt
(34)Bracket
(35)Seal
(36)Timing Belt
(37)Upper Timing Belt Front Cover
(38)Bolt
(39)Lower Timing Belt Front Cover
(40)Crankshaft Pulley
(41)Washer
(42)Bolt
(43)Bolt
(44)Crankshaft Gear
(45)Auto Tensioner
(46)Bolt
(47)Camshaft Gear Bolt
(48)Washer
(49)Camshaft Gear
(50)Rear Cover Bolt
(51)Rear Timing Belt Cover
(52)Bolt
(53)Coolant Pump
(54)Seal Ring
(55)Oil Pump
(56)Bolt
(57)Engine Block
(58)Bolt
(59)Knock Sensor
(60)Connecting Rod Bolt