GM Service Manual Online
For 1990-2009 cars only

1st-2nd Gear Shift Shaft Assembly


    Object Number: 1224157  Size: SH
  1. Remove the 1st-2nd gear shift shaft assembly.
  2. Remove the gear unit. Refer to Transmission Disassemble.
  3. Remove each shift shaft assembly from the gear unit.
  4. Fix the shift shaft assembly into a vise with a protector.
  5. Remove the 1st-2nd gear fork pin using a pin punch and a hammer.
  6. Remove the 1st-2nd gear shift fork.

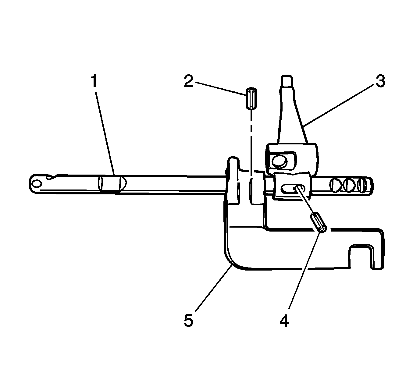
  7. Object Number: 1241246  Size: SH

    Important: Mark the place and direction of the shift fork and yoke before removing them. This will aid the reassembly.

  8. Remove the 1st-2nd gear shift yoke pin using a pin punch and a hammer  (1).
  9. Remove the 1st-2nd gear shift yoke (3).

3rd-4th Gear Shift Shaft Assembly


    Object Number: 1241249  Size: SH
  1. Disassemble the 3rd-4th gear shift shaft assembly.
  2. Remove the gear unit. Refer to Transmission Disassemble.
  3. Remove each shift shaft assembly from the gear unit.
  4. Fix the 3rd-4th gear shift shaft assembly into a vise with a protector.
  5. Remove the 3rd-4th gear fork pin using a pin punch and a hammer.
  6. Remove the 3rd-4th gear fork (4).
  7. Remove the 3rd-4th gear shift yoke pin (1) using a pin punch and a hammer.
  8. Remove the 3rd-4th gear shift yoke (2).

5th Reverse Gear Shift Shaft Assembly


    Object Number: 1241250  Size: SH
  1. Disassemble the 5th reverse gear shift shaft assembly.
  2. Remove the gear unit. Refer to Transmission Disassemble.
  3. Remove each shift shaft assembly from the gear unit.
  4. Remove the shift shaft not installed with yoke by pushing (1).
  5. Remove the 5th reverse gear ball (3) and the reverse shift guide ball and spring (2) from the reverse shift arm.
  6. Fix the shift shaft assembly into a vise with aprotector.

  7. Object Number: 1241252  Size: SH
  8. Remove the reverse gear shift arm pin using a pin punch and a hammer (4).
  9. Remove the reverse gear shift arm (3).
  10. Remove the 5th gear shift yoke pin (2) using a pin punch and a hammer.
  11. Remove the 5th gear shift yoke (5).