GM Service Manual Online
For 1990-2009 cars only

Your vehicle has top strap anchors for the rear seating positions.

Do not secure a child restraint in the right front passenger's position if a national or local law requires that the top strap be anchored, or if the instructions that come with the child restraint say that the top strap must be anchored. There is no place to anchor the top strap in this position.

Sedan


Object Number: 1328324  Size: B3

You will find the three anchors on your sedan behind the rear seat on the filler panel.

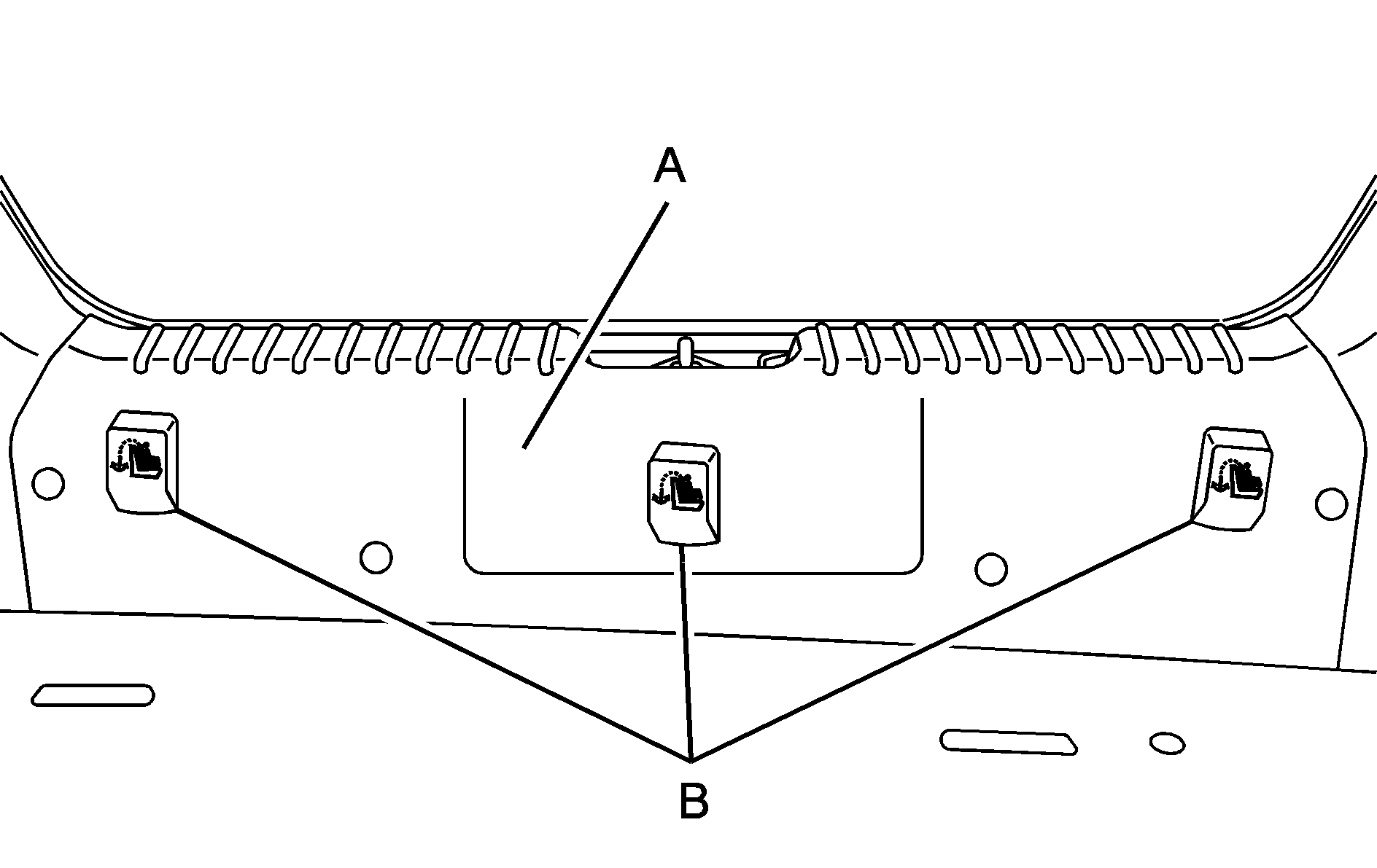
Hatchback


Object Number: 1510343  Size: B3

You will find the three anchors (B) on your hatchback in the rear cargo area, attached to the back wall (A) of the vehicle. Remove the cargo cover before installing the top strap. The cargo cover should remain off while the top strap anchor is in use.

Each top strap anchor is covered by a plastic cover when not in use.


Object Number: 1328508  Size: A1

The plastic cover has a child restraint anchor on it as shown.

Squeeze and pull the front part of the plastic cover in the direction shown by the arrow in order to access the top strap anchors.