GM Service Manual Online
For 1990-2009 cars only
Makes
🢒
Chevrolet
🢒
2004
🢒
Aveo
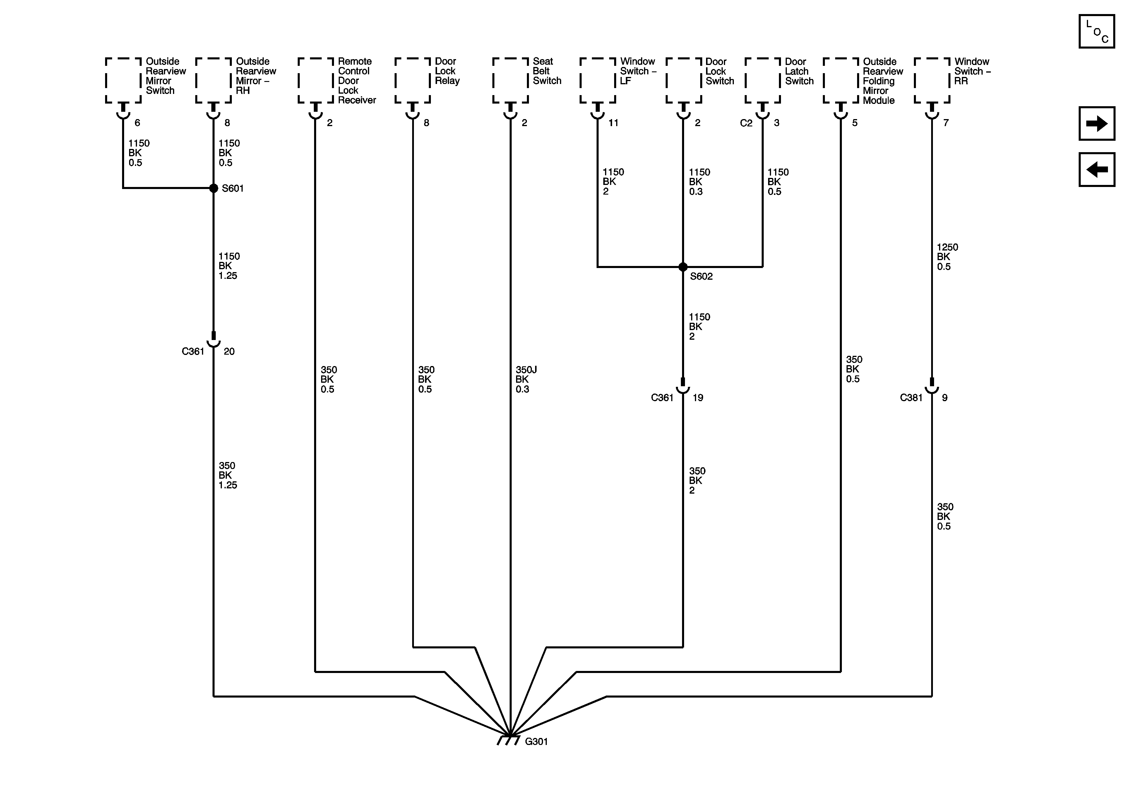
🢒 G301 - RHD Hatchback
G301 - RHD Hatchback
G301 - RHD Hatchback
Master Electrical Component List
G301 - Hatchback, Notchback, LHD
G205