GM Service Manual Online
For 1990-2009 cars only

System Description

The ABS system consists of a conventional hydraulic brake system plus antilock components. The conventional brake system includes a vacuum booster, master cylinder, front disc brakes, rear drum brakes, interconnecting hydraulic brake pipes and hoses, brake fluid level sensor and the BRAKE indicator.

The ABS components include a hydraulic unit, an electronic brake control module (EBCM), 2 system fuses, 4 wheel speed sensors, 1 at each wheel, interconnecting wiring, the ABS indicator, and the rear drum brake, For the general layout of the ABS system, refer to ABS Component Views.

Service Precautions

Caution: Refer to Brake Fluid Irritant Caution in the Preface section.

Caution: Refer to Brake Fluid Caution in the Preface section.

Caution: To help avoid personal injury due to poor braking, DO NOT tap into the vehicle's brake hydraulic system to operate a trailer brake system.

Notice: Refer to Brake Fluid Effects on Paint and Electrical Components Notice in the Preface section.

Notice: Refer to Fastener Notice in the Preface section.

Take care to avoid EBCM circuit overloading. In testing for opens or shorts, do not ground or apply voltage to any circuit unless instructed to do so by the diagnostic procedure. Test circuits only with a high-impedance multimeter. Never remove or apply power to any control module with the ignition switch in the ON position. Always turn the ignition to the OFF position before removing or connecting battery cables, fuses, or connectors.

General Service Precautions

Caution: Refer to ABS Component Handling Caution in the Preface section.

Disconnect the EBCM connector before performing any vehicle welding work using a electric arc welder.

Do not attempt to disassemble any component designated as non-serviceable. The hydraulic modulator and the EBCM can be separated from each other and replaced separately but cannot be serviced. They have no replaceable parts, and there is no access to the components they contain.

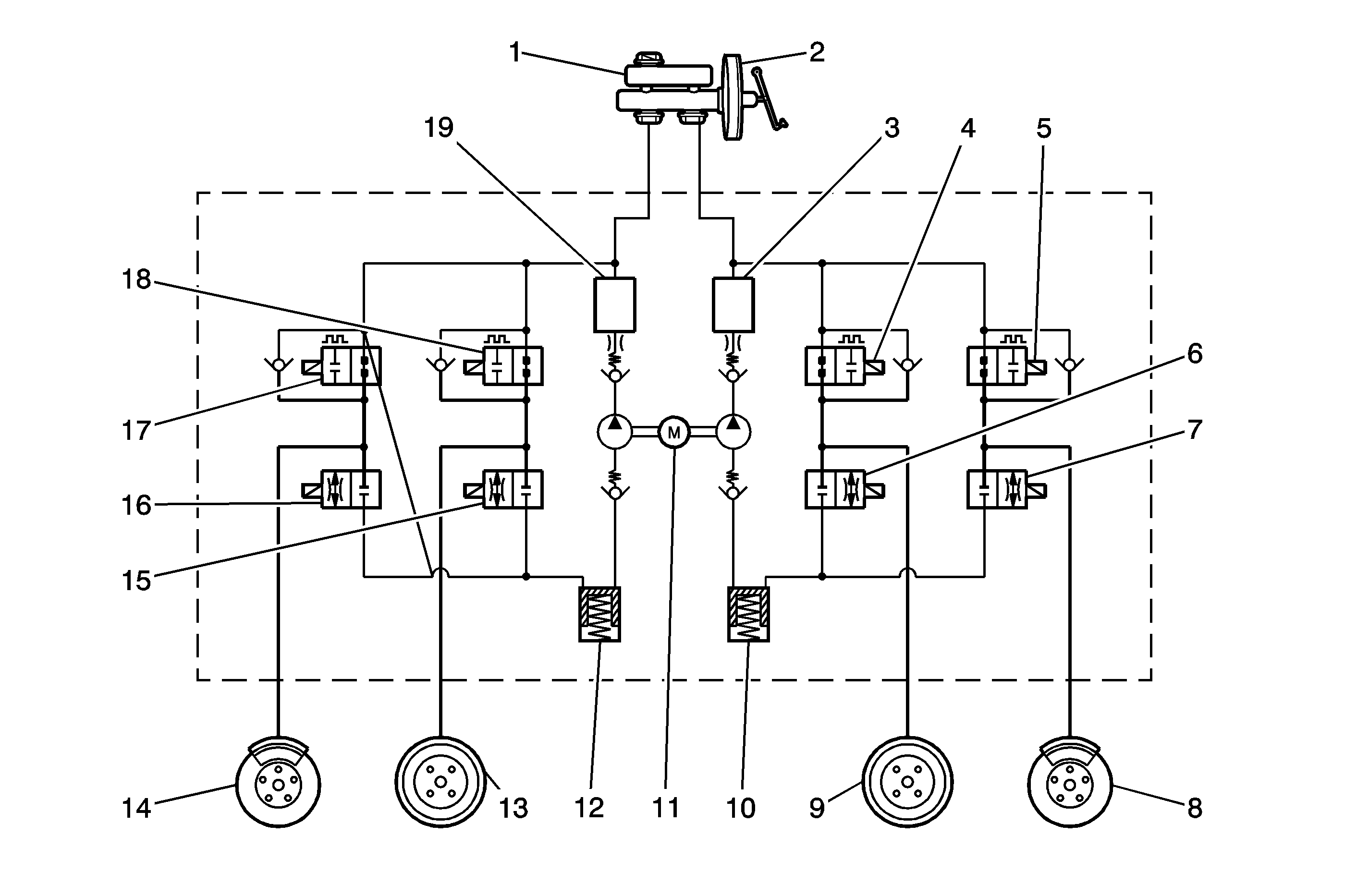
Hydraulic Diagram

Delphi System


Object Number: 1248527  Size: MF
(1)Reservoir
(2)Master Cylinder
(3)Damper
(4)Inlet Valve
(5)Inlet Valve
(6)Outlet Valve
(7)Outlet Valve
(8)Left Front
(9)Right Front
(10)Accumulator
(11)Motor
(12)Accumulator
(13)Pump
(14)Left Rear
(15)Right Front
(16)Outlet Valve
(17)Outlet Valve
(18)Inlet Valve
(19)Inlet Valve
(20)Damper

Mando System


Object Number: 1523985  Size: MF
(1)Reservoir
(2)Master Cylinder
(3)High Pressure Accumulator
(4)Inlet Valve
(5)Inlet Valve
(6)Outlet Valve
(7)Outlet Valve
(8)Left Front
(9)Right Rear
(10)Low Pressure Accumulator
(11)Motor
(12)Low Pressure Accumulator
(13)Left Rear
(14)Right Front
(15)Outlet Valve
(16)Outlet Valve
(17)Inlet Valve
(18)Inlet Valve
(19)High Pressure Accumulator

The purpose of the anti lock brake system (ABS) modulator is to minimize wheel slip during heavy braking. The brake modulator performs this function by monitoring the speed of each wheel and controlling the brake fluid pressure to each wheel independently during a braking event. This allows the driver to retain directional stability and better steering capability.

Basic Knowledge Required

Before using this section, it is important that you have a basic knowledge of the following items. Without this basic knowledge, it will be difficult to use the diagnostic procedures contained in this section.

Basic Electrical Circuits: You should understand the basic theory of electricity and know the meaning of potential (voltage), current (amperes), and resistance (ohms). You should understand what happens in a circuit with an open or shorted wire. You should be able to read and understand a wiring diagram.

Use of Circuit Test Tools:: Your should be familiar with a digital multimeter (DMM), and be familiar with the meter controls and how to use them correctly. You should be able to measure voltage, resistance, and current. You should know how to use the jumper wire to bypass components for testing circuits.

ABS System Components

Caution: Refer to ABS Component Handling Caution in the Preface section.

The ABS brake modulator system consists of a conventional hydraulic brake system plus antilock components. The conventional brake system includes a vacuum booster, master cylinder, front disc brakes, rear drum brakes, rear drum brakes, interconnecting hydraulic brake pipes and hoses, brake fluid level sensor, and the brake warning lamp indicator.

The ABS components include a hydraulic unit, an Electronic Brake Control Module (EBCM), system fuse, 4 wheel speed sensor at each wheel, interconnecting wiring, ABS indicator, The de-coupled dynamic rear proportioning (DDRP) indicator, which is connected to the parking lamp, and the rear drum brakes. See Antilock Brake System Component Views for the general layout of this system.

The hydraulic unit with the attached EBCM is located between the surge tank and the fire wall on the left side of the vehicle.

The basic hydraulic unit configuration consists of the hydraulic check valves, 2 solenoid valves for each wheel, a hydraulic pump, and 2 accumulators. The hydraulic unit controls the hydraulic pressure to the front calipers and the rear wheel cylinders by modulating hydraulic pressure to prevent wheel lockup.

Base Braking Mode

The baseline braking mode of the ABS modulator used in this vehicle is a diagonal split system. In this system, 1 master cylinder circuit supplies pressure to the right front and the left rear brakes. The other circuit supplies pressure to the left front and the right rear brakes. All valves in the hydraulic modulator are in their normal, non-energized positions as shown in the drawings found in the hydraulic diagram.

Delphi System


Object Number: 1248529  Size: LF
(1)Master Cylinder
(2)Orifice
(3)Damper
(4)Positive Displacement Pump
(5)Accumulator
(6)Inlet Valve
(7)Right Rear Drum
(8)Outlet Valve
(9)Outlet Valve
(10)Left Front Caliper
(11)Inlet Valve
(12)Electric Motor
(13)Inlet Valve
(14)Right Front Caliper
(15)Outlet Valve
(16)Outlet Valve
(17)Left Rear Drum
(18)Check Valve
(19)Inlet Valve
(20)Accumulator
(21)Positive Displacement Pump
(22)Damper
(23)Orifice

Mando System


Object Number: 1523985  Size: MF
(1)Reservoir
(2)Master Cylinder
(3)High Pressure Accumulator
(4)Inlet Valve
(5)Inlet Valve
(6)Outlet Valve
(7)Outlet Valve
(8)Left Front
(9)Right Rear
(10)Low Pressure Accumulator
(11)Motor
(12)Low Pressure Accumulator
(13)Left Rear
(14)Right Front
(15)Outlet Valve
(16)Outlet Valve
(17)Inlet Valve
(18)Inlet Valve
(19)High Pressure Accumulator

Antilock Braking Mode - Apply

If during the pressure hold or pressure decrease mode the EBCM senses that the wheel slip has reduced, the EBCM will increase the pressure to the affected wheels by applying master cylinder pressure. The inlet valve is opened and the outlet valve is closed, now base brake master cylinder pressure can be applied to the wheel.

Delphi System


Object Number: 1248530  Size: LF
(1)Master Cylinder
(2)Orifice
(3)Damper
(4)Positive Displacement Pump
(5)Accumulator
(6)Inlet Valve
(7)Right Rear Drum
(8)Outlet Valve
(9)Outlet Valve
(10)Left Front Caliper
(11)Inlet Valve
(12)Electric Motor
(13)Inlet Valve
(14)Right Front Caliper
(15)Outlet Valve
(16)Outlet Valve
(17)Left Rear Drum
(18)Check Valve
(19)Inlet Valve
(20)Accumulator
(21)Positive Displacement Pump
(22)Damper
(23)Orifice

Mando System


Object Number: 1523986  Size: MF
(1)Reservoir
(2)Master Cylinder
(3)High Pressure Accumulator
(4)Inlet Valve
(5)Inlet Valve
(6)Outlet Valve
(7)Outlet Valve
(8)Left Front
(9)Right Rear
(10)Low Pressure Accumulator
(11)Motor
(12)Low Pressure Accumulator
(13)Left Rear
(14)Right Front
(15)Outlet Valve
(16)Outlet Valve
(17)Inlet Valve
(18)Inlet Valve
(19)High Pressure Accumulator

Antilock Braking Mode - Hold

When the EBCM senses the wheel slip, the EBCM closes the inlet valve and keeps the outlet valve closed in the brake pressure modulator valve in order to isolate the system. This holds the pressure steady on the brake so that the hydraulic pressure does not increase or decrease.

Delphi System


Object Number: 1248531  Size: LF
(1)Master Cylinder
(2)Orifice
(3)Damper
(4)Positive Displacement Pump
(5)Accumulator
(6)Inlet Valve
(7)Right Rear Drum
(8)Outlet Valve
(9)Outlet Valve
(10)Left Front Caliper
(11)Inlet Valve
(12)Electric Motor
(13)Inlet Valve
(14)Right Front Caliper
(15)Outlet Valve
(16)Outlet Valve
(17)Left Rear Drum
(18)Check Valve
(19)Inlet Valve
(20)Accumulator
(21)Positive Displacement Pump
(22)Damper
(23)Orifice

Mando System


Object Number: 1523987  Size: MF
(1)Reservoir
(2)Master Cylinder
(3)High Pressure Accumulator
(4)Inlet Valve
(5)Inlet Valve
(6)Outlet Valve
(7)Outlet Valve
(8)Left Front
(9)Right Rear
(10)Low Pressure Accumulator
(11)Motor
(12)Low Pressure Accumulator
(13)Left Rear
(14)Right Front
(15)Outlet Valve
(16)Outlet Valve
(17)Inlet Valve
(18)Inlet Valve
(19)High Pressure Accumulator

Antilock Braking Mode - Release

If during the pressure hold mode the EBCM still senses wheel slip, the EBCM will decrease the pressure to the affected wheels. The inlet valve is left closed and the outlet valve is opened. The excess fluid/pressure is temporarily stored into an accumulator within the brake pressure modulator valve, until the pump can return the fluid to the master cylinder reservoir.

Delphi System


Object Number: 1248532  Size: LF
(1)Master Cylinder
(2)Orifice
(3)Damper
(4)Positive Displacement Pump
(5)Accumulator
(6)Inlet Valve
(7)Right Rear Drum
(8)Outlet Valve
(9)Outlet Valve
(10)Left Front Caliper
(11)Inlet Valve
(12)Electric Motor
(13)Inlet Valve
(14)Right Front Caliper
(15)Outlet Valve
(16)Outlet Valve
(17)Left Rear Drum
(18)Check Valve
(19)Inlet Valve
(20)Accumulator
(21)Positive Displacement Pump
(22)Damper
(23)Orifice

Mando System


Object Number: 1523988  Size: MF
(1)Reservoir
(2)Master Cylinder
(3)High Pressure Accumulator
(4)Inlet Valve
(5)Inlet Valve
(6)Outlet Valve
(7)Outlet Valve
(8)Left Front
(9)Right Rear
(10)Low Pressure Accumulator
(11)Motor
(12)Low Pressure Accumulator
(13)Left Rear
(14)Right Front
(15)Outlet Valve
(16)Outlet Valve
(17)Inlet Valve
(18)Inlet Valve
(19)High Pressure Accumulator

De-Coupled Dynamic Rear Proportioning

De-Coupled Dynamic Rear Proportioning (DDRP) is a proportioning system to maintain vehicle stability during braking. In normal braking conditions, equal wheel speed should be maintained for efficient and balanced braking. In hard braking conditions, a vehicle requires relatively less brake force at the rear wheel due to the vehicle's weight transfer to the front. DDRP maintains desired brake pressure to the rear wheel by using the ABS rear inlet and outlet valve in order to provide efficient braking and vehicle stability. In the DDRP system, power to the rear hold valve solenoid is provided from the ignition. If the following fault conditions are existing, the red brake warning lamp will be illuminated.

    • Two wheel speed sensors inoperative on same axle.
    • Rear inlet solenoid is inoperative.
    • Battery 2, motor input, short to ground.
    • Battery 1, EBCM input, open or short to the ground.
    • Motor ground open or short to battery.
    • EBCM ground open or short to battery.
    • Ignition open or short to ground.

De-Coupled Dynamic Rear Proportioning - Failure Modes

Part

Hypothesized Failure

De-Coupled DDRP

ABS Warning Lamp

Brake Warning Lamp

DDRP Status

Sensor RF

Short or Open

ON

--

Degraded

Sensor LF

Short or Open

ON

--

Degraded

Sensor RR

Short or Open

ON

--

Degraded

Sensor LR

Short or Open

ON

--

Degraded

Two Sensor, Same Axle

Short or Open

ON

ON

Disabled

One Front and One Rear Sensor

Short or Open

ON

--

Degraded

Motor

Short to Ground - LOW Side

ON

--

Degraded

Short to Ground -- HI Side

ON

--

Degraded

Short to Battery - LOW Side

ON

--

Degraded

Short to Battery - HI Side

--

--

None

Motor Circuit Open

ON

--

Degraded

Motor Stalled

ON

--

Degraded

Front Apply Solenoids

Short or Open

ON

--

Degraded

Front Release Solenoids

Short or Open

ON

-

Degraded

Rear Apply Solenoids

Short or Open

ON

--

Degraded

Rear Release Solenoids

Short or Open

ON

ON

Degraded

System Relay

Open - Unable to turn ON

ON

--

Degraded

Shorted ON -- Unable to turn OFF

--

--

None

Battery 2 Motor

Short to Ground

ON

ON

Degraded

Open

--

--

Low Voltage

Ground - Motor

Open or Short to Battery

ON

--

Enabled

Battery 1 - ECU, Solenoids

Open or Short to Ground

ON

ON

Disabled

Ground - ECU, Solenoids

Open or Short to Battery

ON

ON

Disabled

Ignition

Open or Short to Ground

ON

ON

Disabled

Brake Switch

Not Applicable

--

--

--

Serial Communication

Open or Short

ON

ON

Enabled

Electronic Brake Control Module

Caution: Refer to ABS Component Handling Caution in the Preface section.

The EBCM performs the following primary functions in order to provide efficient braking and vehicle stability. In the DDRP system, power to the rear hold valve solenoid is provided from ignition. If the following fault conditions are existing, the red brake warning lamp will be illuminated.

    • Monitor wheel speed sensor inputs.
    • Detect wheel slip tendencies.
    • Control the brake system while in the antilock control mode.
    • Monitor the system for proper electrical operation.

The EBCM continuously checks the speed of each wheel to determine if any wheel is beginning to slip. If any wheel slip tendency is detected, the EBCM commands appropriate valve positions to modulate brake fluid pressure in some or all of the hydraulic circuits to prevent wheel slip and provide optimum braking. The EBCM continues to control pressure in individual circuits until a slipping tendency is no longer present. Also the EBCM continuously monitors the ABS for proper operation. If the EBCM detects an error, it can disable the ABS function and turn ON the ABS warning lamp in the instrument cluster. The EBCM also controls the display of the ABS diagnostic trouble codes (DTCs) while in diagnostic mode.

Solenoid Relay

The solenoid relay provides power to the pump motor and solenoids. The switch in the relay is normally open, but is commanded to close during initialization. The relay switch will remain closed for the remainder of the drive cycle as long as no DTCs set which required the switch to open. If a DTC sets which requires the relay to be commanded OFF, battery voltage will be removed from the pump motor and solenoids for the remainder of the current drive cycle and the ABS cannot function. The relay is an integral part of the EBCM and cannot be serviced separately.

Wheel Speed Sensors and Rings

A wheel speed sensor is present at each wheel. The sensors transmit wheel speed information to the EBCM by means of a small A/C voltage. This voltage is generated by magnetic induction caused by passing a toothed sensor ring past a stationary sensor. The magnitude and frequency of the A/C voltage are proportional to the speed of the wheel and both will increase with increasing speed. The signal is transmitted to the EBCM through interface that can cause false or noisy wheel speed sensor input to the EBCM. Two different types of wheel speed sensors are used for the ABS brake modulator system.

Front Wheel Speed Sensors


Object Number: 1224811  Size: SH

Front wheel speed sensors are installed to the front knuckle.

Rear Wheel Speed Sensors


Object Number: 1224809  Size: SH

Rear wheel speed sensors are installed to the backing plate.

Important: Avoid prying or contacting wheel speed sensor rings. Excessive contact may cause damage to one or more teeth.

Wheel speed sensors are not serviceable. The air cap is not adjusted. The front wheel speed sensor ring is pressed onto the drive axle shaft. Rear wheel speed sensor rings are incorporated into the hub drum. The front ring contains 46 equally spaced teeth, and the rear ring contains 34 equally spaced teeth.

ABS Warning Lamp - Amber

The ABS warning lamp is located in the instrument cluster and will illuminate if a malfunction in the ABS is detected by the EBCM. The ABS warning lamp informs the driver that a condition exists which results in turning OFF the antilock brake function. if only the ABS warning lamp is ON, normal braking with full power assist is available.

Conditions for the ABS warning lamp to turn ON are as follows.

    • ABS malfunction is detected. As previously described, the ABS warning lamp turns on when a problem has been found in the ABS.
    • Instrument panel cluster bulb check. When the ignition is turned to ON, the ABS warning lamp will turn ON for approximately 3 seconds and then turn OFF.

Brake Warning Lamp - Red

The red brake warning lamp in the instrument cluster will illuminate to warn the driver of a condition in the brake system, which may result in reduced braking ability. The lamp will illuminate when the parking brake is applied or not fully released, or if the brake fluid level switch is closed. Closed is when the brake fluid is low in the master cylinder reservoir. When the brake fluid level switch is closed, low condition, a brake warning lamp will stay illuminated until the condition has been repaired. Also some failure modes in the ABS brake modulator system will illuminate the lamp to let the drivers know the De-coupled Dynamic Rear Proportioning (DDRP) is disabled.