|
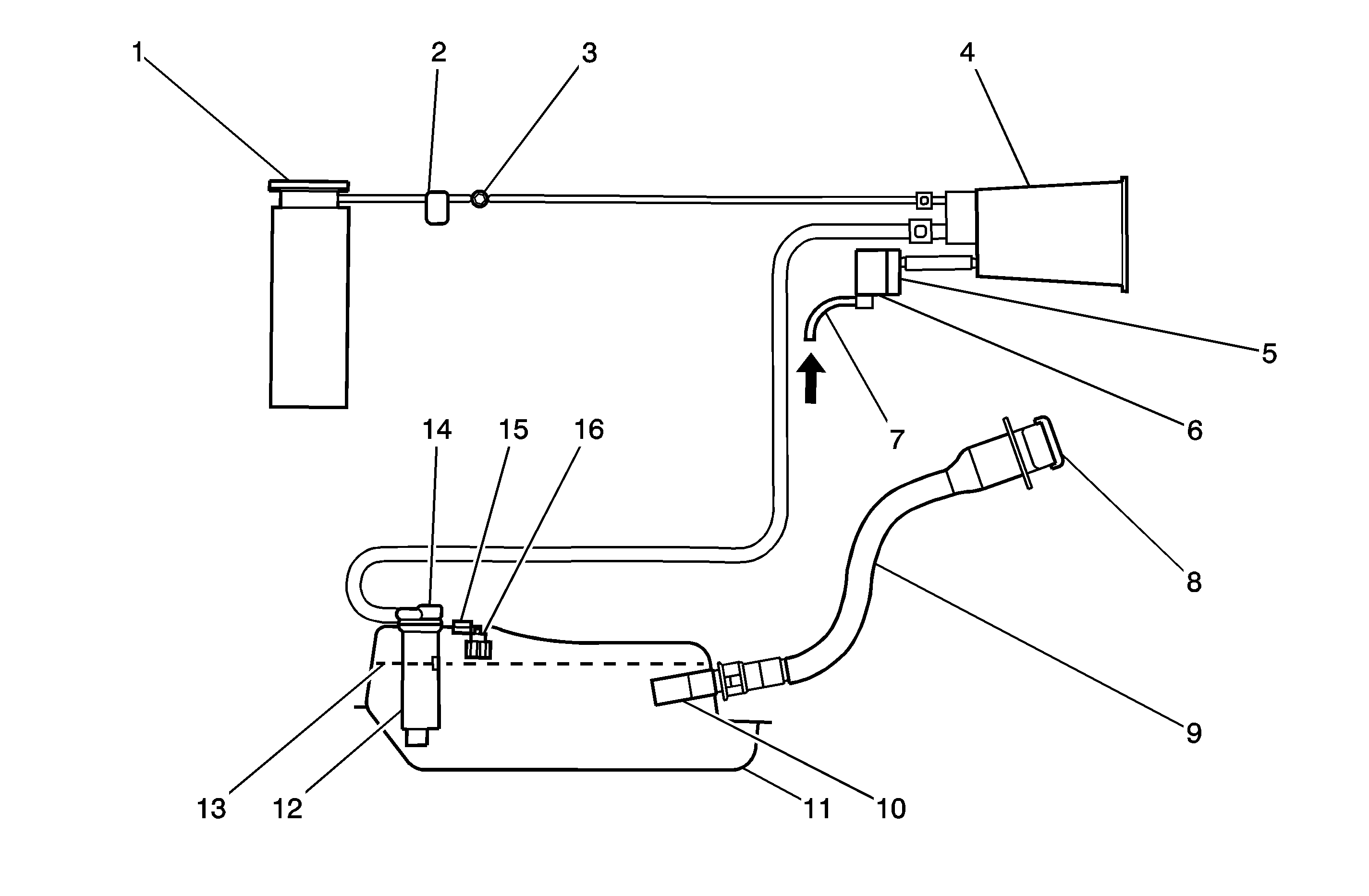
| (1) | Intake Manifold |
| (2) | Evaporative
Emissions (EVAP) Canister Purge Solenoid Valve |
| (3) | Service Port |
| (4) | Evaporative
Emissions (EVAP) Canister |
| (5) | Evaporative
Emissions (EVAP) Canister Vent Solenoid Valve |
| (6) | Air Filter |
| (7) | Fresh Air
Intake |
| (8) | Fuel Filler
Cap |
| (9) | Fuel Filler
Tube |
| (10) | Check
Valve |
| (11) | Fuel Tank |
| (12) | Fuel Fill
Vent Valve |
| (13) | Fuel Level
at Shut-Off |
| (14) | Fuel Pressure
Relief Valve |
| (15) | Fuel Tank
Pressure Sensor |
| (16) | Rollover Valve |