GM Service Manual Online
For 1990-2009 cars only

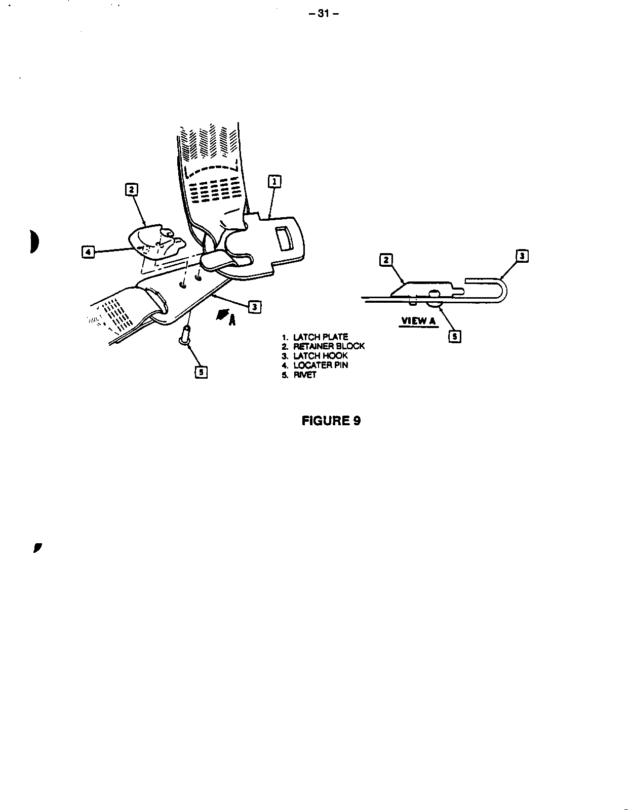
FRT. SHOULDER AND LAP BELT (SERVICE PROCEDURES)

SUBJECT: FRONT SHOULDER BELT AND LAP BELT RETRACTORS AND BELT ASSEMBLY

MODEL/YEAR: 1988-90 CORSICA AND BERETTA

Front lap and shoulder belt retractors on passive belt equipped 1988 - 1990 L Coupe and Sedan series will now be serviced individually rather than as complete lap and shoulder belt/retractor assemblies. To service either the lap belt retractor assembly or the shoulder belt retractor assembly, follow the appropriate procedures:


Object Number: 90944  Size: FS


Object Number: 94047  Size: FS


Object Number: 93310  Size: FS


Object Number: 89728  Size: FS


Object Number: 89976  Size: FS


Object Number: 89727  Size: FS


Object Number: 88100  Size: FS


Object Number: 87661  Size: FS


Object Number: 89350  Size: FS


Object Number: 88607  Size: FS


Object Number: 89117  Size: FS


Object Number: 89349  Size: FS


Object Number: 85890  Size: FS


Object Number: 169630  Size: FS


Object Number: 169631  Size: FS


Object Number: 169632  Size: FS


Object Number: 169633  Size: FS


Object Number: 169634  Size: FS


Object Number: 169635  Size: FS


Object Number: 169636  Size: FS


Object Number: 169637  Size: FS


Object Number: 169638  Size: FS


Object Number: 169639  Size: FS


Object Number: 169640  Size: FS


Object Number: 169641  Size: FS


Object Number: 169642  Size: FS


Object Number: 169643  Size: FS


Object Number: 169644  Size: FS


Object Number: 169645  Size: FS


Object Number: 169646  Size: FS


Object Number: 169647  Size: FS

General Motors bulletins are intended for use by professional technicians, not a "do-it-yourselfer". They are written to inform those technicians of conditions that may occur on some vehicles, or to provide information that could assist in the proper service of a vehicle. Properly trained technicians have the equipment, tools, safety instructions and know-how to do a job properly and safely. If a condition is described, do not assume that the bulletin applies to your vehicle, or that your vehicle will have that condition. See a General Motors dealer servicing your brand of General Motors vehicle for information on whether your vehicle may benefit from the information.