GM Service Manual Online
For 1990-2009 cars only

CAMPAIGN: FRONT SHOULDER BELT RETRACTOR-REDUCED SENSITIVITY

Subject: PRODUCT SAFETY CAMPAIGN 9OC36 - FRONT SHOULDER BELT RETRACTOR

Model and Year: 1988-90 CHEVROLET CORSICA AND BERETTA W/ PASSIVE RESTRAINT SYSTEM -----------------------------------------------------------------------------

To: All Chevrolet Dealers

The National Traffic and Motor Vehicle Safety Act, as amended, provides that each vehicle which is subject to a recall campaign of this type must be adequately repaired within a reasonable time after the owner has tendered it for repair. A failure to repair within sixty (60) days after tender of a vehicle is prima facie evidence of failure to repair within a reasonable time.

If the condition is not adequately repaired within a reasonable time, the owner may be entitled to an identical or reasonably equivalent vehicle at no charge or to a refund of the purchase price less a reasonable allowance for depreciation.

To avoid having to provide these burdensome solutions, every effort must be made to promptly schedule an appointment with each owner and to repair their vehicle as soon as possible. As you will see in reading the attached copy of the letter that is being sent to owners, the owners are being instructed to contact the Chevrolet Customer Assistance Center if their dealer does not remedy the condition within five (5) days of the mutually agreed upon service date. I f the condition is not remedied within a reasonable time, they are instructed on how to contact the National Highway Traffic Safety Administration.

DEFECT INVOLVED

General Motors has determined that a defect which relates to motor vehicle safety exists in certain 1988-90 Chevrolet Corsica and Beretta model vehicles. Some of these vehicles exhibit a condition in which the front shoulder belt retractor may have reduced sensitivity of the lock-up feature. During sudden deceleration, the lock-up feature may not operate properly and the operator and/or front seat passenger may be restrained by only the lap belt. In the event of a vehicle crash or other sudden deceleration, this condition may result in the increased possibility and/or severity of injury to the driver and/or front seat passenger.

To prevent this condition from occurring, dealers are to replace the front shoulder belt retractors and belt assemblies in involved vehicles.

VEHICLES INVOLVED

Involved are certain 1988-90 Chevrolet Corsica and Beretta model vehicles built within the following VIN breakpoints:

PLANT YEAR MODEL PLANT CODE FROM THROUGH ---- ----- ----- ---- ---- ------- 1988 L-Car Linden "E" JE568825 JE677985

1988 L-Car Wilmington "Y" JY573204 JY686334

1989 L-Car Linden "E" KE100001 KE311038

1989 L-Car Wilmington "Y" KY100001 KY300371

1990 L-Car Linden "E" LE100001 LE228156

1990 L-Car Wilmington "Y" LY100001 LY266182

Involved vehicles have been identified by Vehicle Identification Number Computer Listings. Computer listings contain the complete Vehicle Identification Number, owner name and address data, and are furnished to involved dealers with the campaign bulletin. owner name and address data furnished will enable dealers to follow-up with owners involved in this campaign.

These listings may contain owner names and addresses obtained from State Motor Vehicle Registration Records. The use of such motor vehicle registration data for any other purpose is a violation of law in several states. Accordingly, you are urged to limit the use of this listing to the follow-up necessary to complete this campaign. Any dealer not receiving a computer listing with the campaign bulletin has no involved vehicles currently assigned.

OWNER NOTIFICATION

Owners will be notified of this campaign on their vehicles by Chevrolet Motor Division (see copy of owner letter included with this bulletin). Mailing of owner letters will be scheduled as parts become available.

DEALER CAMPAIGN RESPONSIBILITY

Dealers are to service all vehicles subject to this campaign at no charge to owners, regardless of mileage, age of vehicle, or ownership, from this time forward.

Whenever a vehicle subject to this campaign is taken into your new or used vehicle inventory, or it is in your dealership for service in the future, you should take the steps necessary to be sure the campaign correction has been made before reselling or releasing the vehicle.

Owners of vehicles recently sold from your new vehicle inventory are to be contacted by the dealer, and arrangements made to make the required correction according to instructions contained in this bulletin.

PARTS INFORMATION

Parts required to complete this campaign are to be obtained from General Motors Service Parts Operations (GMSPO). To ensure these parts will be obtained as soon as possible, they should be ordered from GMSPO on a "C.I.O." order with no special instruction code, but on an advise code (2).

Quantity/ Part Number Description Vehicle ----------- ----------- ------- 12515769 Kit-Coupe LH & RH Shoulder Belts & Retractors 1 Sapphire - With Comfort Feature

12515770 Kit-Sedan LH & RH Shoulder Belts & Retractors 1 Sapphire - No Comfort Feature

12515771 Kit-Sedan LH & RH Shoulder Belts & Retractors 1 Sapphire - With Comfort Feature

12515772 Kit-Coupe LH & RH Shoulder Belts & Retractors 1 Medium Beachwood - With Comfort Feature

12515773 Kit-Sedan LH & RH Shoulder Belts & Retractors 1 Medium Beachwood - No Comfort Feature

12515774 Kit-Sedan LH & RH Shoulder Belts & Retractors 1 Medium Beachwood - With Comfort Feature

12515775 Kit-Coupe LH & RH Shoulder Belts & Retractors 1 Garnet Red -With Comfort Feature

12515776 Kit-Sedan LH & RH Shoulder Belts & Retractors 1 Garnet Red -No Comfort Feature

12515777 Kit-Sedan LH & RH Shoulder Belts & Retractors 1 Garnet Red -With Comfort Feature

12515778 Kit-Coupe LH & RH Shoulder Belts & Retractors 1 medium Dark Gray - With Comfort Feature

12515779 Kit-Sedan LH & RH Shoulder Belts & Retractors 1 Medium Dark Gray - No Comfort Feature

12515780 Kit-Sedan LH & RH Shoulder Belts & Retractors 1 Medium Dark Gray - With Comfort Feature

12515781 Kit-Coupe LH & RH Shoulder Belts & Retractors 1 Black - With Comfort Feature

12515782 Kit-Sedan LH & RH Shoulder Belts & Retractors 1 Black - With Comfort Feature

SERVICE PROCEDURE

NOTICE: ALL DEALERS ARE BEING SENT AN INSTRUCTIONAL VIDEO TAPE ILLUSTRATING THIS PROCEDURE. BE CERTAIN TO VIEW THIS VIDEO TAPE PRIOR TO PERFORMING THE PROCEDURE BELOW.

BERETTA (COUPE)

1. Place a clean mat or other protective material on floor under area where door will be open and worked on.

2. Lower window to full open position. make sure ignition is in OFF position.

3. For vehicles without power windows, remove window regulator handle (window crank) using tool J-9886 (Figure la, page 9).

NOTICE: Note position of window crank so it may be re-installed in same position.

4. Remove one (1) phillips head screw from door handle escutcheon. Pull out on forward end of escutcheon to disengage long, push-in retainer; then pull escutcheon forward to clear retaining tab on rear of escutcheon (Figure 2, page 9).

5. On vehicles equipped with power door locks, disconnect power door lock connector (Figure 2, page 9).

NOTICE: The following steps describe the procedure to be followed for removal of door trim panel. it is important that proper tools and procedures be used to avoid damage to trim panels.

6. Remove two (2) phillips head screws from locations #1 and #2 (Figure 3a, page 10).

7. Remove two (2) #30 torx head screws from locations #3 and #4 (Figure 3a, page 10).

8. Disengage seven (7) push-in ("Christmas tree") retainers which hold door trim panel to door sheet metal at locations A through G (Figure 3a, page 10) using tool J-24595B. It is very important that the specified tool be used to disengage "Christmas tree" retainers, and that this procedure is performed carefully. Use of improper tools or technique may result in damage to door trim panel.

9. Disengage hook-and-loop (velcro) fastener at location H (Figure 3a, page 10) by carefully pulling door trim panel away from door.

10. After top of door trim panel has been pulled out from under lip at bottom of door glass opening, remove shoulder belt escutcheon from top of trim panel. Door trim panel should now be free of door except for lap belt.

11. Carefully rotate and lower trim panel so front edge of trim panel is resting on protective mat placed on floor in step 1 on page 4 and so panel is leaning against door.

12. Open hinged cover on shoulder belt guide loop located in upper, rear corner of door. Cover opens from top and is hinged on bottom (Figure 4a, page 11).

13. Remove shoulder belt guide loop from door with an 18mm socket and using a screwdriver wrapped in soft, protective covering to prevent guide loop from rotating while loosening nut (Figure 5, page 12).

NOTICE: Save guide loop nut for re-use when installing new shoulder belt retractor assembly.

14. Remove shoulder belt web guide from door by removing one (1) #30 torx screw from front end of guide and disengaging rear tab of guide from door (Figure 6, page 12).

15. Disconnect wire harness from shoulder belt retractor.

16. Open hinged cover to comfort feature cable on shoulder belt retractor (this cover opens from top and is hinged on bottom) and disconnect comfort feature cable from retractor.

17. Carefully cut only shoulder belt webbing from latch plate where illustrated in Figure 7, page 13. It is recommended that scissors or shears be used to reduce risk of damage to lap belt webbing or to latch plate.

NOTICE: It is very important to use extreme care when cutting shoulder belt webbing from latch plate. If lap belt webbing is damaged in any way while cutting shoulder belt webbing, lap belt and retractor assembly will have to be replaced also.

Latch plates on some vehicles may be equipped with a white plastic belt webbing protector. Do not remove or damage this protector.

18. Remove shoulder belt retractor using the following procedure:

A. Remove one (1) phillips head screw at top of retractor.

B. Remove one (1) 15mm nut at bottom of retractor.

C. Remove retractor assembly (retractor, shoulder belt webbing, guide loop assembly from upper rear corner of door, and shoulder belt escutcheon removed from door trim panel will not be reused).

19. Install replacement shoulder belt retractor assembly using the following procedure:

NOTICE: Use care when handling replacement shoulder belt retractor assemblies. Rough and/or careless handling could result in damage to retractor assembly, belt webbing, guide loop, or belt escutcheon.

A. Position retractor assembly over lower mounting stud and align upper attaching screw hole with hole in door.

B. Install one (1) phillips head screw at top of retractor. Tighten to 5 N.m (4 lb. ft.)

C. Install one (1) 15mm nut at bottom of retractor. Tighten to 42 Nm (31 lb. ft.).

20. Apply thread locking compound to threads of guide loop stud bolt. Use Loctite 242 thread locking compound (P/N 12345382) or equivalent.

21. Position guide loop in upper rear corner of door, making certain shoulder belt webbing is flat (not twisted) from retractor assembly up to guide loop. Install one (1) 18mm nut to guide loop and tighten to 23 Nm (17 lb. ft.) with an 18mm socket and using a screw driver wrapped in a soft, protective covering to prevent guide loop from rotating while tightening nut (Figure 5, page 12). Close guide loop plastic cover.

22. Insert tab at rear of shoulder belt web guide into door slot and position guide over belt webbing. Install one (1) #30 torx screw to web guide and tighten to 5 Nm (3.7 lb. ft.). See Figure 6, page 12.

23. Connect wiring harness to new shoulder belt retractor.

24. Open cover of splitter box on new shoulder belt retractor (cover opens from top and is hinged at bottom).

25. Make certain comfort feature cable is properly routed behind shoulder belt retractor sleeve and connect "T" end of cable to comfort mechanism in splitter box. Insert cable barrel into retainer clip in splitter box. Close cover to splitter box.

NOTICE: Proper connection of comfort feature cable must be verified to avoid additional, unnecessary labor later in this procedure.

26. Position door trim panel to begin re-installation to door. Before inserting top edge of trim panel under lip at bottom of door glass opening, install shoulder belt escutcheon to trim panel; then insert door trim panel under lip at bottom of door glass opening. DO NOT apply pressure to seat any push-in ("Christmas tree") retainers at this time. Door trim panel installation will be completed only after proper shoulder belt function is verified. only apply slight pressure at hook-and-loop (velcro) fastener location to temporarily hold panel in position.

27. Check lap belt to ensure it is not twisted inside trim panel by pulling lap belt all the way out and carefully letting it spool back up onto retractor so latch plate is still accessible. Do not allow lap belt and latch plate to be pulled completely inside of trim panel.

28. With door closed, temporarily fasten new shoulder belt (with chrome hook on end of it) to latch plate using the following procedure (Figure 8, page 13):

A. With shoulder belt hanging down flat (no twists) from guide loop at top of door, twist hook at end of shoulder belt 1/2 turn, so rearward edge of hook rotates toward center of vehicle and ends up as front edge.

B. Position hook at end of shoulder belt onto latch plate along with lap belt. Compare twist of shoulder belt with other, up-repaired, side. They should be symmetric (mirror images) to each other.

C. Additionally, check belt assembly for proper twist by sitting in driver/passenger seat and buckling lap/shoulder belt. Hook on end of shoulder belt should be facing up when buckled. An incorrect twist in shoulder belt will be very obvious when seated with belt assembly on and buckled.

D. If there is any question about orientation of new shoulder belt, consult instructional video for clarification.

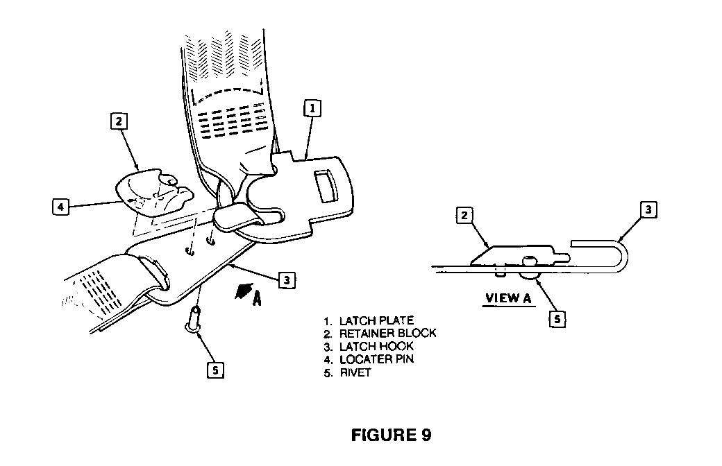
29. When new shoulder belt hook is properly oriented and hooked to latch plate, position retainer block/insert onto shoulder belt hook and secure insert to hook using special pop rivet supplied with kit (Figure 9, page 14).

30. Before completing installation of door trim panel, check function of comfort feature. Sit in vehicle with lap/shoulder belt fastened and door completely closed. Pull three to four inches of additional shoulder belt webbing out from retractor and let it in very slowly.

A. If comfort feature is working, retractor should stop rewinding webbing before belt is snug against occupant, leaving some slack for "comfort". When lap/shoulder belt is unbuckled, the lap belt, but not the shoulder belt, should retract. When door is opened, the shoulder belt should retract.

B. If comfort feature is not working, make certain door is completely closed, and not ajar. If door is completely closed, it will be necessary to remove door trim panel and re-check comfort feature cable connection in splitter box of newly-installed shoulder belt retractor. If comfort feature cable is properly connected, proceed with complete installation of door trim panel; a procedure to install a spacer to repair comfort feature is described in step 40.

31. Position door trim panel to begin re-installing it to door. Before inserting top edge of trim panel under lip at bottom of door glass opening, install shoulder belt escutcheon to trim panel; then insert door trim panel under lip at bottom of door glass opening. After making sure door trim panel is properly aligned to door, apply moderate pressure at hook-and-loop (velcro) fastener location to temporarily hold panel in position. Apply adequate pressure to seat the seven (7) push-in (Christmas tree) retainers.

32. Re-install two (2) phillips head screws to door trim panel at locations shown in Figure 3a, page 10. Tighten to 1.9 Nm (1.4 lb. ft.).

33. Re-install one (1) #30 torx fastener to door trim panel at rear of door latch opening (Figure 3a, page 10) . Tighten to 9.5 Nm (7.0 lb. ft.).

34. Re-install one (1) #30 torx fastener to door trim panel at rear of map pocket (Figure 3a, page 10). Tighten to 9.5 Nm (7.0 lb. ft.).

35. Position door handle escutcheon to door trim panel (Figure 2, page 9).

36. For vehicles equipped with power door locks, re-connect door lock connector to power door lock switch on door handle escutcheon (Figure 2, page 9).

37. Position door handle escutcheon to door trim panel. Properly align door lock rod with door lock slide, and then locate and seat long, push-in retainer on front of escutcheon (Figure 2, page 9) .

38. Install one (1) phillips head screw to door handle escutcheon (Figure 2, page 9). Tighten to 1.9 Nm (1.4 lb. ft.).

39. On vehicles without power windows, re-install window regulator handle (window crank) and door trim insulator, making sure handle is aligned in same position as prior to removal. Install retaining clip using tool J-9886 (Figure la, page 9).

40. If comfort feature failed to work properly after checking for correct cable connection at retractor and making sure door was not ajar, a shim from campaign kit must be installed to body of vehicle at location where comfort release plunger in door contacts the body:

A. Determine exact location where comfort release plunger contacts body of vehicle. There should be a wear mark on the body at this location. If there is no wear mark, apply masking tape to body approximately where plunger makes contact, and coat end of plunger with a marking material such as a grease pencil and shut door. Plunger contact location should then be visible.

B. Drill a 6.30mm (1/4 in) hole in body at plunger contact location. Apply primer and paint to exposed sheet metal, and install a push-in spacer from campaign parts kit using body sealer to prevent moisture intrusion.

41. Repeat check for comfort feature function (step number 30).

42. Repeat above procedure (steps 1 thru 41) for opposite side front shoulder belt retractor assembly.

43. Install Campaign Identification Label.

CORSICA (SEDAN)

1. Place a clean mat or other protective material on floor under area where door will be open and worked on.

2. Lower window to full open position. Make sure ignition is in OFF position.

3. For vehicles without power windows, remove window regulator handle (window crank) using tool J-9886 (Figure la, page 9).

NOTICE: Note position of window crank so it may be re-installed in same position.

4. For vehicles with power windows, use the following procedures to disconnect and remove power window switches from door trim panel:

Driver's Side Door: ------------------- A. Remove switch plate cover by grasping cover at bottom and lifting upward and inward at same time (Figure lb, page 9.)

B. Remove two (2) phillips screws which secure switch to trim panel (Figure lb, page 9).

C. Remove switch by disconnecting it from wire harness connector (Figure lb, page 9).

Passenger's Side Door: ---------------------- Power window switch on passenger side door is not to be removed from door trim panel for this procedure. However, switch must be disconnected from wiring harness connector in order to remove passenger's side door trim panel from vehicle (Figure 1c, page 9).

5. Remove one (1) phillips head screw from door handle escutcheon. Pull out on forward end of escutcheon to disengage long, push-in retainer; then pull escutcheon forward to clear retaining tab on rear of escutcheon (see Figure 2, page 9).

6. On vehicles equipped with power door locks, disconnect power door lock connector (Figure 2, page 9).

NOTICE: The following steps describe procedure to be followed for removal of door trim panel. It is important that proper tools and procedures be used to avoid damage to trim panels.

7. Remove three (3) phillips head screws from locations #1, #2 and #3 (Figure 3b, page 10).

8. Carefully disengage lap belt trim cover from lap belt and remove it from door trim panel. Set aside for re-installation later (Figure 3b, page 10).

9. Remove two (2) phillips head screws from armrest pull cup (locations #4 and #5) and remove cup (Figure 3b, page 10).

10. Disengage six (6) push-in ("Christmas tree") retainers which hold door trim panel to door sheet metal at locations A through F (see Figure 3b, page 10) using tool J-24595B. It is very important that specified tool be used to disengage "Christmas tree" retainers and that this procedure is performed carefully. Use of improper tools or technique may result in damage to door trim panel.

11. Disengage hook-and-loop (velcro) fastener at location H (see Figure 3b, page 10) by carefully pulling door trim panel away from door.

12. After top of door trim panel has been pulled out from under lip at bottom of door glass opening, remove shoulder belt escutcheon from top of trim panel.

13. On passenger 'side door of vehicles with power windows, carefully pull trim panel away from door and disconnect power window switch from wire harness connector. Refer to step #3 above and see Figure 1c, page 9.

14. Door trim panel should now be completely free of door and should be carefully set aside for later re-installation.

15. Open hinged cover on shoulder belt guide loop located in upper, rear corner of door. Cover opens from front and is hinged at rear (Figure 4b, page 11).

16. Remove shoulder belt guide loop from door with an 18mm socket and using a screwdriver wrapped in a soft, protective covering to prevent guide loop from rotating while loosening nut (Figure 5, page 12).

NOTICE: Save guide loop nut for re-use later when installing new shoulder belt retractor assembly.

17. Remove shoulder belt web guide from door by removing one (1) #30 torx screw from front end of guide and disengaging rear tab of guide from door (Figure 6, page 12).

18. Disconnect wire harness from shoulder belt retractor.

19. On those vehicles with comfort feature shoulder belts, open hinged cover to comfort feature cable on shoulder belt retractor (cover opens from top and is hinged on bottom) and disconnect comfort feature cable from retractor.

20. Carefully cut only shoulder belt webbing from latch plate where illustrated in Figure 7, page 13. It is recommended that scissors or shears be used to reduce risk of damage to lap belt webbing or latch plate.

NOTICE: It is very important to use extreme care when cutting shoulder belt webbing from latch plate. If lap belt webbing is damaged in any way while cutting shoulder belt webbing, lap belt and retractor assembly will have to be replaced also.

Latch plates on some vehicles may be equipped with a white plastic belt webbing protector. Do not remove or damage this protector.

21. Remove shoulder belt retractor using the following procedure:

A. Remove one (1) phillips head screw at top of retractor.

B. Using a screwdriver or other appropriate tool, pry back the backing plate retaining tabs.

C. Remove one (1) 15mm nut at bottom of retractor.

D. Loosen, but do not remove, two (2) 15mm nuts from lap belt retractor. The nuts must be loose enough to allow retractor backing plate to tilt out far enough to allow bottom of shoulder belt retractor to clear bottom mounting stud.

E. Remove retractor assembly (retractor, shoulder belt webbing, guide loop assembly from upper rear corner of door, and shoulder belt escutcheon removed from door trim panel will not be reused).

NOTICE: Use care when handling replacement shoulder belt retractor assemblies. Rough and/or careless handling could result in damage to retractor assembly, belt webbing, guide loop, or belt escutcheon.

22. Install new replacement shoulder belt retractor assembly using the following procedure:

A. Position retractor assembly over lower mounting stud, making certain bottom of retractor assembly is under tab on retractor backing plate.

B. Align upper attaching screw hole with hole in retractor backing plate and install one (1) phillips head screw at top of retractor. Tighten to 5 Nm (4 lb. ft.).

C. Push retractor backing plate tabs down over shoulder belt retractor.

D. Install one (1) 15mm nut at bottom of shoulder belt retractor. Tighten to 42 Nm (31 lb. ft.).

E. Tighten two lap belt retractor nuts to 42 Nm (31 lb. ft.).

23. Apply thread locking compound to threads of guide loop stud bolt. Use Loctite 242 thread locking compound (P/N 12345382) or equivalent.

24. Position guide loop in upper rear corner of door, making certain shoulder belt webbing is flat (not twisted) from retractor assembly up to guide loop. Install one (1) 18mm nut to guide loop and tighten to 23 Nm (17 lb. ft.) with an 18mm socket and using a screw driver wrapped in soft, protective covering to prevent guide loop from rotating while tightening nut (Figure 5, page 12). Close guide loop plastic cover.

25. Insert tab at rear of shoulder belt web guide into door slot and position guide over belt webbing. Install one (1) #30 torx screw to web guide and tighten to 5 Nm (3.7 lb. ft.) . See Figure 6, page 12.

26. Connect wiring harness to new shoulder belt retractor.

27. For those vehicles equipped with comfort feature shoulder belts, open cover of splitter box on new shoulder belt retractor (cover opens from top and is hinged at bottom).

28. For those vehicles equipped with comfort feature shoulder belts, make certain comfort feature cable is properly routed and connect "T" end of cable to comfort mechanism in splitter box. Insert cable barrel into retainer clip in splitter box. Close cover to splitter box.

NOTICE: Proper connection of comfort feature cable must be verified to avoid additional, unnecessary labor later in this procedure.

29. With door closed, temporarily fasten new shoulder belt (with chrome hook on end of it) to latch plate using the following procedure (Figure 8, page 13):

A. With shoulder belt hanging down flat (no twists) from guide loop at top of door, twist hook at end of shoulder belt 1/2 turn, so rearward edge of hook rotates toward center of vehicle and ends up as front edge.

B. Position hook at end of shoulder belt onto latch plate along with lap belt. Compare twist of shoulder belt with other, un-repaired, side. They should be symmetric (mirror images) to each other.

C. Additionally, check belt assembly for proper twist by sitting in driver/passenger seat and buckling lap/shoulder belt. Hook on end of shoulder belt should be facing up when buckled. An incorrect twist in shoulder belt will be very obvious when seated with belt assembly on and buckled.

D. If there is any question about orientation of new shoulder belt, consult instructional video for clarification.

30. When new shoulder belt hook is properly oriented and hooked to latch plate, position retainer block/insert onto shoulder belt hook (Figure 9, page 14) and secure insert to hook using special pop rivet supplied with kit.

31. Before installing door trim panel, check function of comfort feature on vehicles so equipped. Sit in vehicle with lap/ shoulder belt fastened and door completely closed. Pull three to four inches of additional shoulder belt webbing out from retractor and let back it in very slowly.

For vehicles equipped with comfort feature belts:

A. If comfort feature is working, retractor should stop rewinding webbing before belt is snug against occupant, leaving some slack for "comfort'. When lap/shoulder belt is unbuckled, the lap belt, but not shoulder belt, should retract. When door is opened, shoulder belt should retract.

B. If comfort feature is not working, make sure door is completely closed, and not ajar. If door is completely closed, it will be necessary to re-check comfort feature cable connection in splitter box on newly-installed shoulder belt retractor. If comfort feature cable is properly connected, proceed with installation of door trim panel; a procedure to install a spacer to repair comfort feature is described in step 45.

32. Position door trim panel to begin re-installing it to door by properly positioning lap belt into opening in trim panel.

33. On driver's side door of vehicles with power windows, position power window switch harness connector so power window switch can be reconnected to harness after trim panel is installed (Figure lb, page 9).

34. For passenger's side door of vehicles with power windows, reconnect power window switch to power window harness connector (Figure 1c, page 9).

35. Before inserting top edge of trim panel under lip at bottom of door glass opening, install shoulder belt escutcheon to trim panel; then insert door trim panel under lip at bottom of door glass opening. After making certain door trim panel is properly aligned to door, apply moderate pressure at hook-and-loop (velcro) fastener location to temporarily hold panel in position. Apply adequate pressure to seat the six (6) push-in (Christmas tree) retainers (Figure 3b, page 10).

36. Re-install lap belt trim cover with one (1) phillips head screw at location #3 (Figure 3b, page 10). Tighten to 1.9 Nm (1.4 lb. ft.).

37. Re-install two (2) phillips head screws to door trim panel at locations #1 and #2 (Figure 3b, page 10) . Tighten to 1. 9 Nm (1.4 lb. ft.).

38. Re-install one (1) #30 torx fastener to door trim panel at rear of door latch opening (Figure 3b, page 10). Tighten to 9.5 Nm (7.0 lb. ft.).

39. Position armrest pull cup and re-install two (2) phillips head screws (Figure 3b, page 10). Tighten to 1.9 Nm (1.4 lb. ft.).

40. For driver's side door of vehicles with power windows, re-connect power window switch to wire harness connector, and re-install switch to trim panel using two (2) phillips head screws. Tighten until secure. Re-install power window switch plate cover (Figure lb, page 9).

41. Position door handle escutcheon to door trim panel.

42. On vehicles equipped with power door locks, re-connect door lock connector to power door lock switch on door handle escutcheon (Figure 2, page 9).

43. Position door handle escutcheon to door trim panel. Properly align door lock rod with door lock slide, and locate and seat long push-in retainer on front of escutcheon (Figure 2, page 9).

44. Install one (1) phillips head screw to door handle escutcheon (Figure 2, page 9). Tighten to 1.9 Nm (1.4 lb. ft.).

45. For vehicles without power windows, re-install window regulator handle (window crank) and door trim insulator, making sure handle is aligned in same position it was in prior to removal. Install retaining clip using tool J-9886 (Figure la, page 9).

46. For those vehicles equipped with comfort feature shoulder belts, if comfort feature failed to work properly after checking for correct cable connection at retractor and making sure door was not ajar, a shim from the campaign kit must be installed to body of vehicle at location where comfort release plunger in door contacts body:

A. Determine exact location where comfort release plunger contacts body of vehicles. There should be a wear mark on body at this location. If there is no wear mark, apply some masking tape to body approximately where plunger makes contact, and coat end of plunger with a marking material (such as a grease pencil) and shut door. Plunger contact location should then be visible.

B. Drill a 6.30mm (1/4 in) hole in body at plunger contact location. Apply primer and paint to exposed sheet metal, and install a push-in spacer from campaign parts kit, using body sealer to prevent moisture intrusion.

47. Repeat check for comfort feature function (step number 31).

48. Repeat above procedure (steps 1 thru 47 above) for opposite side shoulder belt retractor assembly.

49. Install Campaign Identification Label.

CAMPAIGN IDENTIFICATION LABEL

Each vehicle corrected in accordance with the instructions outlined in this Product Campaign Bulletin will require a "Campaign Identification Label". Each label provides a space to include the five (5) digit dealer code of the dealer performing the campaign service. This information may be inserted with a typewriter or a ball point pen.

Each "Campaign Identification Label" is to be located on the radiator core support in an area which will be visible when the vehicle is brought in for periodic servicing by the owner. Additional "Campaign Identification Labels" can be obtained from DAC.

Apply "Campaign Identification Label" only on a clean, dry surface.

CLAIM INFORMATION

Submit a Product Campaign Claim with the information indicated below:

* FAILED PARTS CC-FC LABOR LAB OTH REPAIR PERFORMED PC PART NO. ALLOW OP HRS HRS ---------------- -- --------- ----- ----- ------ --- --- Replace Both Front Seat Shoulder Belt 1 12515769 ** SK-00 V7190 1.1 0.1 Retractors - Coupe

Replace Both Front Seat Shoulder Belt 1 12515771 ** SK-00 V7191 1.4 0.1 Retractors - Sedan

* Campaign Administrative Allowance.

** The "Parts Allowance" should be the sum total of the current GMSPO Dealer Net price plus 30% of all parts required for the repair.

Dealers will automatically receive the correct labor and material allowance based on the labor operation performed.

Refer to the Chevrolet Claims Processing Manual for details on Product Campaign Claim Submission.

(Notification Used By Chevrolet Motor Division)

December, 1991

Dear 1988-90 Chevrolet Corsica/Beretta Owner:

This notice is sent to you in accordance with the requirements of the National Traffic and Motor Vehicle Safety Act.

REASON FOR THIS RECALL

General Motors has determined that a defect which relates to motor vehicle safety exists in certain 1988-90 Chevrolet Corsica/Beretta model vehicles equipped door mounted shoulder and lap safety belt systems (passive restraints). Some of these vehicles exhibit a condition in which the front shoulder belt retractors may have reduced sensitivity of the lock-up feature. During sudden deceleration, the lock-up feature may not operate properly and the operator and/or front seat passenger may be restrained only by a lap belt. In the event of a vehicle crash or other sudden deceleration, this condition may result in the increased possibility and/or severity of injury to the driver and/or front seat passenger.

WHAT WE WILL DO

To prevent the possibility of this condition occurring on your vehicle, your dealer will replace the front seat shoulder belt retractors and belt assemblies. This service will be performed for you at no charge.

WHAT YOU SHOULD DO

Please contact your Chevrolet dealer as soon as possible to arrange a service date and so the dealer may order the necessary parts for the repair. Be sure to tell the dealer the color of your interior so that the dealer can have the correct color belt assemblies when you take your vehicle in for this repair.

Instructions for making this correction have been sent to your dealer and parts are available. The labor time necessary to perform this service correction is approximately (2) hours. Please ask your dealer if you wish to know how much additional time will be needed to schedule and process your vehicle.

Your Chevrolet dealer is best equipped to obtain parts and provide service to ensure that your vehicle is corrected as promptly as possible. If, however, you take your vehicle to your dealer on the agreed service date, and they do not remedy this condition on that date or within five (5) days, we recommend you contact the Chevrolet Customer Assistance Center by calling 1-800-222-1020.

After contacting your dealer and the Customer Assistance Center, if you are still not satisfied that we have done our best to remedy this condition without charge and within a reasonable time, you may wish to write the Administrator, National Highway Traffic Safety Administration, 400 Seventh Street, S.W., Washington, D.C. 20590 or call 1-800-424-9393 (Washington D.C. residents use 366-0123).

The enclosed owner reply card identifies your vehicle. Presentation of this card to your dealer will assist in making the necessary correction in the shortest possible time. If you have sold or traded your vehicle, please let us know by completing the postage paid reply card and returning it to us.

We are sorry to cause you this inconvenience; however, we have taken this action in the interest of your safety and continued satisfaction with our products.


Object Number: 91816  Size: MF


Object Number: 95050  Size: MH


Object Number: 95092  Size: MH


Object Number: 94057  Size: MF


Object Number: 90078  Size: MF


Object Number: 89863  Size: LF


Object Number: 89487  Size: MF


Object Number: 88277  Size: MF


Object Number: 90709  Size: MF


Object Number: 89862  Size: LF


Object Number: 89730  Size: MF


Object Number: 89235  Size: LF


Object Number: 85892  Size: MF

General Motors bulletins are intended for use by professional technicians, not a "do-it-yourselfer". They are written to inform those technicians of conditions that may occur on some vehicles, or to provide information that could assist in the proper service of a vehicle. Properly trained technicians have the equipment, tools, safety instructions and know-how to do a job properly and safely. If a condition is described, do not assume that the bulletin applies to your vehicle, or that your vehicle will have that condition. See a General Motors dealer servicing your brand of General Motors vehicle for information on whether your vehicle may benefit from the information.