GM Service Manual Online
For 1990-2009 cars only

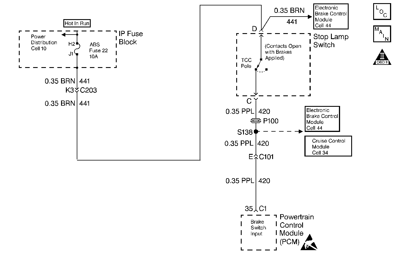
DTC P0724 Brake Switch Circuit High Input 2.2L


Object Number: 201190  Size: MF
Automatic Transmission Components
Automatic Transmission Controls Schematics
OBD II Symbol Description Notice
Handling ESD Sensitive Parts Notice

Circuit Description

The brake switch indicates brake pedal status to the Powertrain Control Module (PCM). The brake switch is a normally-closed switch that supplies battery voltage on circuit 420 to the PCM. Applying the brake pedal opens the switch, interrupting voltage to the PCM. When the brake pedal is released, the PCM receives a constant voltage signal. If the PCM receives a zero voltage signal at the brake switch input, and the Torque Converter Clutch (TCC) is engaged, the PCM de-energizes the Torque Converter Clutch Solenoid Valve (TCC Sol. Valve). The PCM disregards the brake switch input for TCC scheduling if there is a brake switch circuit fault.

When the PCM detects a closed brake switch circuit (12 volts, high input) during decelerations, then DTC P0724 sets. DTC P0724 is a type D DTC.

Conditions for Setting the DTC

    • No VSS Assy. DTCs P0502 or P0503.
    • The PCM detects a closed brake switch circuit (12 volts) without changing for 2 seconds, and the following events occur seven consecutive times:
       - The vehicle speed is greater than 32 km/h (20 mph) for 6 seconds;
       - then the vehicle speed is 8-32 km/h (5-20 mph) for 4 seconds;
       - then the vehicle speed is less than 8 km/h (5 mph).

Action Taken When the DTC Sets

    • The PCM does not illuminate the Malfunction Indicator Lamp (MIL).
    • DTC P0724 stores in PCM history.

Conditions for Clearing the DTC

    • A scan tool can clear the DTC from the PCM history. The PCM clears the DTC from the PCM history if the vehicle completes 40 warm-up cycles without a failure reported.
    • The PCM cancels the DTC default actions when the fault no longer exists and the ignition is OFF long enough in order to power down the PCM.

Diagnostic Aids

    • Inspect the wiring at the PCM, the brake switch connector and all other circuit connecting points for the following conditions:
       - A bent terminal
       - A backed out terminal
       - A damaged terminal
       - Poor terminal tension
       - A chafed wire
       - A broken wire inside the insulation
       - Moisture intrusion
       - Corrosion
    • When diagnosing for an intermittent short or open condition, massage the wiring harness while watching the test equipment for a change.
    • Ask about the customer's driving habits. Ask about unusual driving conditions (e.g. stop and go, expressway, etc.).
    • Inspect the brake switch for proper mounting and adjustment.
    • Inspect for ABS DTCs. A faulty ABS condition may contribute to setting DTC P0724.

Test Description

The numbers below refer to the step numbers on the diagnostic table.

  1. This step isolates the brake switch as a source for setting the DTC.

DTC P0724 Brake Switch Circuit -- High Input (2.2L)

Step

Action

Value(s)

Yes

No

1

Was the Powertrain On-Board Diagnostic (OBD) System Check performed?

--

Go to Step 2

Go to Powertrain On Board Diagnostic (OBD) System Check

2

  1. Install the Scan Tool .
  2. With the engine OFF, turn the ignition switch to the RUN position.
  3. Important: Before clearing the DTC(s), use the scan tool in order to record the Failure Records for reference. Using the Clear Info function will erase the stored Failure Records from the PCM.

  4. Record the DTC Failure Records, then clear the DTC(s).
  5. Select TCC Brake Switch on the scan tool.
  6. Disconnect the brake switch connector from the brake switch.

Does the TCC Brake Switch status change from Closed to Open?

--

Go to Step 3

Go to Step 4

3

Replace the brake switch.

Refer to Stoplamp Switch Replacement.

Is the replacement complete?

--

Go to Step 6

--

4

  1. Inspect circuit 420 (PPL) for a short to B+.
  2. Repair the circuit if necessary.

Refer to General Electrical Diagnosis .

Did you find a short to B+ condition?

--

Go to Step 6

Go to Step 5

5

Replace the PCM.

Refer to Powertrain Control Module Replacement/Programming .

Is the replacement complete?

--

Go to Step 6

--

6

In order to verify your repair, perform the following procedure:

  1. Select DTC.
  2. Select Clear Info.
  3. With the engine OFF, turn the ignition switch to the RUN position.
  4. Apply and release the brake pedal.
  5. Verify that the TCC Brake Switch status indicates Open (0 volts) for 2 seconds.
  6. Select Specific DTC. Enter DTC P0724.

Has the test run and passed?

--

System OK

Go to Step 1

DTC P0724 Brake Switch Circuit High Input 4.3L


Object Number: 201201  Size: MF
Automatic Transmission Components
Automatic Transmission Controls Schematics
OBD II Symbol Description Notice
Handling ESD Sensitive Parts Notice

Circuit Description

The brake switch indicates brake pedal status to the Vehicle Control Module (VCM). The brake switch is a normally-closed switch that supplies battery voltage on circuit 420 to the VCM. Applying the brake pedal opens the switch, interrupting voltage to the VCM. When the brake pedal is released, the VCM receives a constant voltage signal. If the VCM receives a zero voltage signal at the brake switch input, and the Torque Converter Clutch (TCC) is engaged, the VCM de-energizes the Torque Converter Clutch Solenoid Valve (TCC Sol. Valve). The VCM disregards the brake switch input for TCC scheduling if there is a brake switch circuit fault.

When the VCM detects a closed brake switch circuit (12 volts, high input) during decelerations, then DTC P0724 sets. DTC P0724 is a type D DTC.

Conditions for Setting the DTC

    • No VSS Assy. DTCs P0502 or P0503.
    • The VCM detects a closed brake switch circuit (12 volts) without changing for 2 seconds and the following events occur seven consecutive times:
       - The vehicle speed is greater than 32 km/h (20 mph) for 6 seconds;
       - then the vehicle speed is between 8-32 km/h (5-20 mph) for 4 seconds;
       - then the vehicle speed is less than 8 km/h (5 mph).

Action Taken When the DTC Sets

    • The VCM does not illuminate the Malfunction Indicator Lamp (MIL).
    • DTC P0724 stores in VCM history.

Conditions for Clearing the DTC

    • A scan tool can clear the DTC from the VCM history. The VCM clears the DTC from the VCM history if the vehicle completes 40 warm-up cycles without a failure reported.
    • The VCM cancels the DTC default actions when the fault no longer exists and the ignition is OFF long enough in order to power down the VCM.

Diagnostic Aids

    • Inspect the wiring at the VCM, the brake switch connector and all other circuit connecting points for the following conditions:
       - A bent terminal
       - A backed out terminal
       - A damaged terminal
       - Poor terminal tension
       - A chafed wire
       - A broken wire inside the insulation
       - Moisture intrusion
       - Corrosion
    • When diagnosing for an intermittent short or open condition, massage the wiring harness while watching the test equipment for a change.
    • Ask about the customer's driving habits. Ask about unusual driving conditions (e.g. stop and go, expressway, etc.).
    • Inspect the brake switch for proper mounting and adjustment.
    • Inspect for ABS DTCs. A faulty ABS condition may contribute to setting DTC P0724.

Test Description

The numbers below refer to the step numbers on the diagnostic table.

  1. This step isolates the brake switch as a source for setting the DTC.

DTC P0724 Brake Switch Circuit -- High Input (4.3L)

Step

Action

Value(s)

Yes

No

1

Was the Powertrain On-Board Diagnostic (OBD) System Check performed?

--

Go to Step 2

Go to Powertrain On Board Diagnostic (OBD) System Check

2

  1. Install the Scan Tool .
  2. With the engine OFF, turn the ignition switch to the RUN position.
  3. Important: Before clearing the DTC(s), use the scan tool in order to record the Failure Records for reference. Using the Clear Info function will erase the stored Failure Records from the VCM.

  4. Record the DTC Failure Records, then clear the DTC(s).
  5. Select TCC Brake Switch on the scan tool.
  6. Disconnect the brake switch connector from the brake switch.

Did the TCC brake switch status change from Closed to Open?

--

Go to Step 3

Go to Step 4

3

Replace the brake switch.

Refer to Stoplamp Switch Replacement.

Is the replacement complete?

--

Go to Step 6

--

4

  1. Inspect circuit 420 (PPL) for a short to B+.
  2. Repair the circuit if necessary.

Refer to General Electrical Diagnosis Procedures.

Did you find a short to B+ condition?

--

Go to Step 6

Go to Step 5

5

Replace the VCM.

Refer to VCM Replacement/Programming .

Is the replacement complete?

--

Go to Step 6

--

6

In order to verify your repair, perform the following procedure:

  1. Select DTC.
  2. Select Clear Info.
  3. With the engine OFF, turn the ignition switch to the RUN position.
  4. Apply and release the brake pedal.
  5. Verify that the TCC brake switch status indicates Open (0 volts) for 2 seconds.
  6. Select Specific DTC. Enter DTC P0724.

Has the test run and passed?

--

System OK

Go to Step 1