GM Service Manual Online
For 1990-2009 cars only

Exhaust Muffler Replacement 2.2L

Removal Procedure

  1. Raise and suitably support the vehicle. Refer to Lifting and Jacking the Vehicle in General Information.

  2. Object Number: 42946  Size: SH
  3. Remove the catalytic converter to muffler flange nuts.

  4. Object Number: 364938  Size: SH
  5. Disconnect the insulator from the tail pipe hanger.

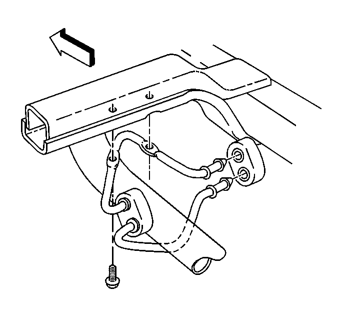
  6. Object Number: 364939  Size: SH
  7. Disconnect the insulator from the muffler and tail pipe hanger.

  8. Object Number: 42946  Size: SH
  9. Remove the muffler and gasket from the vehicle.

Installation Procedure


    Object Number: 42946  Size: SH
  1. Install the muffler and new gasket to the vehicle.

  2. Object Number: 364939  Size: SH
  3. Connect the insulator to the muffler and tail pipe hanger.

  4. Object Number: 364938  Size: SH
  5. Connect the insulator to the tail pipe hanger.

  6. Object Number: 42946  Size: SH

    Notice: Use the correct fastener in the correct location. Replacement fasteners must be the correct part number for that application. Fasteners requiring replacement or fasteners requiring the use of thread locking compound or sealant are identified in the service procedure. Do not use paints, lubricants, or corrosion inhibitors on fasteners or fastener joint surfaces unless specified. These coatings affect fastener torque and joint clamping force and may damage the fastener. Use the correct tightening sequence and specifications when installing fasteners in order to avoid damage to parts and systems.

  7. Install the muffler to catalytic converter flange nuts.
  8. Tighten
    Tighten the muffler to catalytic converter flange nuts to 40 N·m (30 lb ft).

  9. Lower the vehicle.

Exhaust Muffler Replacement 4.3L RWD

Removal Procedure

  1. Raise and suitably support the vehicle. Refer to Lifting and Jacking the Vehicle in General Information.

  2. Object Number: 42948  Size: SH
  3. Remove the catalytic converter to muffler flange nuts.

  4. Object Number: 42968  Size: SH
  5. Disconnect the insulator from the tail pipe hanger.

  6. Object Number: 42957  Size: SH
  7. Disconnect the insulator from the muffler hanger (four door utilities).

  8. Object Number: 42959  Size: SH
  9. Disconnect the insulator from the muffler and tail pipe hanger.

  10. Object Number: 42948  Size: SH
  11. Remove the muffler and gasket from the vehicle.

Installation Procedure


    Object Number: 42948  Size: SH
  1. Install the muffler and new gasket to the vehicle.

  2. Object Number: 42959  Size: SH
  3. Connect the insulator to the muffler and tail pipe hanger.

  4. Object Number: 42957  Size: SH
  5. Connect the insulators to the muffler hanger (four door utilities).

  6. Object Number: 42968  Size: SH
  7. Connect the insulator to the tail pipe hanger.

  8. Object Number: 42948  Size: SH

    Notice: Use the correct fastener in the correct location. Replacement fasteners must be the correct part number for that application. Fasteners requiring replacement or fasteners requiring the use of thread locking compound or sealant are identified in the service procedure. Do not use paints, lubricants, or corrosion inhibitors on fasteners or fastener joint surfaces unless specified. These coatings affect fastener torque and joint clamping force and may damage the fastener. Use the correct tightening sequence and specifications when installing fasteners in order to avoid damage to parts and systems.

  9. Install the muffler to catalytic converter flange nuts.
  10. Tighten
    Tighten the muffler to catalytic converter flange nuts to 40 N·m (30 lb ft).

  11. Lower the vehicle.

Exhaust Muffler Replacement 4.3L 4WD

Removal Procedure

  1. Raise and suitably support the vehicle. Refer to Lifting and Jacking the Vehicle in General Information.

  2. Object Number: 42948  Size: SH
  3. Remove the catalytic converter to muffler flange nuts.

  4. Object Number: 42968  Size: SH
  5. Disconnect the insulator from the tail pipe hanger.

  6. Object Number: 42957  Size: SH
  7. Disconnect the insulators from the muffler hanger (four door utilities).

  8. Object Number: 42960  Size: SH
  9. Disconnect the insulator from the muffler and tail pipe hanger.

  10. Object Number: 42948  Size: SH
  11. Remove the muffler from the vehicle.

Installation Procedure


    Object Number: 42948  Size: SH
  1. Install the muffler and new gasket to the vehicle.

  2. Object Number: 42960  Size: SH
  3. Connect the insulator to the muffler and tail pipe hanger.

  4. Object Number: 42957  Size: SH
  5. Connect the insulators to the muffler hanger (four door utilities).

  6. Object Number: 42968  Size: SH
  7. Connect the insulator to the tail pipe hanger.

  8. Object Number: 42948  Size: SH

    Notice: Use the correct fastener in the correct location. Replacement fasteners must be the correct part number for that application. Fasteners requiring replacement or fasteners requiring the use of thread locking compound or sealant are identified in the service procedure. Do not use paints, lubricants, or corrosion inhibitors on fasteners or fastener joint surfaces unless specified. These coatings affect fastener torque and joint clamping force and may damage the fastener. Use the correct tightening sequence and specifications when installing fasteners in order to avoid damage to parts and systems.

  9. Install the muffler to catalytic converter flange nuts.
  10. Tighten
    Tighten the muffler to catalytic converter flange nuts to 40 N·m (30 lb ft).

  11. Lower the vehicle.