 
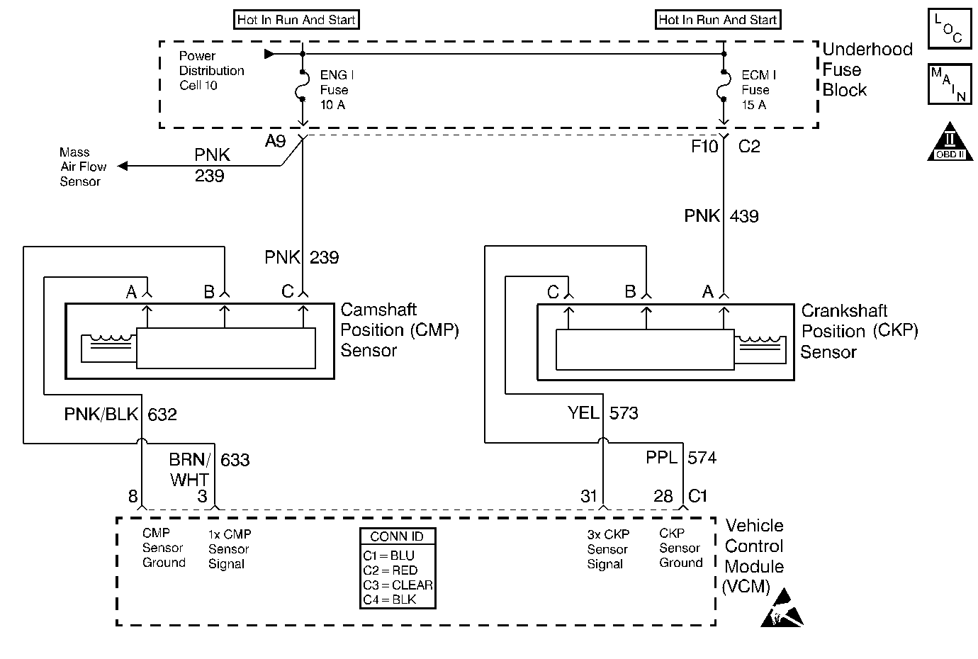
The crankshaft position (CKP) sensor is mounted in the front of the engine behind the harmonic balancer. The CKP sensor works in conjunction with a 3X (4X on V8 applications) reluctor wheel mounted on the front of the crankshaft. The CKP sensor has a B+ power supply, a ground, and a signal circuit.
As the crankshaft rotates, the reluctor wheel teeth interrupt a magnetic field produced by a magnet located in the sensor. The sensors internal circuitry detects this field and produces a frequency which the control module monitors on the signal circuit. The control module uses this signal in order to accurately measure crankshaft velocity, which is important to ignition control spark timing, fuel injector timing, and for misfire detection.
The control module can detect small variations in the CKP sensor and reluctor wheel. These part tolerances must be learned by the control module before an accurate CKP signal can be determined. At high engine speeds, slight variations in the following components make misfire detection difficult:
| • | Crankshaft | 
| • | Reluctor wheel | 
| • | CKP sensor | 
The control module learns variations during the Crankshaft Position System Variation Learning Procedure, and compensates for these variations when performing misfire calculations. Only a scan tool can command the control module to perform the Crankshaft Position System Variation Learning Procedure.
Perform the learning procedure after the following actions:
| • | A control module replacement | 
| • | Any operation or repair involving the crankshaft, the CKP sensor, or the CKP sensor to reluctor wheel gap relationship | 
| • | An engine replacement | 
Important: A control module power disconnect with the ignition ON may erase the stored pulse value and set the DTC P1336.
Disconnecting the control module will not erase the learned crankshaft position system variation as long as the ignition switch is in the OFF position.
Important: Reprogramming the control module does not require running the Crankshaft Position System Variation Learn Procedure unless the module is new or from another vehicle.
If the crankshaft position system variation is not within an acceptable range, or can not be learned, DTC P1336 sets.
The engine is running
The VCM has not learned the crankshaft position system variation.
| • | The control module illuminates the malfunction indicator lamp (MIL) if a failure is detected during 2 consecutive key cycles. | 
| • | The control module sets the DTC and records the operating conditions at the time the diagnostic failed. The failure information is stored in the scan tool Freeze Frame/Failure Records. | 
| • | The control module turns OFF the MIL after 3 consecutive drive trips when the test has run and passed. | 
| • | A history DTC will clear if no fault conditions have been detected for 40 warm-up cycles. A warm-up cycle occurs when the coolant temperature has risen 22°C (40°F) from the startup coolant temperature and the engine coolant reaches a temperature that is more than 70°C (158°F) during the same ignition cycle. | 
| • | Use a scan tool in order to clear the DTCs. | 
Check for the following conditions if the Crankshaft Position System Variation Learn Procedure cannot be learned.
| • | A chipped or damaged reluctor wheel | 
| • | Incorrect alignment of the CKP sensor to the reluctor wheel | 
| • | Excessive crankshaft run-out | 
| • | Interference in the signal circuit to the CKP sensor | 
| • | Incorrect ratio of crankshaft to camshaft pulses | 
| Important: The VCM does not allow the scan tool to enable the learn procedure when an incorrect crankshaft to camshaft ratio is received. | 
The engine misfire diagnostic is disabled when the engine speed is above 1000 RPM and this DTC is active.
When the learn procedure is in progress and the engine speed is at 4000 RPM, a decrease in engine speed will occur. During the engine coastdown, the VCM monitors the CKP sensor signal and stores the pattern. This pattern is used to determine if the crankshaft speed variations are due to an engine misfire.
An intermittent may be caused by any of the following conditions:
| • | A poor connection | 
| • | Rubbed through wire insulation | 
| • | A broken wire inside the insulation | 
Thoroughly check any circuitry that is suspected of causing the intermittent complaint. Refer to Intermittents and Poor Connections Diagnosis in Wiring Systems.
If a repair is necessary, refer to Wiring Repairs or Connector Repairs in Wiring Systems.
The numbers below refer to the step numbers on the diagnostic table.
The VCM enables the learn process after 65°C (150°F) is reached. Engine deceleration occurs when the learn procedure is in progress. The VCM monitors and records the CKP sensor signal during engine coast down conditions.
TEST IN PROGRESS on the scan tool indicates that the VCM is performing the learn procedure. If the VCM receives an incorrect crankshaft to camshaft pulse ratio, an incorrect transmission range signal input, corrupted communication, or no change in the brake switch input, the learn procedure will not be allowed.
If a repair is necessary due to a condition which prevented the learn procedure from enabling, the Crankshaft Position System Variation Learning Procedure must be performed.
The ignition must be in the OFF position for at least 10 seconds after the learn procedure is complete and the engine RPM has returned to idle. The VCM saves the signal data after these conditions are met.
| Step | Action | Value(s) | Yes | No | 
|---|---|---|---|---|
| 1 | Important: Before clearing the DTCs, record the Freeze Frame and the Failure Records for reference with a scan tool. The control module's data is deleted once the Clear Info function is used. Did you perform the Powertrain On-Board Diagnostic (OBD) System Check? | -- | ||
| Perform the Crankshaft Position Variation Learn Procedure. Refer to Crankshaft Position System Variation Learn . Does the scan tool indicate that Crankshaft Position Variation Learn Procedure is completed? | -- | |||
| Attempt the Crankshaft Position Variation Learn Procedure as many times as the specified value. Does the scan tool indicate that Crankshaft Position Variation Learn Procedure is completed? | 3 | |||
| Check the Crankshaft Position (CKP) sensor and the Crankshaft Reluctor Wheel for damage. Refer to Diagnostic Aids Did you find a problem? | -- | Go to Diagnostic Aids | ||
| Turn OFF the ignition for 15 seconds. Is the action complete? | -- | -- | ||
| 6 | Replace the Crankshaft Position (CKP) sensor and/or the Crankshaft Reluctor Wheel. Refer to Crankshaft Position Sensor Replacement or Crankshaft Position Sensor Reluctor Ring Replacement in Engine Mechanical. Is the action complete? | -- | -- | |
| 7 | Perform the CKP System Variation Learn Procedure. Refer to Crankshaft Position System Variation Learn . Is the action complete? | -- | -- | |
| 8 | 
 Does the scan tool indicate that this diagnostic Passed? | -- | ||
| 9 | Does the scan tool display any additional undiagnosed DTCs? | -- | Go to the applicable DTC table | System OK |