GM Service Manual Online
For 1990-2009 cars only

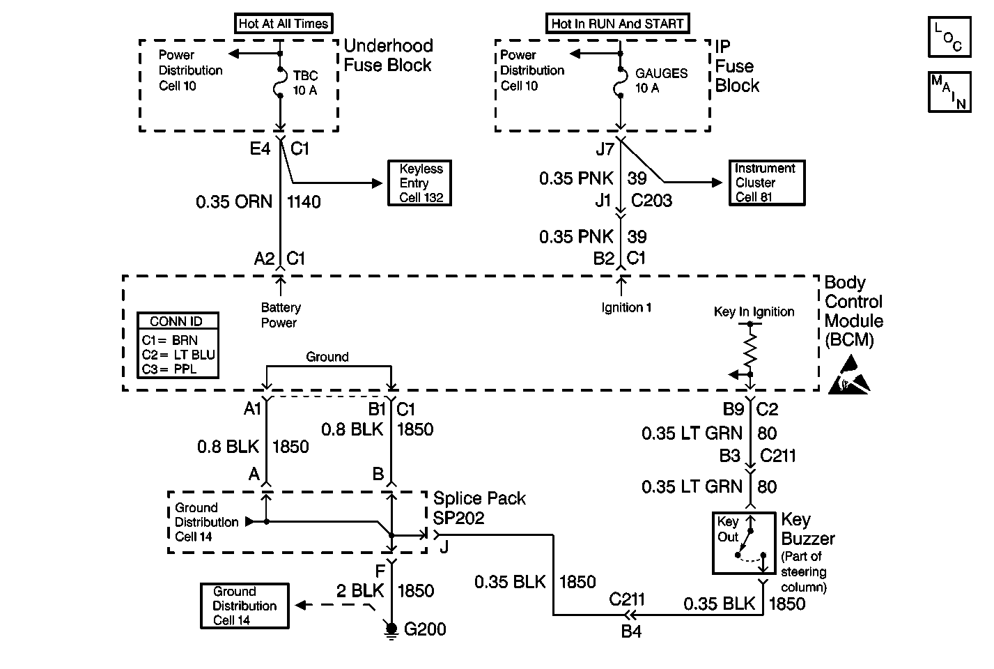
Object Number: 403350  Size: MF
Cell 10: STUD 2, ABS, TBC and RR W/W Fuses
Cell 10: TURN, SIR and GAUGES Fuses
Body Control Module Components
Cell 51: Door Jamb Switches and Ignition Key Alarm Switch
Cell 132
Cell 81: ILLUM, CLSTR and GAUGES Fuses and Instrument Cluster
Body Control System Connector End Views
Handling ESD Sensitive Parts Notice
Cell 14: G200, G201 and G207 (Pickup)
Cell 14: G200, G201 and G207 (Pickup)

Circuit Description

The body control module (BCM) monitors the key-in ignition switch on CKT 80 in order to determine if the ignition key is in the ignition switch. This signal provides an audible warning to the driver that the key is still in the ignition switch and provides exit lighting when the key is removed.

Conditions for Setting the DTC

    • CKT 80 is shorted to battery voltage or CKT 80 is open and the ignition switch is in the RUN position.
    • The Ignition 1 (IGN 1) circuit is shorted to battery voltage and the ignition key is not in the ignition switch.
    • Any of the above conditions may exist.
    • The system voltage is between 9.0-16.0 volts.
    • The above conditions exist for 0.5 seconds.

Action Taken When the DTC Sets

    • The Key-In warning chime will not operate correctly.
    • The exit lighting will not operate correctly.
    • The content theft will not function properly when IGN 1 is shorted to battery voltage.

Conditions for Clearing the MIL/DTC

    • A current DTC will clear after the next ignition cycle that does not contain a fault.
    • A history DTC will clear after 100 consecutive ignition cycles without a fault present.
    • History and current DTCs may be cleared using a scan tool.

Diagnostic Aids

    • Always diagnose the first DTC that is listed on the scan tool.
    • Verify that the scan tool displays DTC B2961 as a current code before you perform diagnostics.
    • If CKT 80 has been shorted to battery voltage, complete the following steps:
       - Inspect the key in ignition switch for damage.
       - Repair the short to battery.
    • Inspect for loose or poor connections at all of the related components.
    • Refer to Intermittents and Poor Connections Diagnosis in Wiring Systems.

Test Description

The numbers below refer to the step numbers on the diagnostic table.

  1. This step determines if the circuit is shorted to battery voltage.

  2. This step determines if the BCM is defective.

  3. This step tests CKT 80 for an open between the BCM and the key-in ignition switch connector.

  4. This step determines if one of the following conditions exists:

  5. • CKT 1850 is open between the key-in ignition switch connector and ground.
    • The key-in ignition switch is open.

Step

Action

Value(s)

Yes

No

1

Did you perform the BCM Diagnostic System Check?

--

Go to Step 2

Go to Diagnostic System Check - Body Control System

2

  1. Disconnect the BCM connector C2 (LT BLU). Remove the comb from the connector.
  2. Turn the ignition switch to the RUN position.
  3. Use a J 39200 digital multimeter (DMM) in order to backprobe between CKT 80 (LT GRN) cavity B9 and ground.

Does the J 39200 DMM display battery voltage?

--

Go to Step 9

Go to Step 3

3

  1. Reconnect the BCM connector C2 (LT BLU).
  2. Use a scan tool in order to monitor the KEY IN IGNITION switch parameter.
  3. Use a fused jumper in order to backprobe between the BCM connector C2 (LT BLU) CKT 80 (LT GRN) cavity B9 and ground.

Does the KEY IN IGNITION parameter display the specified value on the scan tool?

YES

Go to Step 4

Go to Step 10

4

  1. Remove the fused jumper from the BCM connector.
  2. Disconnect the key-in ignition switch (top of the lock cylinder).
  3. Use a J 39200 DMM in order to backprobe between CKT 80 (LT GRN) and ground.

Does the J 39200 DMM display battery voltage?

--

Go to Step 5

Go to Step 8

5

Using a J 39200 DMM, backprobe between CKT 80 (LT GRN) and CKT 1850 (BLK) at the key-in switch connector.

Does the J 39200 DMM display battery voltage?

--

Go to Step 6

Go to Step 7

6

Replace the ignition switch.

Is the repair complete?

--

Go to Step 11

--

7

Locate and repair CKT 1850 (BLK) from the key-in ignition switch to ground.

Is the repair complete?

--

Go to Step 11

--

8

Locate and repair the open in CKT 80 (LT GRN) between the BCM and the key-in ignition switch.

Is the repair complete?

--

Go to Step 11

--

9

  1. Locate and repair the short to battery in CKT 80 (LT GRN) between the BCM and the key-in ignition switch.
  2. Test the key-in ignition switch for possible damage from the short to battery.

Is the repair complete?

--

Go to Step 11

--

10

  1. Replace the BCM.
  2. Program the correct calibrations into the BCM.
  3. Perform the learn procedure.

Is the repair complete?

--

Go to Step 11

--

11

Clear the DTCs.

Is the repair complete?

--

Go to Diagnostic System Check - Body Control System

--