GM Service Manual Online
For 1990-2009 cars only
Figure 1:

Power, Ground and Transfer Case Encoder Motor


Object Number: 669640  Size: FS
Master Electrical Component List
Transfer Case Description and Operation
CRANK Fuse, Front Axle Indicator Switch, and Front Axle Vacuum Solenoid
B+ Bus Bar
Ign ACC, RUN and RAP Bus Bar
ILLUM Fuse, Shift Control Switch and Body Control Module (BCM)
CRANK Fuse, Front Axle Indicator Switch, and Front Axle Vacuum Solenoid
SP201 (4.3L)
G103 and G105 (4.3 L)
G103 and G105 (4.3 L)
w/o Trip Computer
G103 and G105 (4.3 L)
G103 and G105 (4.3 L)
Figure 2:

CRANK Fuse, Front Axle Indicator Switch, and Front Axle Vacuum Solenoid


Object Number: 669645  Size: FS
Master Electrical Component List
Transfer Case Description and Operation
ILLUM Fuse, Shift Control Switch and Body Control Module (BCM)
Power, Ground and Transfer Case Encoder Motor
CRANK and CLSTR Fuses
Manual Transmission Starting
Power, Ground and Transfer Case Encoder Motor
Figure 3:

ILLUM Fuse, Shift Control Switch and Body Control Module (BCM)


Object Number: 669647  Size: FS
Master Electrical Component List
Transfer Case Description and Operation
Transfer Case Encoder Motor and Shift Control Module
CRANK Fuse, Front Axle Indicator Switch, and Front Axle Vacuum Solenoid
ILLUM and PARK LP Fuses
ILLUM Fuse 12
PCM, Data Link Connector (DLC) and Dimming Signal
BCM (Chevy/GMC)
Power, Ground and Transfer Case Encoder Motor
G203 and G204 (Utility w/ Manual A/C)
G203 and G204 (Envoy)
G203 and G204 (Utility w/ Automatic A/C)
Figure 4:

Transfer Case Encoder Motor and Shift Control Module


Object Number: 669650  Size: FS
Master Electrical Component List
Transfer Case Description and Operation
Speed Sensors
ILLUM Fuse, Shift Control Switch and Body Control Module (BCM)
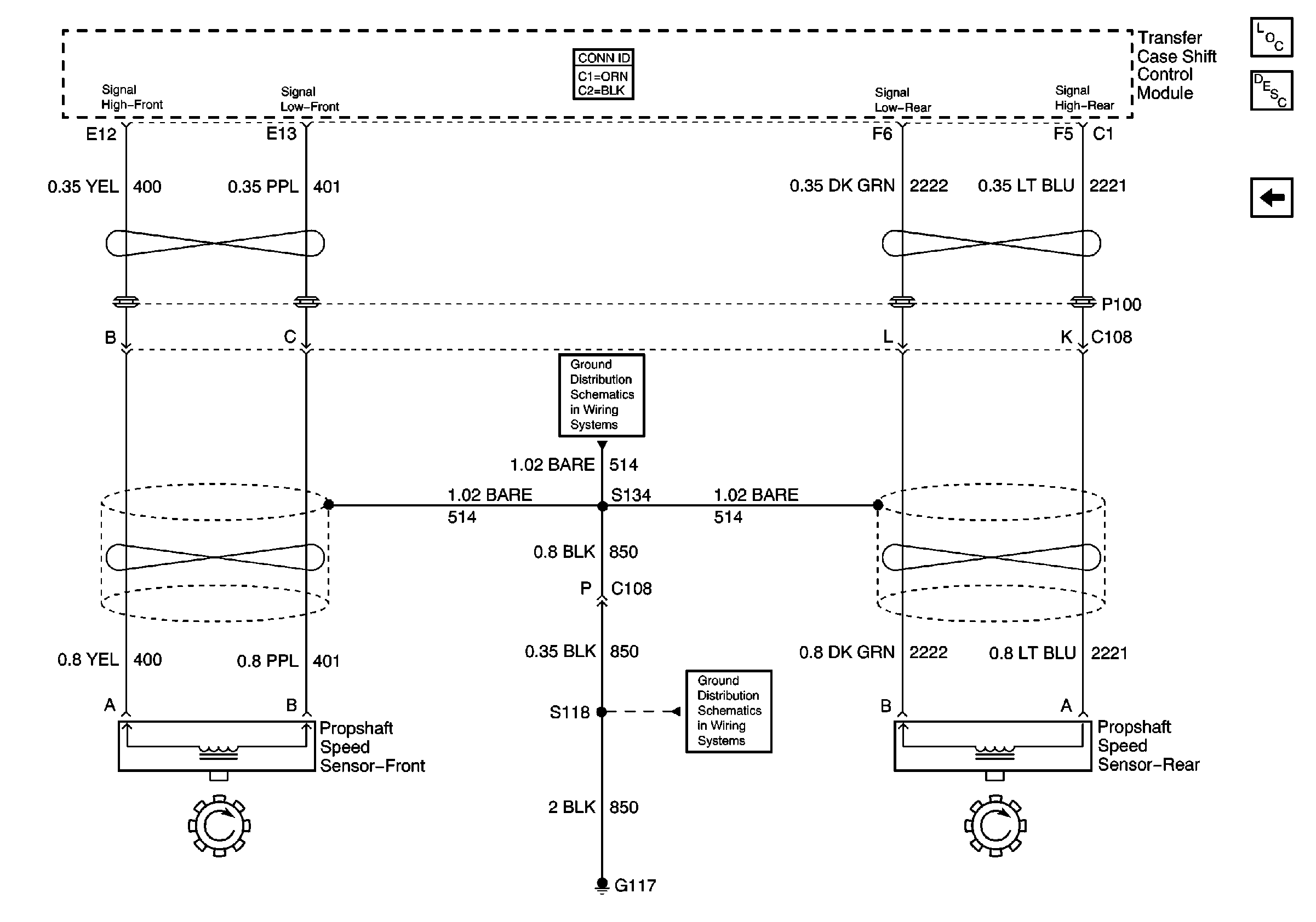
Figure 5:

Speed Sensors


Object Number: 669675  Size: FS
Master Electrical Component List
Transfer Case Description and Operation
Transfer Case Encoder Motor and Shift Control Module
G104 and G117
G104 and G117