GM Service Manual Online
For 1990-2009 cars only
Table 1: Brake Fluid Level Switch
Table 2: Electronic Brake Control Module (EBCM) Connector C1
Table 3: Electronic Brake Control Module (EBCM) Connector C2
Table 4: Wheel Speed Sensor (WSS) - LF
Table 5: Wheel Speed Sensor (WSS) - RF

Brake Fluid Level Switch


Object Number: 518983  Size: CH

Connector Part Information

    • 12162195
    • 2-Way F Metri-Pack 150.2 Series. Sealed (BLK)

Pin

Wire Color

Circuit No.

Function

A

BLK

350

Ground

B

PPL

333

Brake Fluid Level Sensor Signal

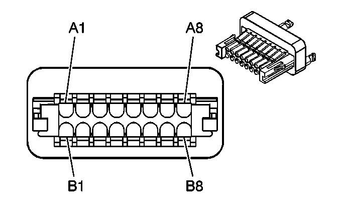
Electronic Brake Control Module (EBCM) Connector C1


Object Number: 365992  Size: CH

Connector Part Information

    • 12193519
    • 16 Way F Micro-Pack 100 W Series (BLK)

Pin

Wire Color

Circuit No.

Function

A1

BRN

441

Ignition 3 Voltage

A2

YEL

873

Left Front Wheel Speed Sensor Low Reference

A3

DK GRN

872

Right Front Wheel Speed Sensor Signal

A4-A7

--

--

Not Used

A8

BLK/WHT

1695

Axle Switch Signal

B1

YEL/BLK

1827

Vehicle Speed Signal

B2

LT BLU

830

Left Front Wheel Speed Sensor Signal

B3

TAN

833

Right Front Wheel Speed Sensor Low Reference

B4

--

--

Not Used

B5

PPL

420

TCC Brake Switch Signal

B6

LT BLU

1122

ABS/TCS Class 2 Serial Data

B7

--

--

Not Used

B8

PPL

333

Brake Fluid Level Sensor Signal

Electronic Brake Control Module (EBCM) Connector C2


Object Number: 365942  Size: CH

Connector Part Information

    • 12052613
    • 2-Way F Metri-Pack 480 Series (BLK)

Pin

Wire Color

Circuit No.

Function

A

BLK

150

Ground

B

RED

442

Battery Positive Voltage

Wheel Speed Sensor (WSS) - LF


Object Number: 333041  Size: CH

Connector Part Information

    • 12052641
    • 2-Way F Metri-Pack 150 Series, Sealed (BLK)

Pin

Wire Color

Circuit No.

Function

A

LT BLU

830

Left Front Wheel Speed Sensor Signal

B

YEL

873

Left Front Wheel Speed Sensor Low Reference

Wheel Speed Sensor (WSS) - RF


Object Number: 333041  Size: CH

Connector Part Information

    • 12052641
    • 2-Way F Metri-Pack 150 Series, Sealed (BLK)

Pin

Wire Color

Circuit No.

Function

A

TAN

833

Right Front Wheel Speed Sensor Low Reference

B

DK GRN

872

Right Front Wheel Speed Sensor Signal