GM Service Manual Online
For 1990-2009 cars only
Makes
🢒
Chevrolet
🢒
2001
🢒
Blazer - 2WD
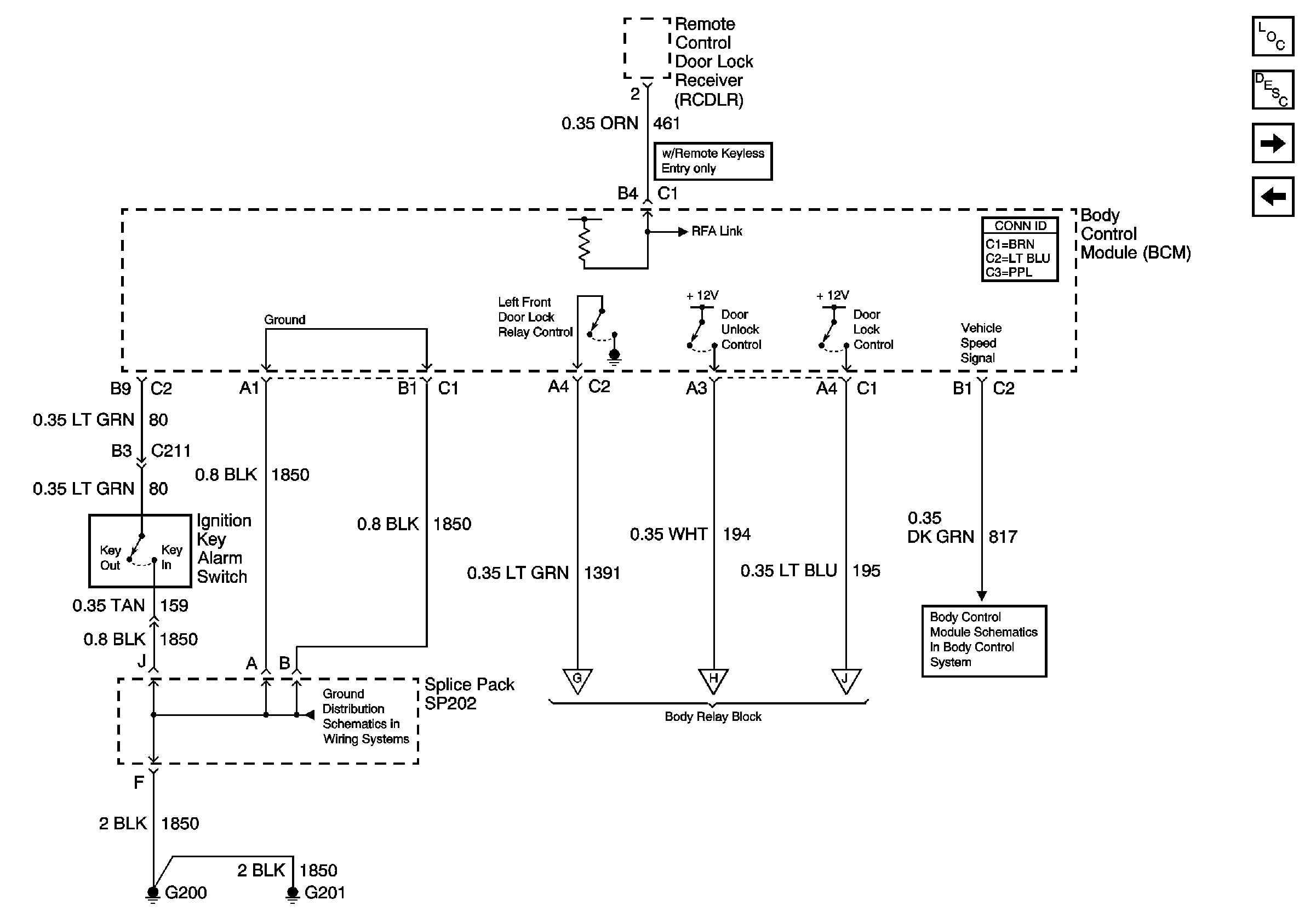
🢒 BCM Inputs and Outputs
BCM Inputs and Outputs
BCM Inputs and Outputs
Master Electrical Component List
Power Door Locks Description and Operation
Relay Control
Liftgate/Endgate Lock Cylinder Switch Inputs (Utility)
Relay Control
Seat Belt Switch, Headlamp Ambient Light Sensor and PCM