GM Service Manual Online
For 1990-2009 cars only
Makes
🢒
Chevrolet
🢒
2002
🢒
Blazer - 2WD
🢒 ILLUM Power (Utility)
ILLUM Power (Utility)
ILLUM Power (Utility)
Master Electrical Component List
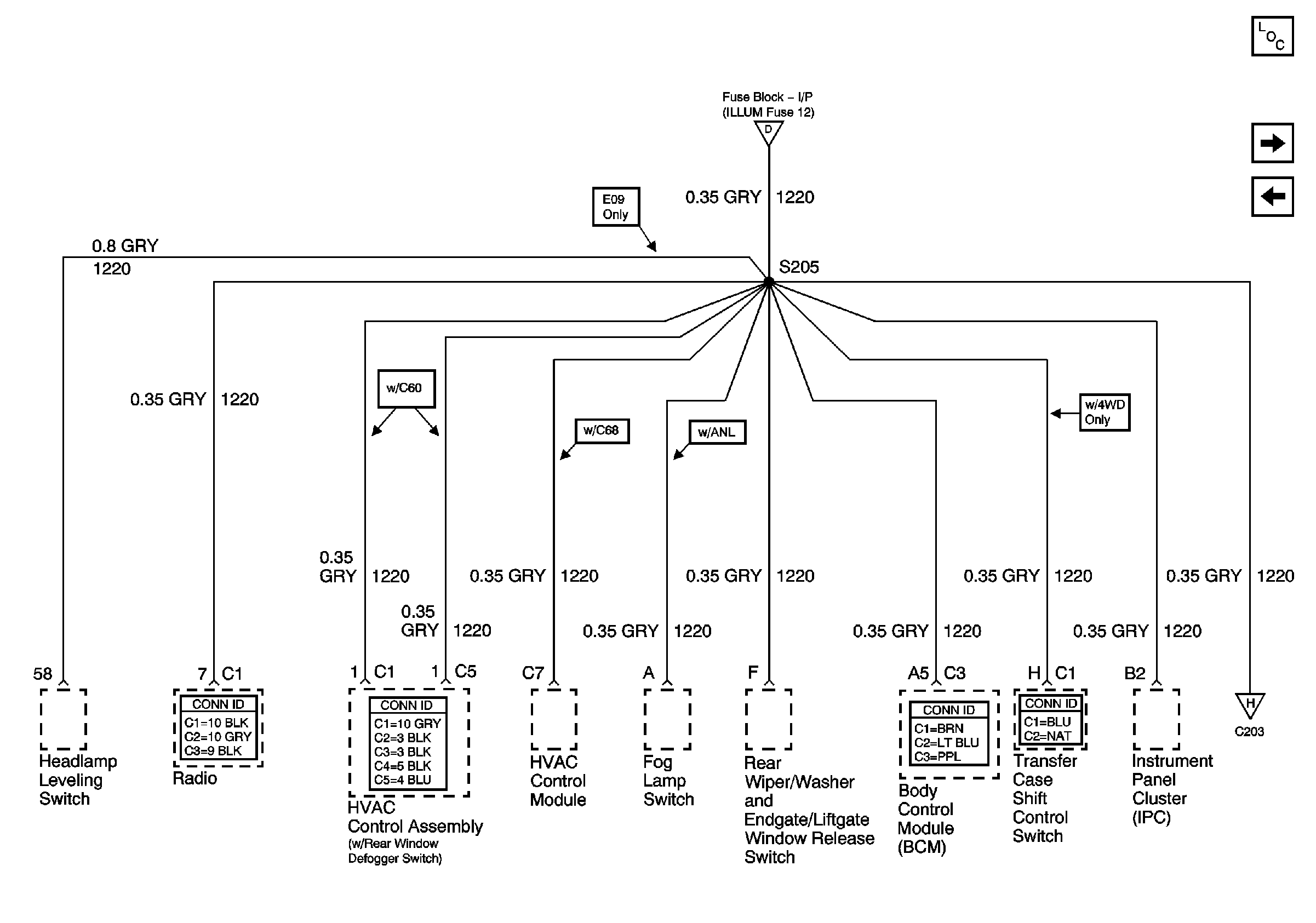
ILLUM Power (2-Door Utility, 4-Door Utility and Crew Cab)
ILLUM Power (Pickup Except Crewcab)
ILLUM and PARK LP Fuses
ILLUM Power (2-Door Utility, 4-Door Utility and Crew Cab)