GM Service Manual Online
For 1990-2009 cars only

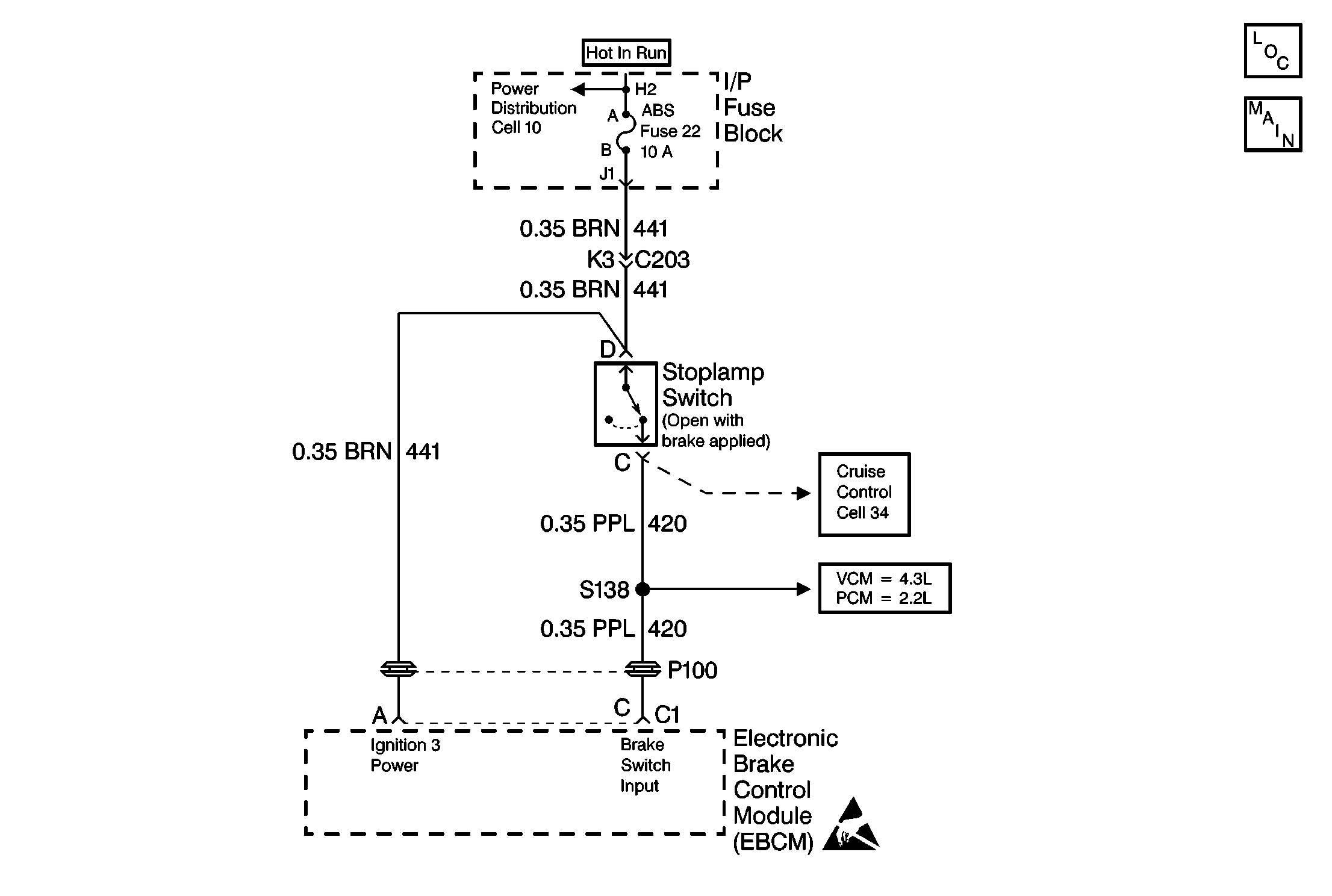
Object Number: 184109  Size: MF
ABS Components
Antilock Brake System Schematics
Power Distribution Schematics
Power Distribution Schematics
Data Link Connector Schematics
Handling ESD Sensitive Parts Notice

Circuit Description

The Stop Lamp Switch is normally closed. With the ignition in the RUN position and the brake pedal not depressed, the EBCM will have ignition voltage present at terminal C of the 10-way connector. When the brakes are applied, the ignition voltage present at the EBCM will be zero. In a normal braking situation, if the EBCM senses wheel slippage without seeing the brake switch input, it will set a DTC C0281. The ABS indicator lamp will come on and the code will be stored as an ignition latched DTC. The EBCM can also sense operating conditions where wheel slippage is occuring without the brakes applied. In this case, the EBCM will attempt to compensate for wheel slippage by initiating an ABS event. When this occurs, the EBCM will sense that there is no brake switch applied. Under these conditions, the EBCM will set a DTC C0281 as an advisory code, which means that the DTC will be stored, however no ABS indicator lamp will light.

Conditions for Setting the DTC

    • The vehicle is above 15 mph
    • The Stop Lamp Switch never switches during the condition above, or
    •  An ABS event initiates without the brake switch is applied.

Action Taken When the DTC Sets

    • Depending upon the conditions, DTC C0281 can be either an ignition latched, or advisory code
    • The ABS indicator lamp will not be illuminated if it is set as an advisory code
    • The ABS will not be disabled

Conditions for Clearing the DTC

    • Repair the conditions responsible for setting the DTC.
    • Use the Scan Tool clear DTCs function.

Diagnostic Aids

DTC C0281 can be set by a faulty Stop Lamp Switch or damage in CKT 420 or CKT 441.

Thoroughly check any circuitry that is suspected of causing the intermittent complaint for the following conditions:

    • Backed out terminals
    • Improper mating
    • Broken locks
    • Improperly formed or damaged terminals
    • Poor terminal to wiring connections
    • Physical damage to the wiring harness

Test Description

The numbers below refer to the steps in the diagnostic table:

  1. Use the scan tool data list display to monitor the brake switch status.

  2. This step will try to simulate an open stoplamp switch by removing the stoplamp switch harness connector.

  3. This step decides between a short to voltage in CKT 420 and a malfunctioning EBCM.

  4. This step eliminates an open in CKT 420 as a possible cause.

  5. Damage or corrosion to the EBCM 10-way harness connector terminals could be the cause for an intermittent DTC to set.

Step

Action

Value(s)

Yes

No

1

Was the Diagnostic System Check performed?

--

Go to Step 2

Go to A Diagnostic System Check

2

  1. Install the Scan Tool .
  2. Turn the ignition to RUN.
  3. Using the Data List function of the scan tool, observe the Brake Switch Status while applying and releasing the brake pedal.

Does the scan tool show the Brake Switch Status changing from ON (brake applied) to OFF (brake released?

--

Go to Step 7

Go to Step 3

3

Does the scan tool indicate that the Brake Switch Status is OFF constantly?

--

Go to Step 4

Go to Step 6

4

  1. Disconnect the stoplamp switch harness connector from the stoplamp switch.
  2. Observe the Brake Switch Status on the scan tool before and after disconnecting the harness connector.

Does the scan tool show the Brake Switch Status changing from OFF (brake released) to ON (brake applied?

--

Go to Step 11

Go to Step 5

5

  1. Turn the ignition to OFF.
  2. Disconnect the 10-way EBCM connector from the EBCM.
  3. Turn the ignition to RUN.
  4. Using a J 39200 , measure the voltage between terminal C of the 10-way EBCM harness connector and ground.

Is the voltage within the specified range?

5-15V

Go to Step 12

Go to Step 14

6

  1. Turn the ignition to OFF.
  2. Disconnect the 10-way EBCM connector from the EBCM.
  3. Disconnect the stoplamp switch harness connector.
  4. Measure the resistance between terminal C of the 10-way EBCM harness connector and terminal C of the stoplamp switch harness connector.

Is the resistance within the specified range?

0-2ohms

Go to Step 15

Go to Step 13

7

Check the Stoplamp Switch connector for damage or corrosion which may affect proper terminal contact.

Is the stoplamp switch damaged or corroded?

--

Go to Step 9

Go to Step 8

8

Reconnect the stoplamp switch connector and observe the Brake Switch Status on the scan tool while applying and releasing the brake pedal.

Does the scan tool show the Brake Switch Status changing from ON (brake applied) to OFF (brake released?

--

Go to Step 10

Go to Step 14

9

Repair or replace damaged or corroded terminals.

Refer to Connector Repairs .

Is the repair complete?

--

Go to A Diagnostic System Check

--

10

Malfunction is intermittent.

  1. Refer to diagnostic aids.
  2. Repair all damage found.

Is the repair compete?

--

Go to A Diagnostic System Check

--

11

Replace the stoplamp switch.

Refer to Stop Lamp Switch Replacement .

Is the repair complete?

--

Go to A Diagnostic System Check

Go to Step 14

12

Repair the short to voltage in CKT 420.

Is the repair complete?

--

Go to A Diagnostic System Check

--

13

Repair the open in CKT 420.

Is the repair complete?

--

Go to A Diagnostic System Check

--

14

Replace the EBCM. Refer to Electronic Brake Control Module Replacement .

Is the repair complete?

--

Go to A Diagnostic System Check

--

15

  1. Turn the ignition to RUN.
  2. Measure the voltage between terminal D of the stoplamp switch harness connector and ground.

Is the voltage within the specified range?

10-15V

Go to Step 11

Go to Step 16

16

Repair the open in CKT 441.

Is the repair complete?

--

Go to A Diagnostic System Check

--