GM Service Manual Online
For 1990-2009 cars only

Inside Air Temperature Sensor Replacement Roof

Removal Procedure

    Caution: Unless directed otherwise, the ignition and start switch must be in the OFF or LOCK position, and all electrical loads must be OFF before servicing any electrical component. Disconnect the negative battery cable to prevent an electrical spark should a tool or equipment come in contact with an exposed electrical terminal. Failure to follow these precautions may result in personal injury and/or damage to the vehicle or its components.

  1. Disconnect the negative battery cable.
  2. Remove the headliner from the vehicle. Refer to Headlining Trim Panel Replacement in Interior Trim.

  3. Object Number: 424287  Size: SH
  4. Disconnect the inside air temperature sensor from the door header panel to gain access to the dome lamp wiring harness connection.
  5. Remove the dome lamp wiring harness connection from the inside air temperature sensor.
  6. Remove the inside air temperature sensor from the vehicle.

Installation Procedure


    Object Number: 424287  Size: SH
  1. Connect the dome lamp wiring harness connection to the inside air temperature sensor.
  2. Install the inside air temperature sensor to the vehicle.
  3. Ensure that the retainers lock into place.

  4. Install the headliner to the vehicle. Refer to Headlining Trim Panel Replacement in Interior Trim.
  5. Install the negative battery cable.

Inside Air Temperature Sensor Replacement Floor

Removal Procedure

  1. Remove the passenger-side closeout panel. Refer to Instrument Panel Carrier Replacement in Instrument Panel Gauges and Console.

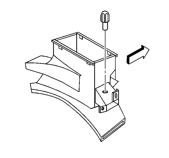
  2. Object Number: 441681  Size: SH
  3. Remove the inside air temperature sensor and wiring harness assembly from the floor air outlet.
  4. Disconnect the wiring harness from the inside air temperature sensor.

Installation Procedure


    Object Number: 441681  Size: SH
  1. Connect the inside air temperature sensor to the wiring harness.
  2. Install the inside temperature sensor and wiring harness assembly to the floor air outlet.
  3. Install the passenger-side closeout panel. Refer to Instrument Panel Carrier Replacement in Instrument Panel Gauges and Console.

Inside Air Temperature Sensor Replacement Vent

Removal Procedure

  1. Remove instrument panel accessory trim plate. Refer to Instrument Panel Accessory Trim Plate Replacement in Instrument Panel, Gauges, and Console.
  2. Remove the radio. Refer to Radio Replacement in Entertainment.

  3. Object Number: 441682  Size: SH
  4. Disconnect the electrical connector from the inside air temperature sensor.
  5. Remove the inside air temperature sensor from the vehicle.

Installation Procedure


    Object Number: 441682  Size: SH
  1. Install the inside air temperature sensor to the vehicle.
  2. Connect the electrical connector to the inside air temperature sensor.
  3. Install the radio. Refer to Radio Replacement in Entertainment.
  4. Install the instrument panel accessory trim plate. Refer to Instrument Panel Accessory Trim Plate Replacement in Instrument Panel, Gauges, and Console.