GM Service Manual Online
For 1990-2009 cars only

Removal Procedure

Air Ventilation is supplied through a grille panel and an HVAC module. The grille panel is located in the cowl area. Air passes through the body and exits through the pressure relief valve. The pressure relief valve is located in the rear of the vehicle. Refer to Pressure Relief Valve Replacement in Body Rear End.

  1. Remove the wiper arm assemblies. Refer to Wiper Arm Assembly Replacement in Windshield Wiper/Washer System.

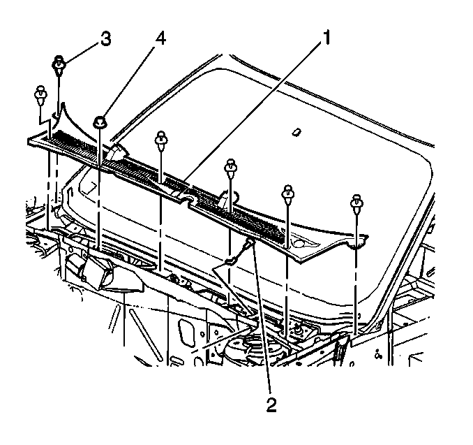
  2. Object Number: 255960  Size: SH
  3. Remove the air inlet grille panel retainers (3,4).
  4. Disconnect the washer hoses from the air inlet grille panel (2).
  5. Remove the air inlet grille panel from the vehicle (1).

Installation Procedure


    Object Number: 255960  Size: SH
  1. Connect the washer hoses to the air inlet grille panel (2).
  2. Install the air inlet grille panel to the vehicle (1).
  3. Install the air inlet grille panel retainers (3,4).
  4. Install the wiper arm assemblies. Refer to Wiper Arm Assembly Replacement in Windshield Wiper/Washer System.