GM Service Manual Online
For 1990-2009 cars only
Makes
🢒
Chevrolet
🢒
1998
🢒
Blazer - 4WD
🢒 Fuel Controls
Fuel Controls
Fuel Controls
Engine Controls Components
Fuel Metering System Component Description
A/C Compressor Controls
Engine Controls Schematic Icons
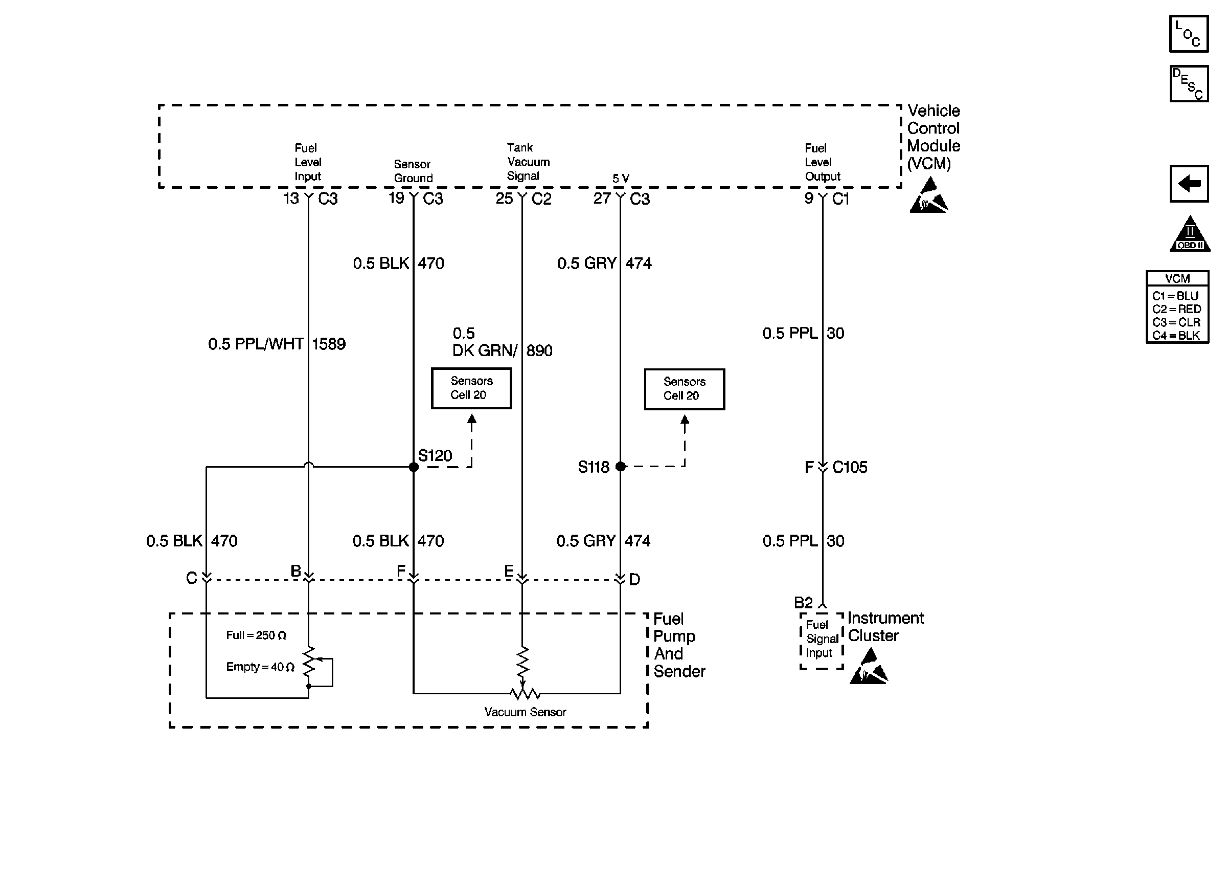
Engine Controls Schematics
Engine Controls Schematics
Engine Controls Schematic Icons
Engine Controls Schematic Icons