GM Service Manual Online
For 1990-2009 cars only
Makes
🢒
Chevrolet
🢒
1999
🢒
Blazer - 4WD
🢒
Engine
🢒
Engine Controls - 4.3L
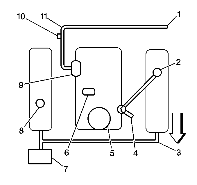
🢒 Emission Hose Routing Diagram
Emission Hose Routing Diagram
(1)
To EVAP Canister
(2)
Positive Crankcase Ventilation (PCV)
(3)
AIR Vacuum Hose
(4)
To HVAC (When Used)
(5)
Throttle Body
(6)
Manifold Absolute Pressure (MAP) Sensor
(7)
AIR Pump
(8)
Crankcase Vent
(9)
EVAP Canister Purge Solenoid Valve
(10)
EVAP Service Port
(11)
EVAP Canister Purge Hose