GM Service Manual Online
For 1990-2009 cars only

DTC P0705 2.2 L


Object Number: 774181  Size: MF
Master Electrical Component List
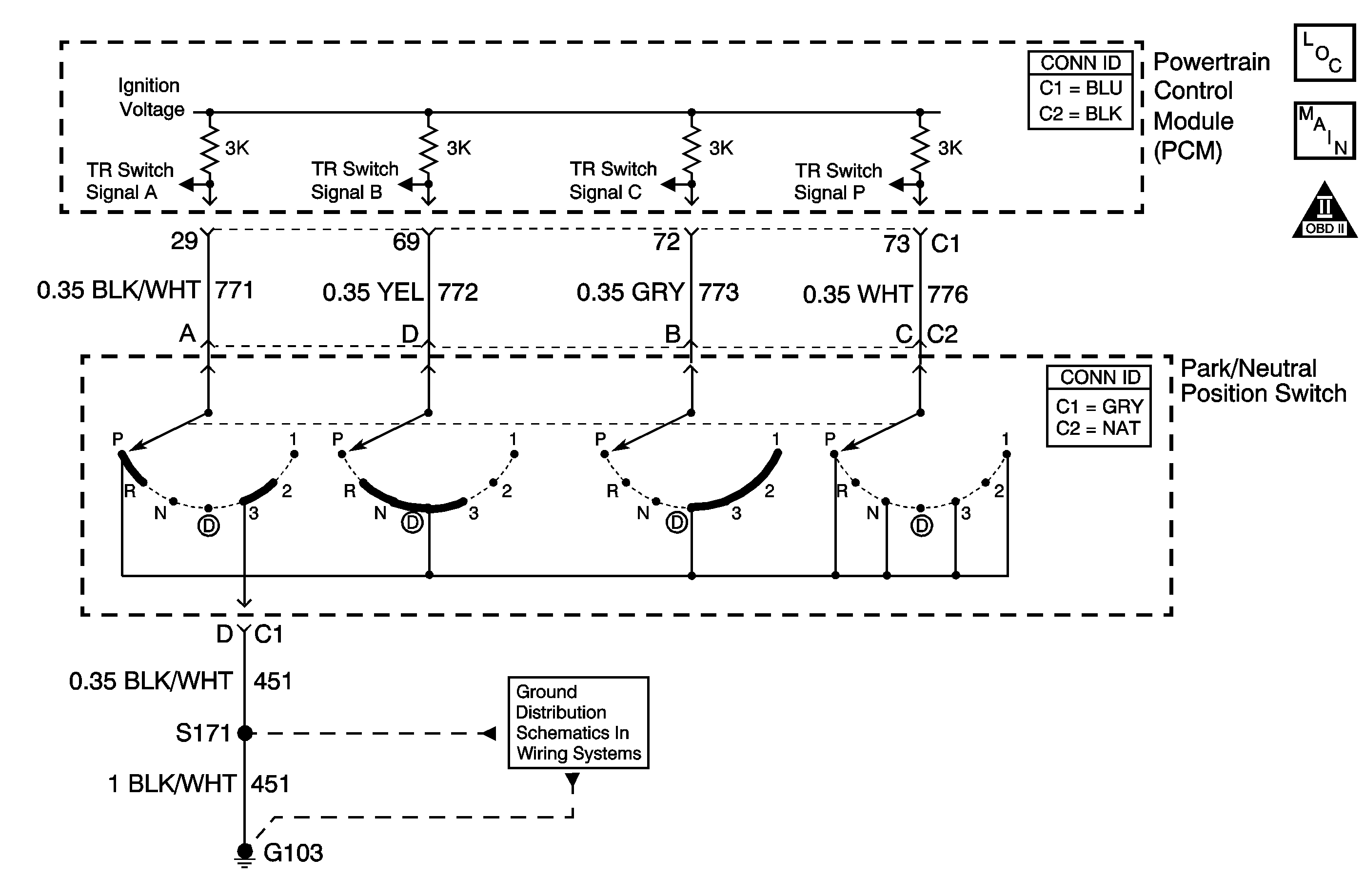
Automatic Transmission Controls Schematics
OBD II Symbol Description Notice

Circuit Description

The transmission range (TR) switch is part of the park/neutral position and back-up lamp switch assembly and is externally mounted on the transmission manual shaft. The TR switch is a multi-signal switch. The PCM supplies ignition voltage to the TR switch on four signal circuits (A, B, C, and P). Each gear selector lever position grounds one or more of the switch circuits. In order to determine the gear range selected by the driver, the PCM compares the voltage combinations on the signal circuits to a look up table stored in the PCM memory. PCM detects the selected gear range by the state change of the switch input. Refer to Transmission Range Switch Logic table.

Switch input to the PCM is represented on the scan tool as HI and LOW. HI indicates an ignition voltage signal. LOW indicates a zero voltage signal. The four parameters represent transmission range switch signal A, B, C and Parity.

When the PCM detects an invalid TR switch signal combination, then DTC P0705 sets. DTC P0705 is a type C DTC.

Conditions for Running the DTC

    • The system voltage is 8-18 volts.
    • The engine run time is greater than 5 seconds.
    • The vehicle speed is greater than 8 km/h (5 mph).

Conditions for Setting the DTC

The combination of TR switch signals are invalid for 5 seconds. Refer to the Transmission Range Switch Logic table.

Action Taken When the DTC Sets

    • The PCM does not illuminate the malfunction indicator lamp (MIL).
    • The PCM records the operating conditions when the Conditions for Setting the DTC are met. The PCM stores this information as Failure Records.
    • The PCM stores DTC P0705 in PCM memory.

Conditions for Clearing the DTC

    • A scan tool can clear the DTC.
    • The PCM clears the DTC from PCM history if the vehicle completes 40 warm-up cycles without a non-emission related diagnostic fault occurring.
    • The PCM cancels the DTC default actions when the fault no longer exists and the DTC passes.

Test Description

The numbers below refer to the step numbers on the diagnostic table.

  1. By disconnecting the TR switch, the ground path of all TR switch circuits would be removed and the PCM would recognize all circuits as open. The scan tool will display HI for all range signals.

  2. This step tests TR switch wiring for an open or the lack of the signal voltage from the PCM.

  3. This step tests TR switch wiring and the PCM by providing a ground path through a fused jumper wire. When grounded, the scan tool range signal A should change to LOW.

  4. This step tests TR switch wiring and the PCM by providing a ground path through a fused jumper wire. When grounded, the scan tool range signal B should change to LOW.

  5. This step tests TR switch wiring and the PCM by providing a ground path through a fused jumper wire. When grounded, the scan tool range signal C should change to LOW.

DTC P0705

Step

Action

Value(s)

Yes

No

1

Did you perform the Powertrain Diagnostic System Check?

--

Go to Step 2

Go to Diagnostic System Check - Engine Controls in Engine Controls - 2.2 L

2

  1. Install a Scan Tool .
  2. Turn ON the ignition, with the engine OFF.
  3. Select TR Sw. on the Scan Tool .
  4. With the Scan Tool , observe the TR Sw. display while selecting each transmission range: P, R, N, D3, D2 and D1.

Does each selected transmission range match the Scan Tool TR Sw. display?

--

Go to Intermittent Conditions in Engine Controls - 2.2 L

Go to Step 3

3

  1. Inspect the PNP switch assembly for the following:
  2. • Damage
    • Loose or missing mounting hardware
    • Proper adjustment
  3. Inspect the shift cable for the following:
  4. • Damaged or stretched cable
    • Proper adjustment
    • Refer to Shift Cable Replacement .

Did you find and correct a condition?

--

Go to Step 16

Go to Step 4

4

With the Scan Tool , observe the TR Sw. A/B/C/P display.

Does the Scan Tool TR Sw. A/B/C/P parameter indicate HI for all range signal states?

--

Go to Step 13

Go to Step 5

5

  1. Turn OFF the ignition.
  2. Disconnect the TR switch 4-way connector.
  3. Turn ON the ignition, with the engine OFF.

Does the Scan Tool TR Sw. A/B/C/P parameter indicate HI for all range signal states?

--

Go to Step 6

Go to Step 10

6

  1. Using the J 39200 digital multimeter (DMM) and the J 35616 connector test adapter kit, measure the voltage from terminal A of the TR switch 4-way connector to ground.
  2. Measure the voltage from terminal B of the TR switch 4-way connector to ground.
  3. Measure the voltage from terminal C of the TR switch 4-way connector to ground.
  4. Measure the voltage from terminal D of the TR switch 4-way connector to ground.

Does the voltage measure within the specified value at all four terminals?

10-12 V

Go to Step 7

Go to Step 11

7

Connect a fused jumper wire from terminal D of the TR switch 4-way connector (signal A circuit) to ground while monitoring the Scan Tool TR Sw. A/B/C/P parameter.

When the signal A circuit (CKT 771) is grounded, do any other signal circuits indicate LOW?

--

Go to Step 12

Go to Step 8

8

Connect a fused jumper wire from terminal B of the TR switch 4-way connector (signal B circuit) to ground while monitoring the Scan Tool TR Sw. A/B/C/P parameter.

When the signal B circuit (CKT 772) is grounded, do any other signal circuits indicate LOW?

--

Go to Step 12

Go to Step 9

9

Connect a fused jumper wire from terminal C of the TR switch 4-way connector (signal C circuit) to ground while monitoring the Scan Tool TR Sw. A/B/C/P parameter.

When the signal C circuit (CKT 773) is grounded, do any other signal circuits indicate LOW?

--

Go to Step 12

Go to Step 14

10

Test the signal circuit(s) (CKTs 771, 772, 773 and 776) of the TR switch that did not indicate HI for a short to ground.

Refer to Circuit Testing and Wiring Repairs in Wiring Systems.

Did you find and correct the condition?

--

Go to Step 16

Go to Step 15

11

Test the signal circuit(s) (CKTs 771, 772, 773 and 776) of the TR switch that did not indicate proper voltage for an open.

Refer to Circuit Testing and Wiring Repairs in Wiring Systems.

Did you find and correct the condition?

--

Go to Step 16

Go to Step 15

12

Test the affected signal circuits of the TR switch for a shorted together condition.

Refer to Circuit Testing and Wiring Repairs in Wiring Systems.

Did you find and correct the condition?

--

Go to Step 16

Go to Step 15

13

Test the ground circuit (CKT 451) of the TR switch for an open.

Refer to Circuit Testing and Wiring Repairs in Wiring Systems.

Did you find and correct the condition?

--

Go to Step 16

Go to Step 14

14

Replace the TR switch (this switch is part of the park/neutral position (PNP) switch).

Refer to Park/Neutral Position Switch Replacement .

Did you complete the replacement?

--

Go to Step 16

--

15

Replace the PCM.

Refer to Powertrain Control Module Replacement in Engine Controls - 2.2 L.

Did you complete the replacement?

--

Go to Step 16

--

16

Perform the following procedures in order to verify the repair:

  1. Select DTC.
  2. Select Clear Info.
  3. Drive the vehicle greater than 8 km/h (5 mph) for a short distance, then stop the vehicle.
  4. Select each transmission range: P, R, N, D3, D2 and D1.
  5. Place the transmission in PARK.
  6. Select Specific DTC. Enter DTC P0705.

Has the test run and passed?

--

System OK

Go to Step 1