GM Service Manual Online
For 1990-2009 cars only
Makes
🢒
Chevrolet
🢒
2002
🢒
Blazer - 4WD
🢒
Driveline/Axle
🢒
Transfer Case - NVG 233-NP1 (Two Speed Selectable)
🢒 Transfer Case Control Schematics
Figure
1:
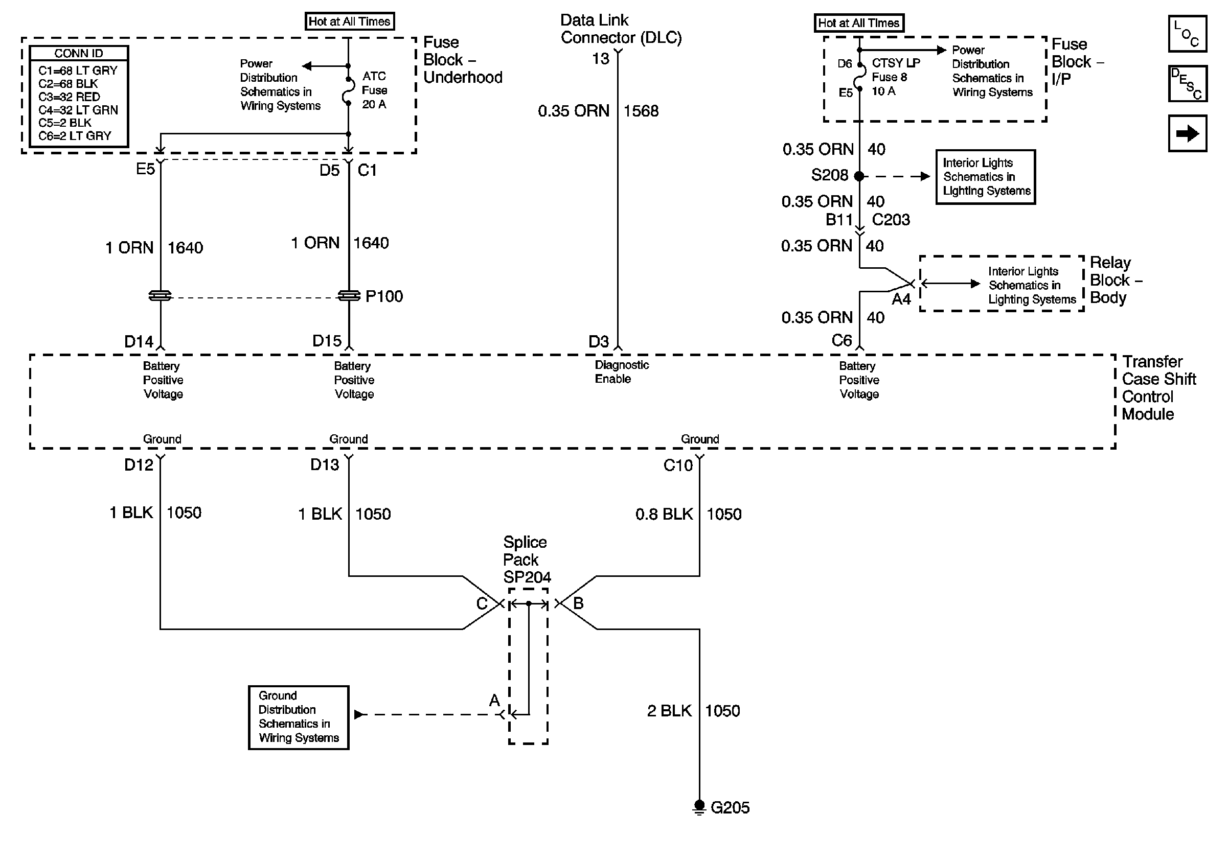
Power and Ground
Master Electrical Component List
Transfer Case Description and Operation
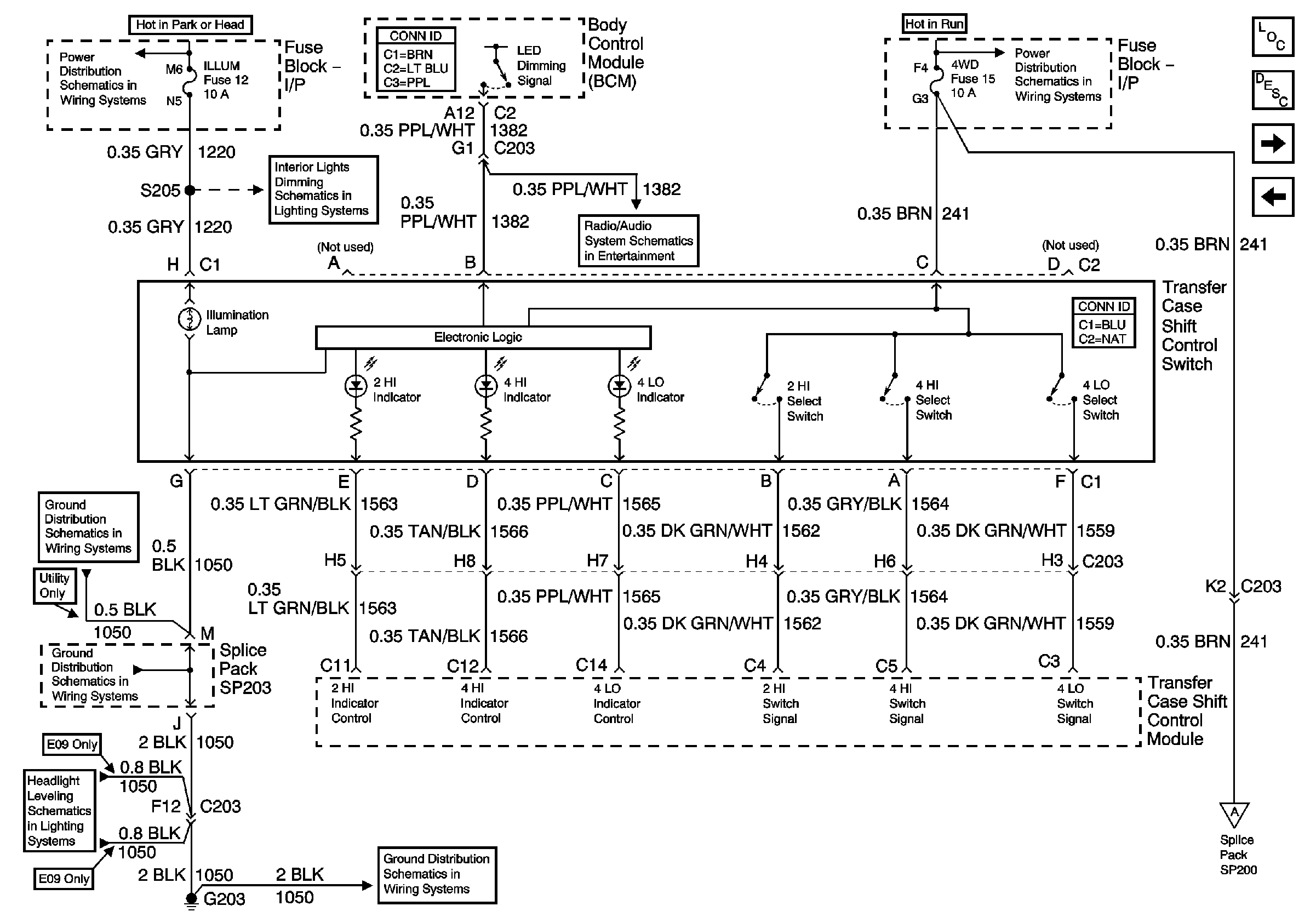
Transfer Case Shift Control Switch
B+ Bus Bar
G205 (Utility and Crew Cab)
INT BATT Fuse
CTSY LP Fuse and Courtesy Lamp Relay
CTSY LP Fuse and Courtesy Lamp Relay
Figure
2:
Transfer Case Shift Control Switch
Master Electrical Component List
Transfer Case Description and Operation
Transfer Case Encoder Motor
Power and Ground
ILLUM and PARK LP Fuses
ILLUM Fuse 12
LED Dimming Signal
Ign ACC, RUN and RAP Bus Bar
G203 and G204 (Pickup)
G203 and G204 (Utility w/ Manual A/C)
Headlight Leveling Schematics
G203 and G204 (Pickup)
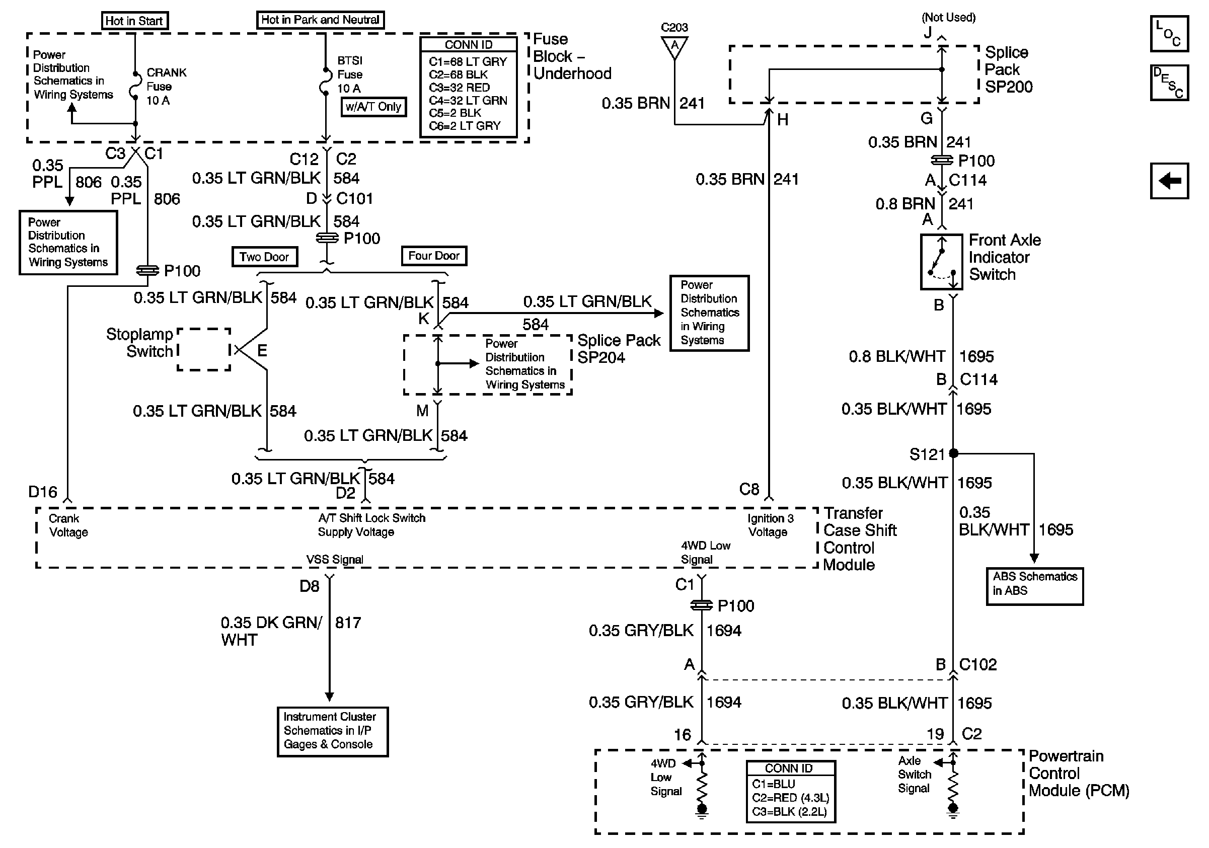
Front Axle Indicator Switch and Powertrain Control Module (PCM)
Figure
3:
Transfer Case Encoder Motor
Master Electrical Component List
Transfer Case Description and Operation
Front Axle Indicator Switch and Powertrain Control Module (PCM)
Transfer Case Shift Control Switch
Figure
4:
Front Axle Indicator Switch and Powertrain Control Module (PCM)
Master Electrical Component List
Transfer Case Description and Operation
Transfer Case Encoder Motor
Ign RUN and START Bus Bar
CRANK and CLSTR Fuses
Gages
BTSI Fuse Power (Automatic Transmission)
Transfer Case Shift Control Switch
BTSI Fuse Power (Automatic Transmission)
Class 2 Communication