GM Service Manual Online
For 1990-2009 cars only
Figure 1:

Center High Mounted Stop Lamp


Object Number: 793440  Size: FS
Master Electrical Component List
Exterior Lighting Systems Description and Operation
Multifunction Switch and Turn Signal Lamp Flasher
B+ Bus Bar
Stop, Turn and Hazard Bus Bar
Multifunction Switch and Turn Signal Lamp Flasher
Tail, Stop and License Lamps - Export
CRUISE Fuse, Multifunction Switch and Cruise Control Module
G102 (Except Export)
G202 (Pickup Except Crew Cab)
G420,G450 and S427 (Utility and Crew Cab)
Figure 2:

Multifunction Switch and Turn Signal Lamp Flasher


Object Number: 793443  Size: FS
Master Electrical Component List
Exterior Lighting Systems Description and Operation
Instrument Cluster Turn Signal Indicators
Center High Mounted Stop Lamp
Center High Mounted Stop Lamp
Center High Mounted Stop Lamp
B+ Bus Bar
Ign RUN and START Bus Bar
G205 (Utility and Crew Cab)
G205 (Utility and Crew Cab)
Instrument Cluster Turn Signal Indicators
Turn Signal Fuses
Figure 3:

Instrument Cluster Turn Signal Indicators


Object Number: 793444  Size: FS
Master Electrical Component List
Exterior Lighting Systems Description and Operation
Turn Signal Fuses
Multifunction Switch and Turn Signal Lamp Flasher
Park/Turn Signal Lamps, Marker Lamps and Turn Signal Fuses, Front
Multifunction Switch and Turn Signal Lamp Flasher
Park/Turn Signal Lamps, Marker Lamps and Turn Signal Fuses, Front
Multifunction Switch and Turn Signal Lamp Flasher
Exterior Light References
G203 and G204 (Pickup)
G203 and G204 (Utility w/ Manual A/C)
G203 and G204 (Pickup)
Figure 4:

Turn Signal Fuses


Object Number: 793445  Size: FS
Master Electrical Component List
Exterior Lighting Systems Description and Operation
Park/Turn Signal Lamps, Marker Lamps and Turn Signal Fuses, Front
Instrument Cluster Turn Signal Indicators
Multifunction Switch and Turn Signal Lamp Flasher
Park and License Lamps, Rear - Utility
Park/Turn Signal Lamps, Marker and License Lamps, Rear - Pickup
Park and License Lamps, Rear - Utility
Park/Turn Signal Lamps, Marker and License Lamps, Rear - Pickup
Figure 5:

Park/Turn Signal Lamps, Marker Lamps and Turn Signal Fuses, Front


Object Number: 793446  Size: FS
Master Electrical Component List
Exterior Lighting Systems Description and Operation
Fuse Block - Underhood
Turn Signal Fuses
Instrument Cluster Turn Signal Indicators
Park/Turn Signal Lamps, Marker and License Lamps, Rear - Pickup
Park and License Lamps, Rear - Utility
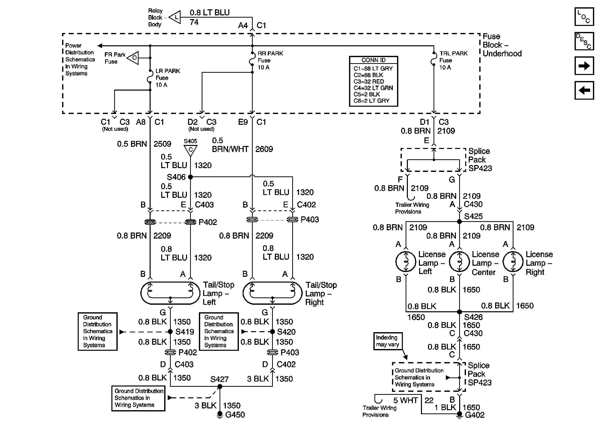
Tail, Stop and License Lamps - Export
FR PRK, LR PRK, RR PRK Fuses and Fog Lamp Relay (Pickup)
Instrument Cluster Turn Signal Indicators
G111 and G112 (Except Export)
G111 and G112 (Except Export)
Figure 6:

Fuse Block - Underhood


Object Number: 793448  Size: FS
Master Electrical Component List
Exterior Lighting Systems Description and Operation
Park/Turn Signal Lamps, Marker and License Lamps, Rear - Pickup
Park/Turn Signal Lamps, Marker Lamps and Turn Signal Fuses, Front
B+ Bus Bar
Park/Turn Signal Lamps, Marker and License Lamps, Rear - Pickup
Park and License Lamps, Rear - Utility
Tail, Stop and License Lamps - Export
Headlamp Switch
Headlamp Switch
ILLUM and PARK LP Fuses
Figure 7:

Park/Turn Signal Lamps, Marker and License Lamps, Rear - Pickup


Object Number: 793449  Size: FS
Master Electrical Component List
Exterior Lighting Systems Description and Operation
Park and License Lamps, Rear - Utility
Fuse Block - Underhood
FR PRK, LR PRK, RR PRK Fuses and Fog Lamp Relay (Pickup)
Park/Turn Signal Lamps, Marker Lamps and Turn Signal Fuses, Front
Fuse Block - Underhood
Turn Signal Fuses
Turn Signal Fuses
G402, G422 and G475 (Sportside Pickup)
G402, G422 and G475 (Sportside Pickup)
Figure 8:

Park and License Lamps, Rear - Utility


Object Number: 793450  Size: FS
Master Electrical Component List
Exterior Lighting Systems Description and Operation
Tail, Stop and License Lamps - Export
Park/Turn Signal Lamps, Marker and License Lamps, Rear - Pickup
Fuse Block - Underhood
FR PRK, LR PRK, RR PRK, TRL PRK Fuses and Fog Lamp Relay (Utility)
Park/Turn Signal Lamps, Marker Lamps and Turn Signal Fuses, Front
Turn Signal Fuses
Turn Signal Fuses
Backup Lamps - Utility
G420,G450 and S427 (Utility and Crew Cab)
Backup Lamps - Utility
G402 and G421 (Utility)
Figure 9:

Tail, Stop and License Lamps - Export


Object Number: 793451  Size: FS
Master Electrical Component List
Exterior Lighting Systems Description and Operation
Backup Lamps - Utility
Park and License Lamps, Rear - Utility
FR PRK, LR PRK, RR PRK, TRL PRK Fuses and Fog Lamp Relay (Export)
Fuse Block - Underhood
Park/Turn Signal Lamps, Marker Lamps and Turn Signal Fuses, Front
Center High Mounted Stop Lamp
S313 and S419
S320 and S420
G420,G450 and S427 (Utility and Crew Cab)
G402 and G421 (Utility)
Figure 10:

Backup Lamps - Utility


Object Number: 793452  Size: FS
Master Electrical Component List
Exterior Lighting Systems Description and Operation
Backup Lamps - Pickup
Tail, Stop and License Lamps - Export
Ign RUN and START Bus Bar
B/U LP, TRL B/U, VEH B/U, and BTSI Fuses (Automatic Transmission)
Inside Rearview Mirror Schematics
S313 and S419
S320 and S420
G420,G450 and S427 (Utility and Crew Cab)
Figure 11:

Backup Lamps - Pickup


Object Number: 793453  Size: FS
Master Electrical Component List
Exterior Lighting Systems Description and Operation
Backup Lamps - Utility
Ign RUN and START Bus Bar
B/U LP, TRL B/U, VEH B/U, and BTSI Fuses (Automatic Transmission)
Fuel Controls: Fuel Solenoid, Water in Fuel and Temperature Sensors
G402, G422 and G475 (Fleetside Pickup)
G402, G422 and G475 (Fleetside Pickup)