GM Service Manual Online
For 1990-2009 cars only
Makes
🢒
Chevrolet
🢒
2002
🢒
Blazer - 4WD
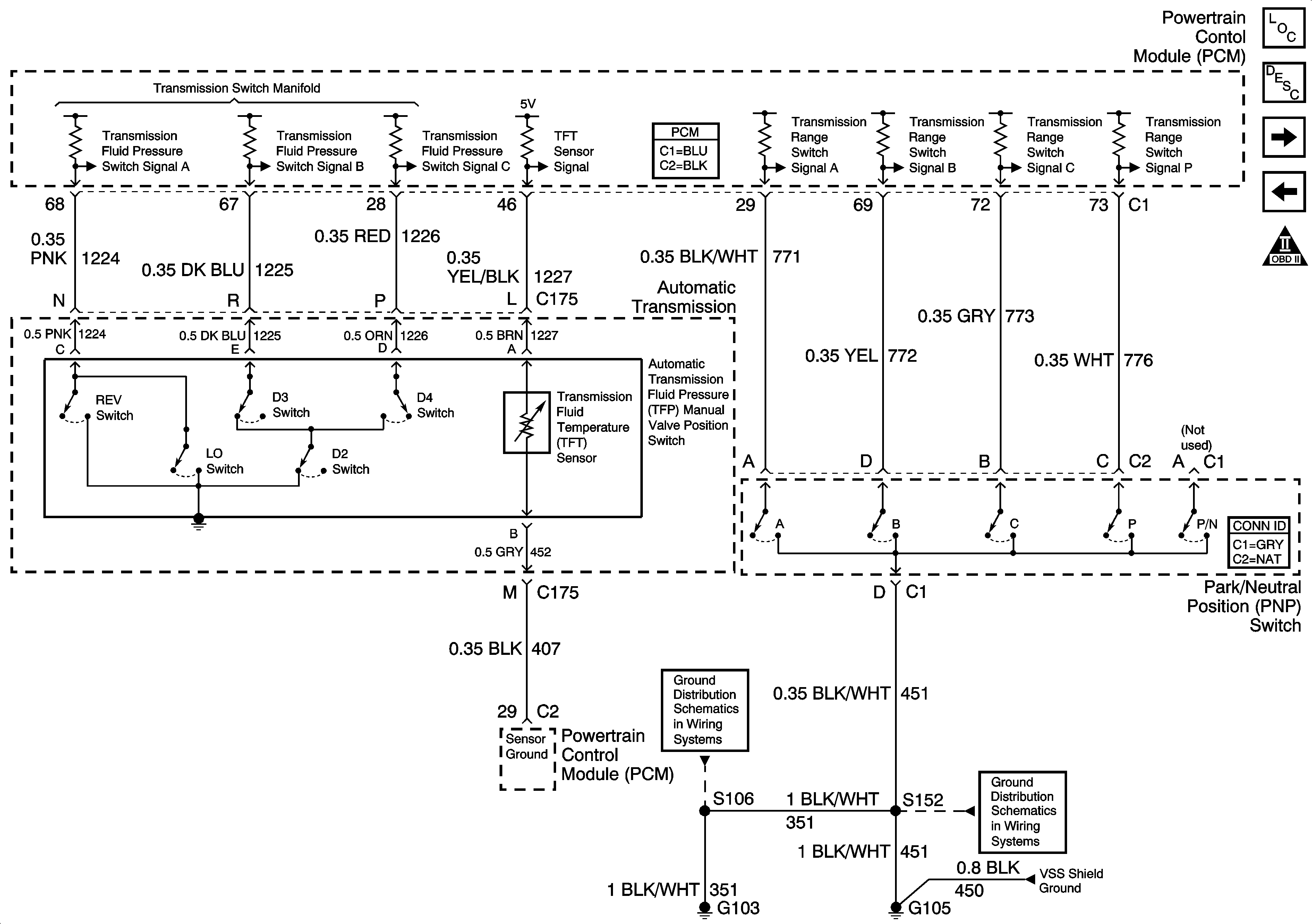
🢒 Switch Inputs and PNP Switch (2.2L)
Switch Inputs and PNP Switch (2.2L)
Switch Inputs and PNP Switch (2.2L)
Master Electrical Component List
Electronic Component Description
Brake Switch, VSS Inputs (2.2L)
Valve Controls (2.2L)
OBD II Symbol Description Notice
G103 and G105 (2.2 L)
G103 and G105 (2.2 L)