GM Service Manual Online
For 1990-2009 cars only

Object Number: 300848  Size: SH

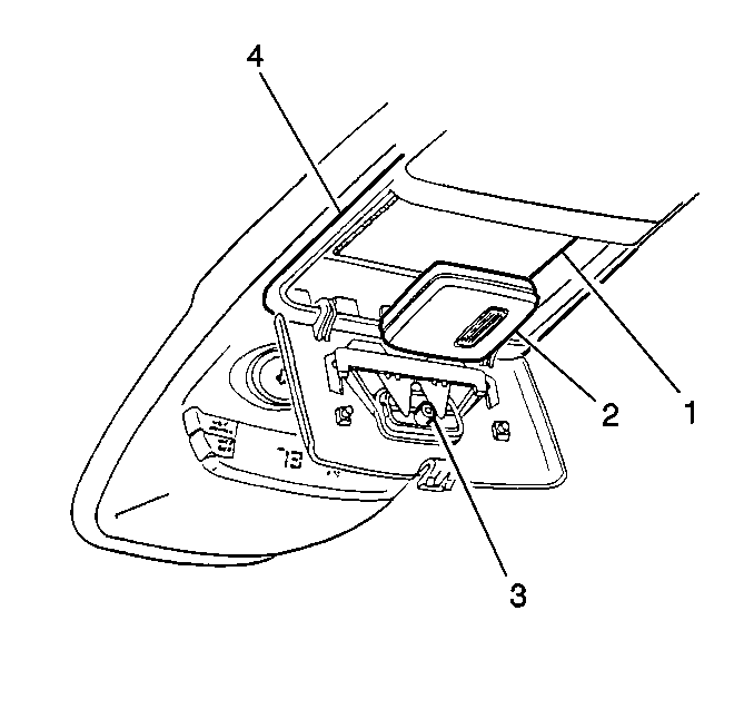
The overhead console (4) on some models provides a location for installing a garage door opener transmitter (2). Use the following procedure in order to install a transmitter.

  1. Press the compartment latch forward in order to open the compartment door.
  2. Remove the hook and loop patch from the top of the console.
  3. Peel the adhesive backing from the hook and loop patch.
  4. Firmly press the hook and loop patch to the back of the transmitter, as close to the center of the transmitter as possible.
  5. Center the button on the transmitter over the button on the compartment door (3).
  6. Firmly press the transmitter into place.

  7. Use the pegs inside the compartment door in order to make sure that the button on the compartment door makes contact with the button on the transmitter.
  8. Add one peg at a time until the transmitter operates when the compartment door is closed and the button is pushed.
  9. Refer to Control Module References for programming and setup information.