GM Service Manual Online
For 1990-2009 cars only
Makes
🢒
Chevrolet
🢒
2005
🢒
Blazer - 4WD
🢒
Vehicle Control Systems
🢒
Vehicle DTC Information
🢒 Driver Information System Schematics
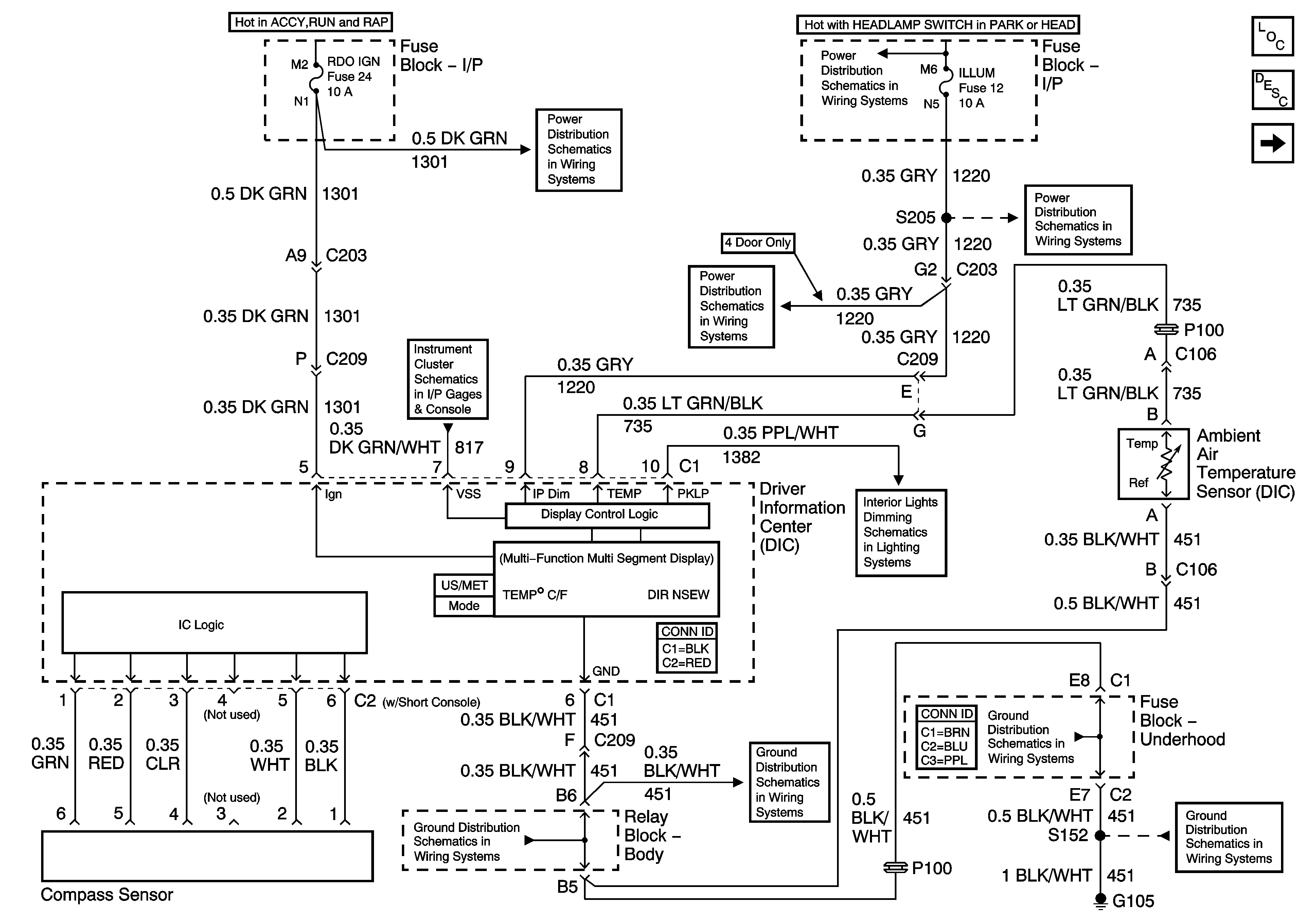
Figure
1:
Power and Ground - w/o Trip Computer
Master Electrical Component List
Driver Information Center (DIC) Description and Operation
Power and Ground w/ Trip Computer
RDO IGN and STR WHL RDO IGN Fuses
RDO IGN and STR WHL RDO IGN Fuses
Gages
G103 and G105
ILLUM Power - Utility
ILLUM, STG WHL ILLUM, and PARK LP Fuses
ILLUM Power
LED Dimming Signal
G103 and G105
G103 and G105
G103 and G105
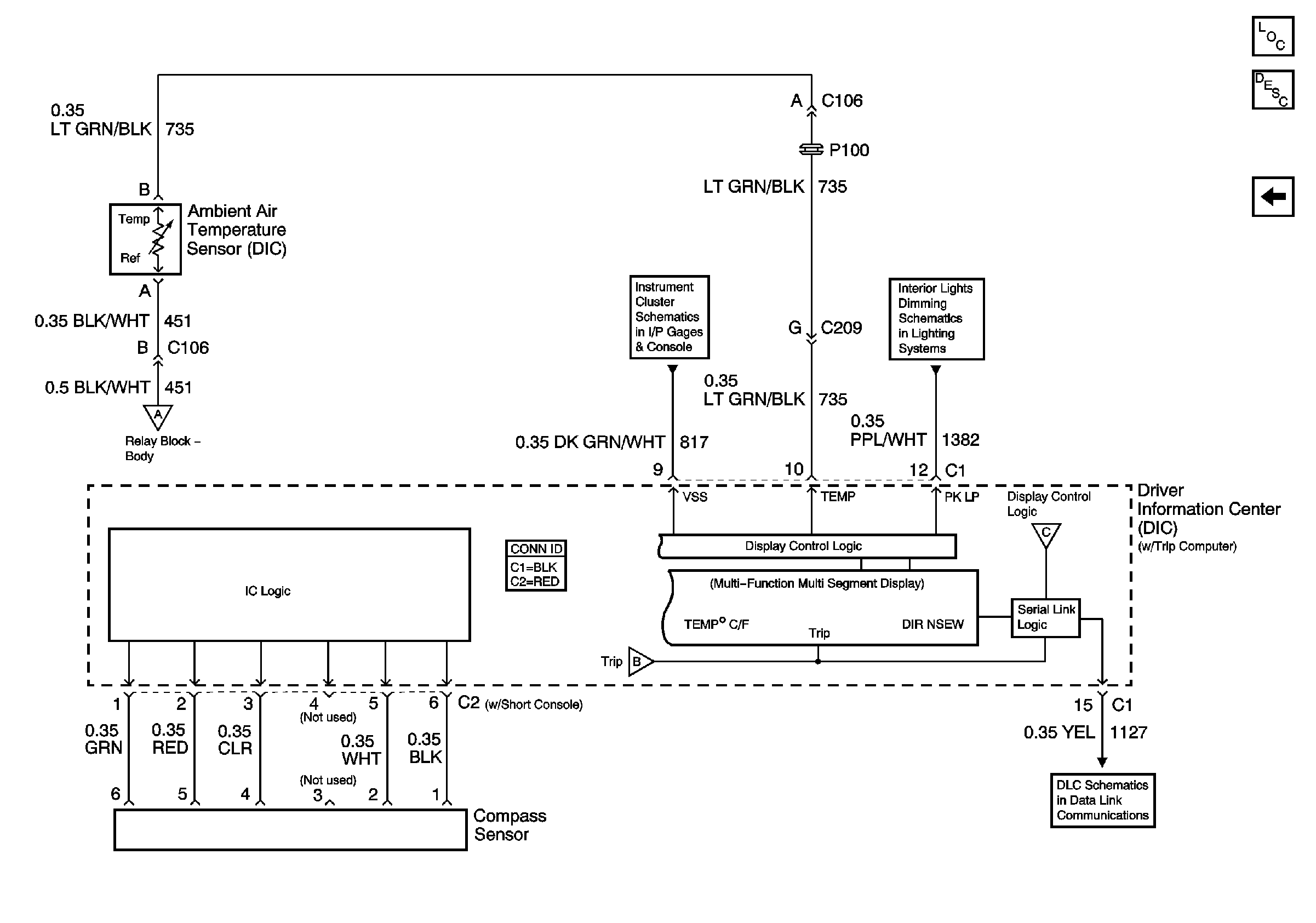
Figure
2:
Power and Ground - w/ Trip Computer
Master Electrical Component List
Driver Information Center (DIC) Description and Operation
Air Temperature Sensor - Outside - w/ Trip Computer
Power and Ground - w/o Trip Computer
ILLUM, STG WHL ILLUM, and PARK LP Fuses
INT BATT, PWR LKS, AMPF, CTSY LP and CIGAR LTR Fuses
RDO IGN and STR WHL RDO IGN Fuses
ILLUM Power
ILLUM Power - Utility
Inadvertent Power Relay
RDO IGN and STR WHL RDO IGN Fuses
G103 and G105
Air Temperature Sensor - Outside - w/ Trip Computer
Inadvertent Power Relay
Inadvertent Power Relay
G103 and G105
G103 and G105
Figure
3:
Air Temperature Sensor - Outside - w/ Trip Computer
Master Electrical Component List
Driver Information Center (DIC) Description and Operation
Power and Ground w/ Trip Computer
Power and Ground w/ Trip Computer
Gages
LED Dimming Signal
Power and Ground w/ Trip Computer
Power and Ground w/ Trip Computer
Class 2 Serial Data