GM Service Manual Online
For 1990-2009 cars only
Makes
🢒
Chevrolet
🢒
2005
🢒
Blazer - 4WD
🢒
Vehicle Control Systems
🢒
Vehicle DTC Information
🢒 Antilock Brake System Schematics
Figure
1:
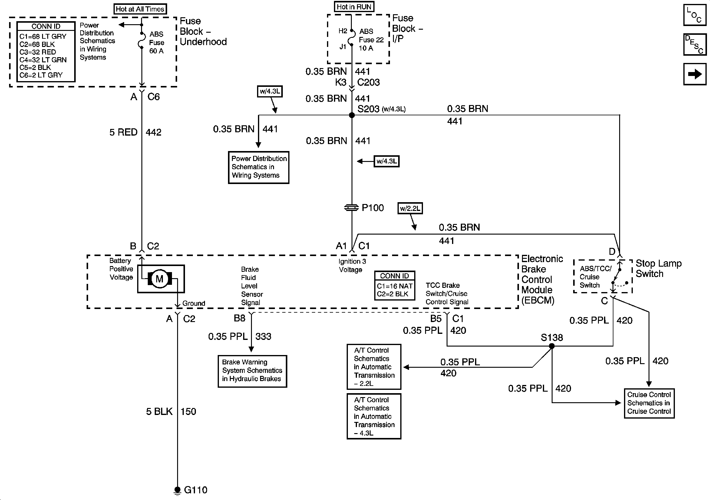
Power and Ground
Master Electrical Component List
ABS Description and Operation
Class 2 Communication
B+ Bus Bar
RR WPR, FRT WPR and ABS Fuses
Brake Warning System Schematics
Brake Switch, VSS Inputs - 2.2L
Brake Switch Input and Tow/Haul Switch
Clutch Pedal Position,Stoplamp Switch
Figure
2:
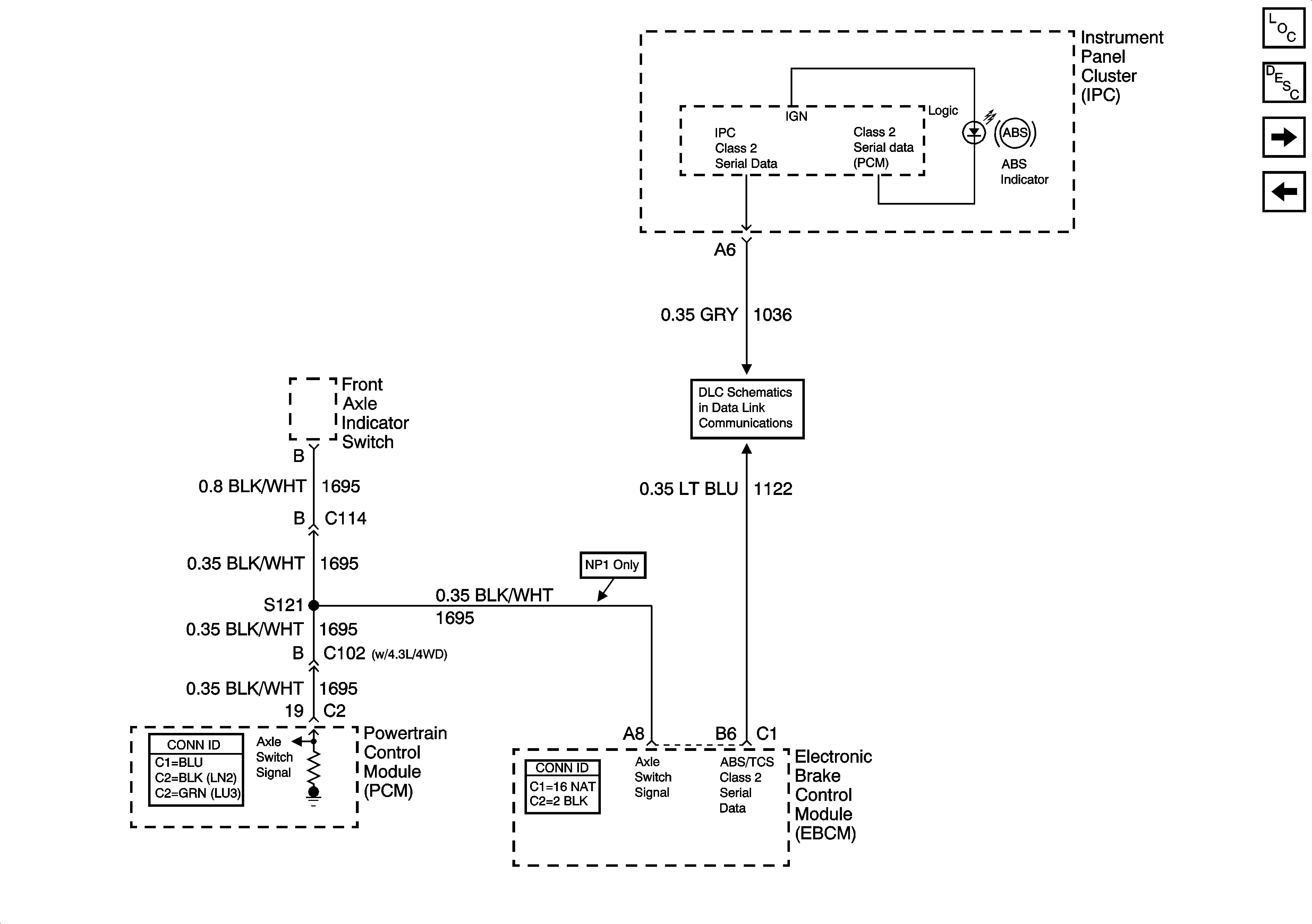
Class 2 Communication
Master Electrical Component List
ABS Description and Operation
Speed Sensor Signals
Power and Ground
04 S/T Classic DaClass 2 Serial Data
Figure
3:
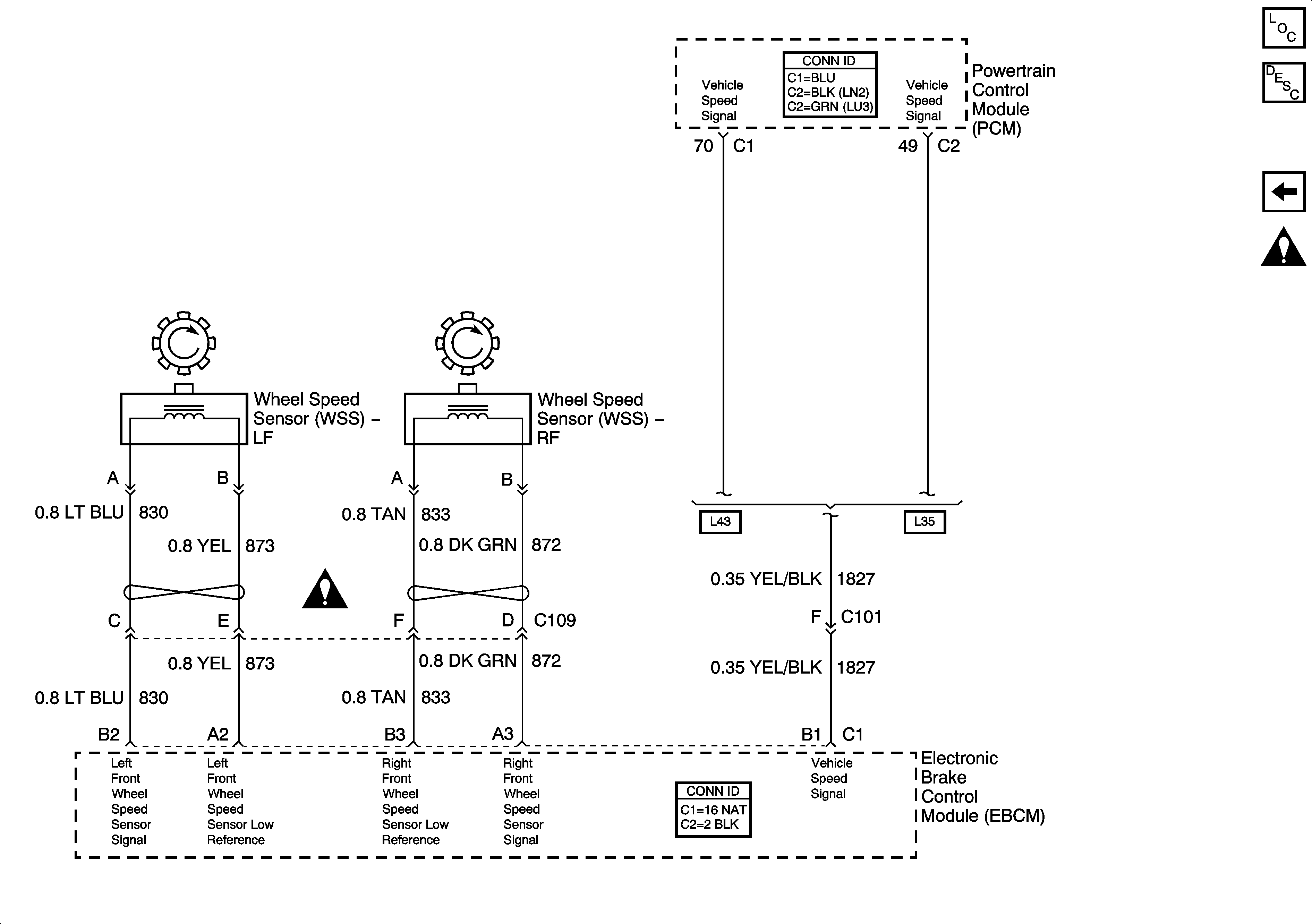
Speed Sensor Signals
Master Electrical Component List
ABS Description and Operation
Class 2 Communication
Antilock Brake System Schematic Icons
Antilock Brake System Schematic Icons