GM Service Manual Online
For 1990-2009 cars only
Makes
🢒
Chevrolet
🢒
2005
🢒
Blazer - 4WD
🢒 Valve Controls
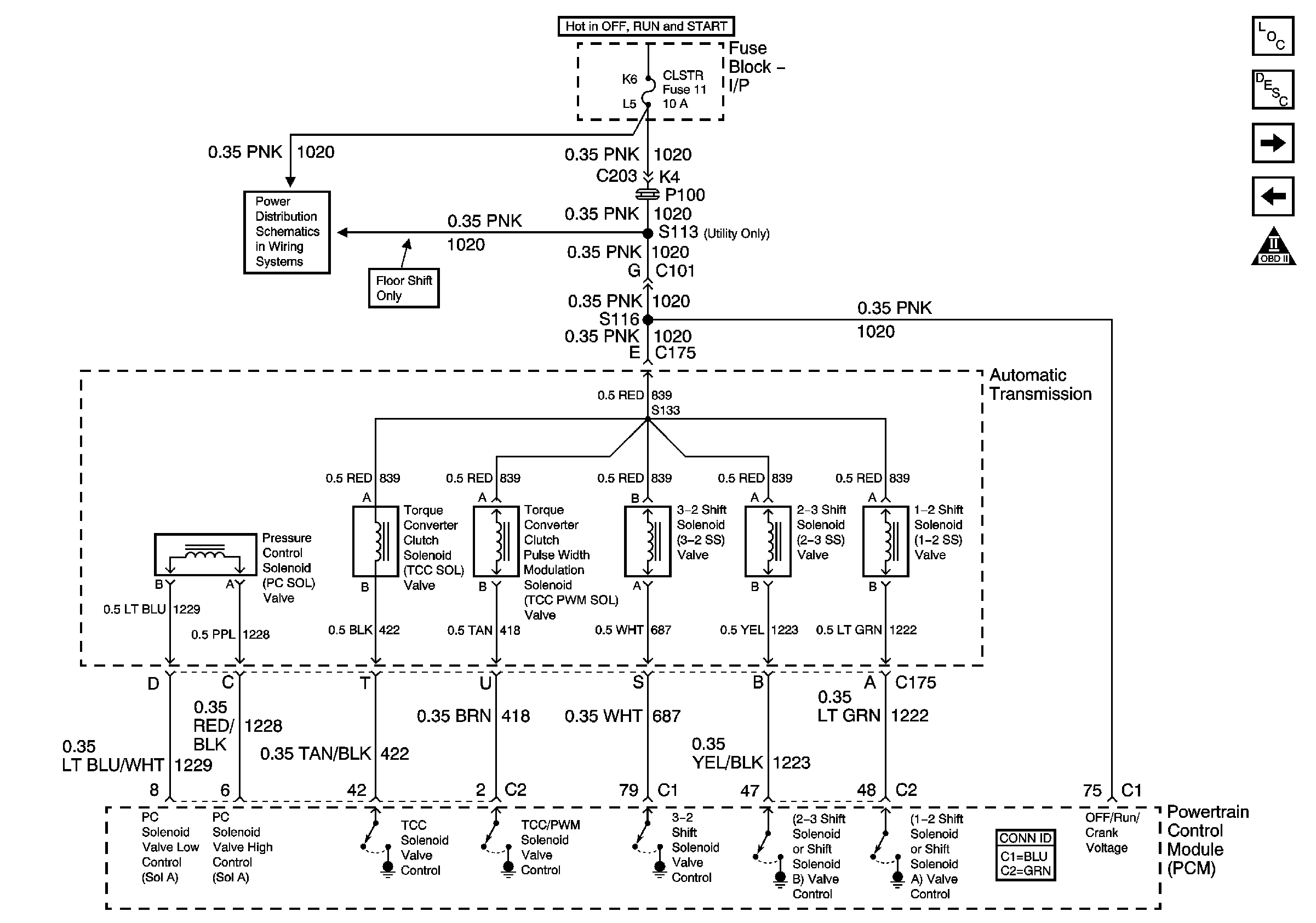
Valve Controls
Valve Controls - 4.3L
Master Electrical Component List
Electronic Component Description
Switch Inputs and PNP Switch
Brake Switch, VSS Inputs - 2.2L
OBD II Symbol Description Notice
CRANK and CLSTR Fuses
CRANK and CLSTR Fuses