GM Service Manual Online
For 1990-2009 cars only
Makes
🢒
Chevrolet
🢒
2005
🢒
Blazer - 4WD
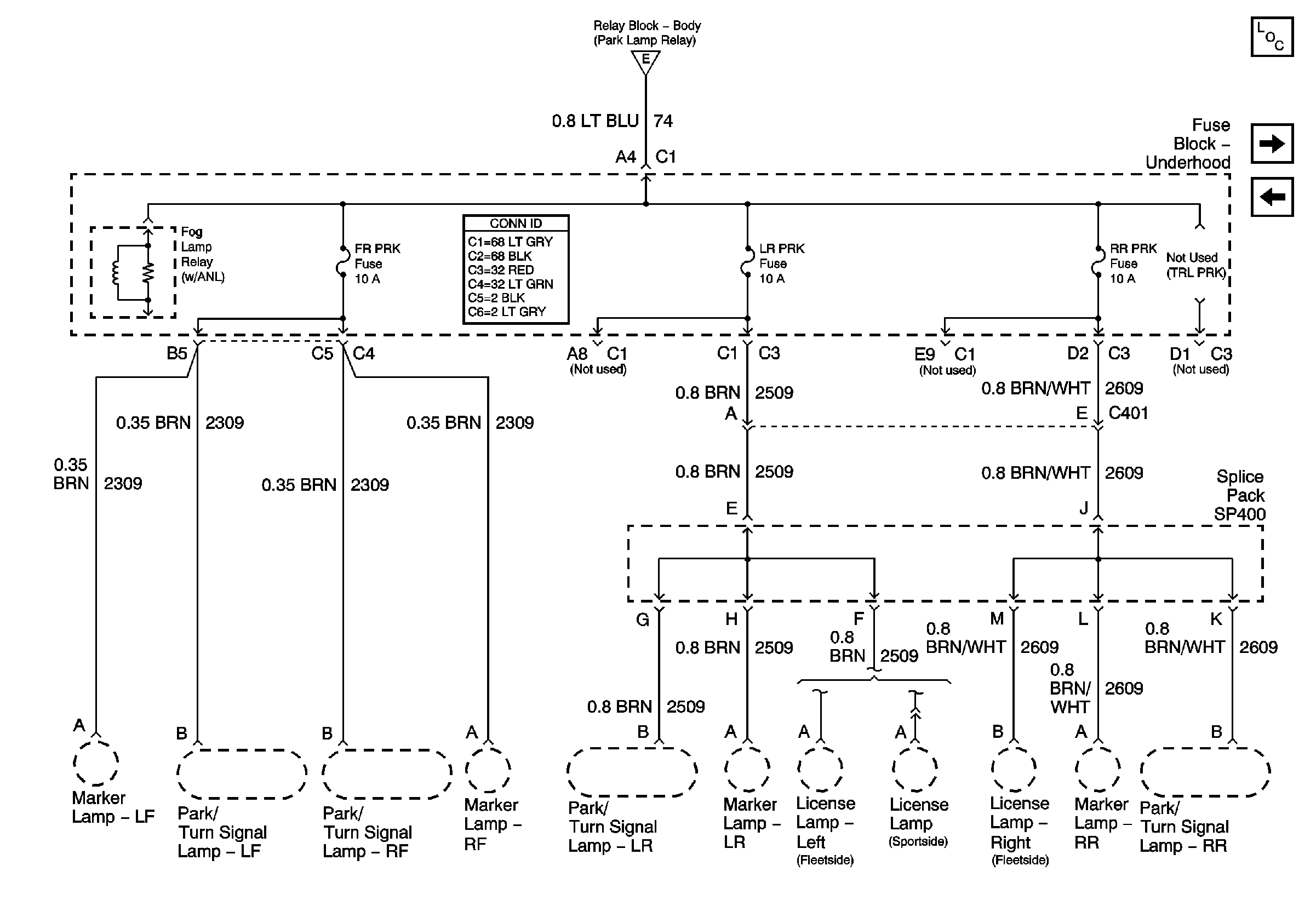
🢒 FR PRK, LR PRK, RR PRK Fuses, and Fog Lamp Relay
FR PRK, LR PRK, RR PRK Fuses, and Fog Lamp Relay
FR PRK, LR PRK, RR PRK Fuses, and Fog Lamp Relay
Master Electrical Component List
FR PRK, LR PRK, RR PRK, TRL PRK Fuses and Fog Lamp Relay
ILLUM Power - Utility
ILLUM, STG WHL ILLUM, and PARK LP Fuses