GM Service Manual Online
For 1990-2009 cars only
Makes
🢒
Chevrolet
🢒
2005
🢒
Blazer - 4WD
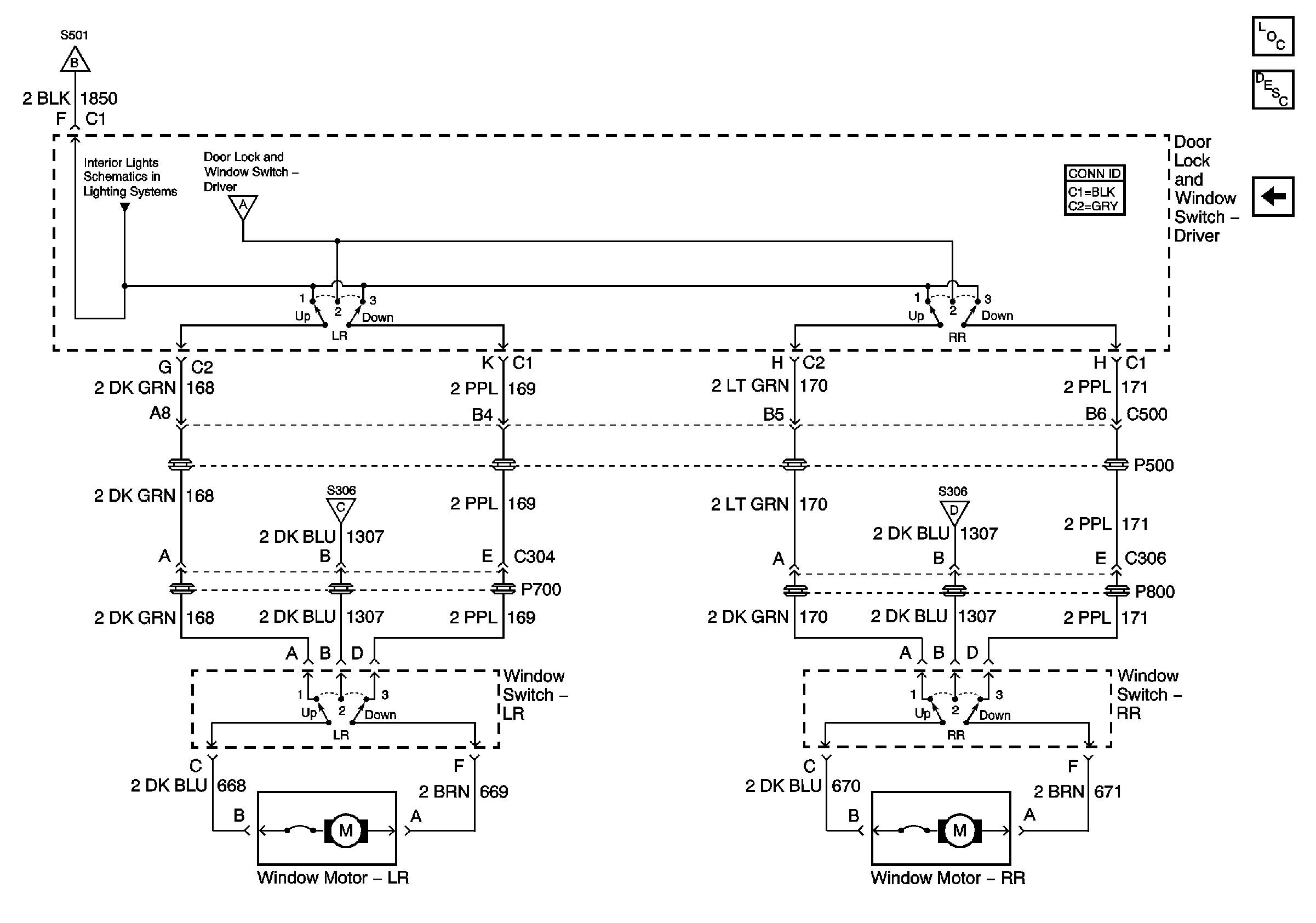
🢒 Rear Side Window Motors
Rear Side Window Motors
Rear Side Window Motors
Master Electrical Component List
Power Windows Description and Operation
Front Side Window Motors - 4-Door
Front Side Window Motors - 4-Door
Front Side Window Motors - 4-Door
Front Side Window Motors - 4-Door
Front Side Window Motors - 4-Door