GM Service Manual Online
For 1990-2009 cars only
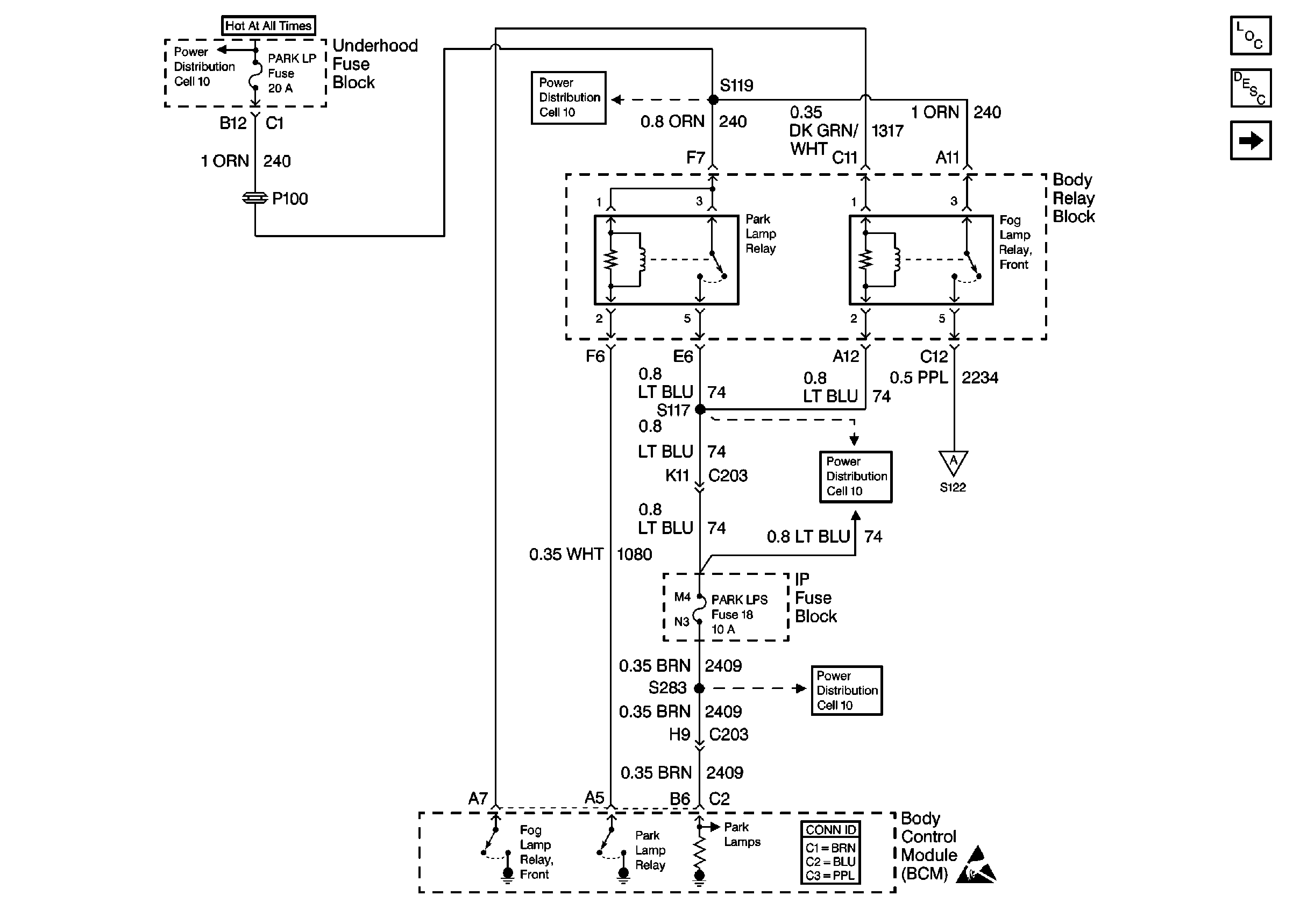
Figure 1:

Cell 103: Front Fog Lamps


Object Number: 372050  Size: FS
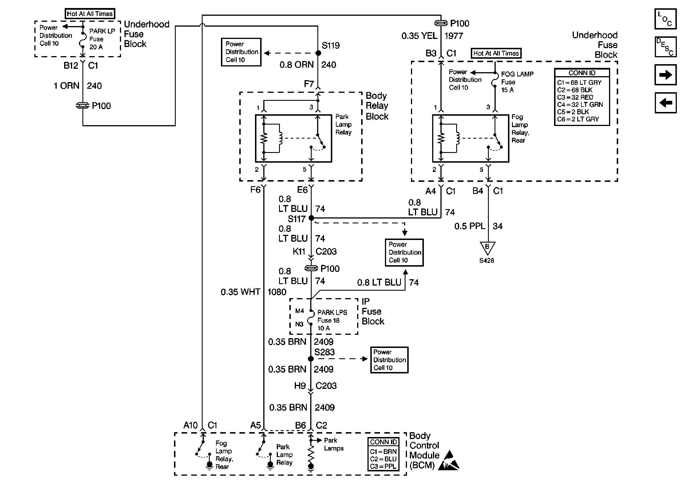
Figure 2:

Cell 103: Front Fog Lamps - Continued


Object Number: 378426  Size: FS
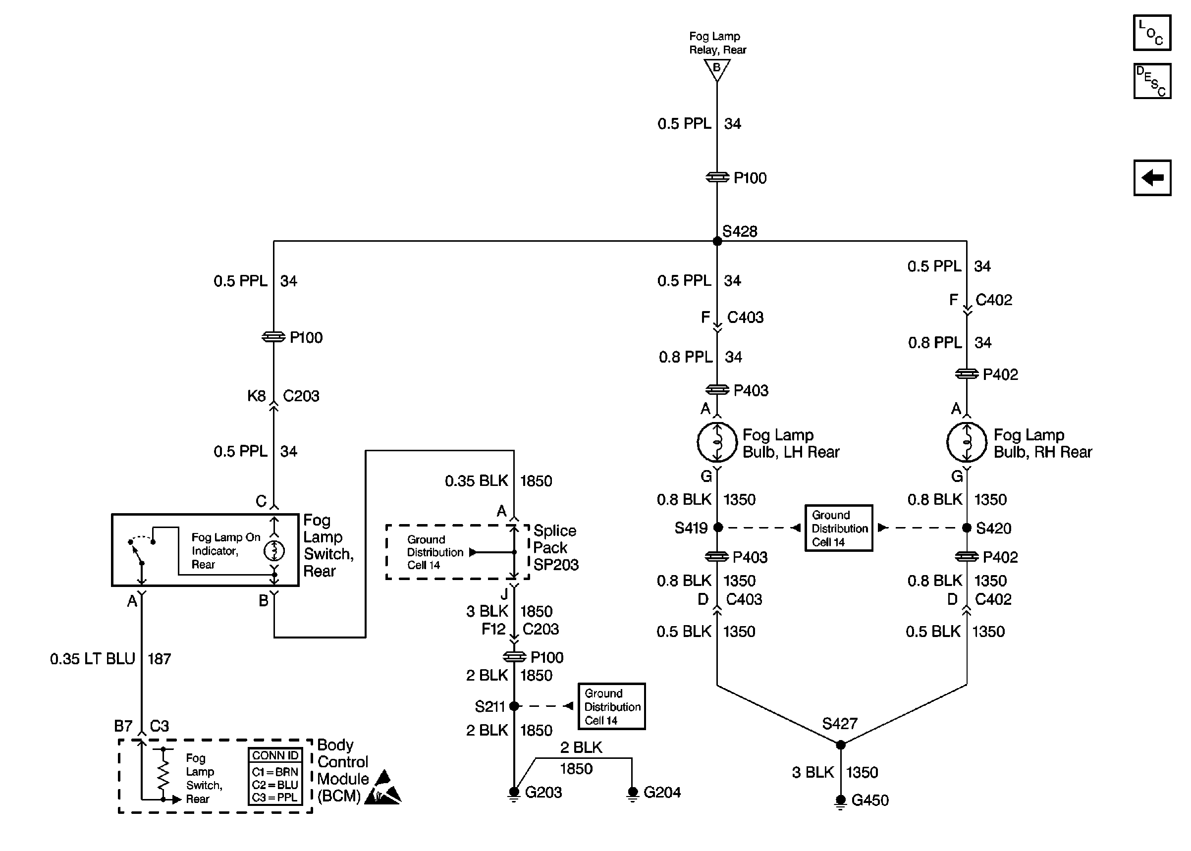
Figure 3:

Cell 103: Rear Fog Lamps


Object Number: 372054  Size: FS
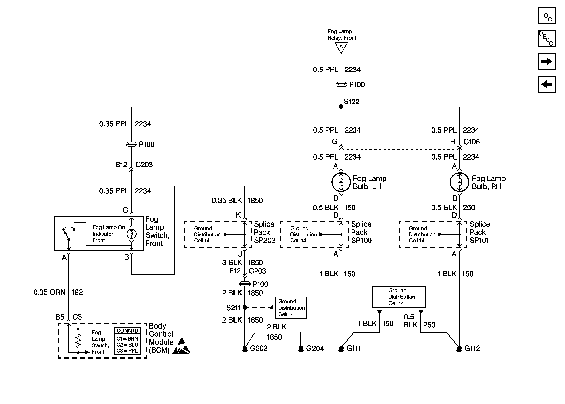
Figure 4:

Cell 103: Rear Fog Lamps - Continued


Object Number: 378429  Size: FS