GM Service Manual Online
For 1990-2009 cars only

Use the following repair procedures in order to repair the following terminals:

    • Push to seat terminals
    • Pull to seat terminals
    • Weatherpack™ terminals

Some terminals do not require all of the steps shown. Skip the steps that do not apply for your immediate terminal repair. The J-38125 Terminal Repair Kit contains further information.

  1. Cut off the terminal between the core and the insulation crimp. Minimize any wire loss.
  2. For Weatherpack™ terminals, remove the seal.

  3. Apply the correct seal per gauge size of wire.
  4. For Weatherpack™ terminals, slide the seal back along the wire in order to enable insulation removal.

  5. Remove the insulation.
  6. For Weatherpack™ terminals only, align the seal with the end of the cable insulation.
  7. Position the strip in the terminal.
  8. For Weatherpack™ terminals, position the strip and the seal in the terminal.

  9. Hand crimp the core wings.
  10. Hand crimp the insulation wings.
  11. For Weatherpack™ terminals, hand crimp the insulation wings around the seal and the cable.

  12. Solder all of the hand crimp terminals.

Micro-Pack 100 Terminal Repair

Notice: Use the connector test adapter kit J 35616-A for any test that requires probing the following items:

   • The PCM harness connectors
   • The electrical center fuse/relay cavities
   • The component terminals
   • The component harness connector
Using this kit will prevent damage caused by the improper probing of connector terminals.

Use care when probing connectors and replacing terminals. A short between opposite terminals may damage components. Use jumper wires between connectors when testing circuits. DO NOT probe through Weatherpack™ seals. The J 35616-A connector test adapter kit is the only recommended method of probing the following components:

    • Connectors
    • Terminals
    • Fuse blocks
    • Relay blocks

The J 35616-A connector test adapter kit contains an assortment of flexible connectors used in order to probe the components listed above.

Open circuits may be difficult to locate visually because oxidation or terminal misalignment are hidden by the connectors. Wiggling a connector on a sensor or in the wiring harness may temporarily correct the open circuit. Intermittent problems may be caused by oxidized or loose connections. Verify the type of connector/terminal before performing any connector repair or terminal repair.

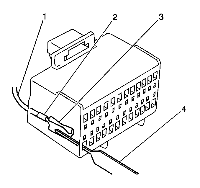
Micro-Pack 100 Terminal Removal


Object Number: 384273  Size: SH
(1)Cable
(2)Terminal
(3)Locking Tang
(4)Tool J 33095