GM Service Manual Online
For 1990-2009 cars only
Makes
🢒
Chevrolet
🢒
1999
🢒
Blazer - 4WD - RHD
🢒
Body and Accessories
🢒
Instrument Panel, Gauges, and Console
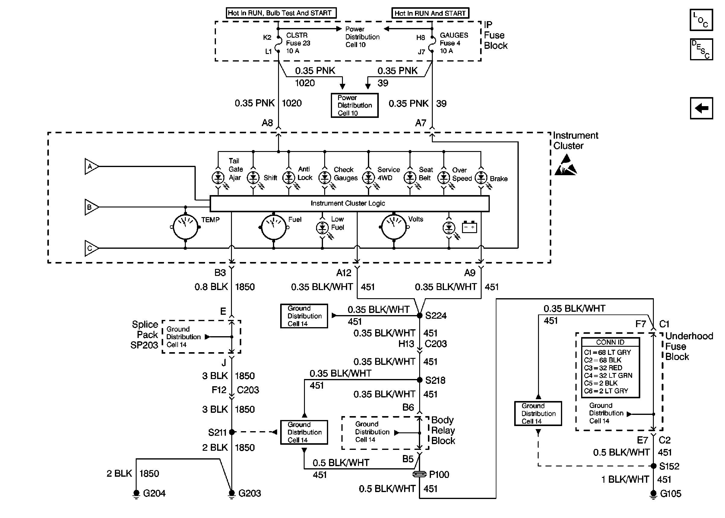
🢒 Instrument Cluster: Analog Schematics
Figure
1:
Cell 81: Power, Data Link Connector, and VCM
Figure
2:
Cell 81: Power and Ground