GM Service Manual Online
For 1990-2009 cars only

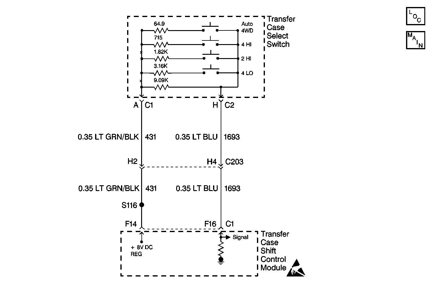
Object Number: 402039  Size: MF
Transfer Case Control Components
Transfer Case Control Schematics

Circuit Description

The range/mode switch circuit consists of four normally open switches. The transfer case shift control module supplies a regulated 8 volt DC to the switch through CKT 431. The switch has CKT 1693 to return current to the automatic transfer shift case control module through a 9.09 K resistor located inside the switch.

The transfer case shift control module constantly monitors this signal voltage to determine the condition of the mode switch circuit. If no buttons are pressed, and the transfer case shift control module detects a voltage level outside the possible range (approx. 0.5-1.0 volts) for longer than 5 minutes, the transfer case shift control module will set this DTC or if a button is held down or sticks for a period longer than 5 minutes.

When each of the switches is depressed they will complete a circuit through their own specific resistor. The transfer case shift control module continuously monitors the switch input to determine whether the 4HI, AUTO 4WD, 2HI, and 4LO button selections are made by the driver. Neutral may be obtained if the following conditions are met:

    • The engine is running.
    • The automatic transmission is in neutral (or the clutch pedal is depressed on a manual transmission application).
    • The vehicle speed is below 3 MPH.
    • The transfer case is in the 2HI mode.

Once these conditions have been met, pressing and holding both the 2HI and 4LO buttons for 10 seconds will shift the transfer case into neutral, turning on the red neutral indicator lamp.

The transfer case shift control module interfaces with four (4) instrument panel mounted, normally opened, momentary push button switches and lamp assembly.

The switch assembly utilizes a resistor network to provide an analog voltage signal to the module to determine a 4H, AUTO (Adapt), 2H, N, and 4L shift request. The transfer case shift control module supplies 8 volts to the switch assembly on CKT 431 and reads the voltage level back on CKT 1693.

This DTC detects an open, short to ground, or voltage on CKT 431 and CKT 1693, and a faulty switch assembly.

Conditions for Setting the DTC

    • The system constantly monitors the voltage on CKT 1693.
    • If the system detects a voltage level outside the possible range produced when no buttons are depressed, (approx.-0.5-1.0 volts), the DTC is logged.

Action Taken When the DTC Sets

    • All shifting will be disabled.
    • The SERVICE indicator (AWD/4WD) lamp will be latched on for the remainder of the current ignition cycle.

Conditions for Clearing the DTC

    • The transfer case shift control module will clear the DTC if the condition for setting the DTC no longer exists.
    • A history DTC will clear after 100 consecutive ignition cycles without a fault present.
    • History DTCs can be cleared using a scan tool.

Test Description

The number(s) below refer to the step number(s) on the diagnostic table.

  1. This step determines if CKT 1693 is shorted to voltage.

  2. This step determines if CKT 1693 is open.

  3. This step determines if CKT 431 is shorted to voltage.

  4. This step determines if CKT 431 is shorted ground.

  5. This step determines if CKT 431 is open.

Step

Action

Value(s)

Yes

No

1

Was the Transfer Case Diagnostic System Check performed?

--

Go to Step 2

Go to Transfer Case Diagnostic System Check

2

  1. Turn the ignition OFF.
  2. Disconnect the Selector Mode Switch connectors.
  3. Use a J 39200 Digital Multimeter DMM in order to measure the voltage from the Selector Mode Switch harness connector C1 terminal A to ground.
  4. Turn the ignition ON.

Is the voltage within the specified values?

7-9 V

Go to Step 3

Go to Step 9

3

  1. Turn the ignition OFF.
  2. Disconnect the transfer case shift control module harness connectors.
  3. Turn the ignition to Run.
  4. Use a J 39200 DMM in order to measure the voltage from transfer case shift control module harness connector C1 terminal F16 to ground.

Is the voltage greater than the specified value?

0 V

Go to Step 11

Go to Step 4

4

Connect a J 39200 DMM and measure the resistance between selector mode switch harness connector C2 terminal H to ground.

Is the resistance measured less than the specified value?

OL

Go to Step 5

Go to Step 6

5

Repair a short to ground in CKT 1693. Refer to Wiring Repairs in Wiring Systems.

Is the repair complete?

--

Go to Step 18

--

6

Connect a J 39200 DMM from selector mode switch harness connector C2 terminal H to transfer case shift control module harness connector C1 terminal F16

Is the resistance measured within the specified value?

0-5 ohms

Go to Step 7

Go to Step 8

7

Replace the selector mode switch. Refer to Transfer Case Shift Control Switch Replacement .

Is the action complete?

--

Go to Step 18

--

8

Repair open CKT 1693. Refer to Wiring Repairs in Wiring Systems.

Are the repairs complete?

--

Go to Step 18

--

9

Was the voltage in Step 2 within the specified value?

Greater than 9 V

Go to Step 10

Go to Step 14

10

  1. Turn the ignition OFF.
  2. Disconnect the transfer case shift control module connectors.
  3. Connect a J 39200 DMM between the transfer case shift control module connector C1 terminal A to ground.
  4. Turn the ignition to RUN.

Is the voltage greater than the specified value?

0 V

Go to Step 13

Go to Step 12

11

Repair a short to voltage in CKT 1693. Refer to Wiring Repairs in Wiring Systems.

Is the repair complete?

--

Go to Step 18

--

12

Replace the transfer case shift control module. Refer to Transfer Case Shift Control Module Replacement .

Is the action complete?

--

Go to Step 18

--

13

Repair a short to voltage in CKT 431. Refer to Wiring Repairs in Wiring Systems.

Is the repair complete?

--

Go to Step 18

--

14

  1. Disconnect the transfer case shift control module harness connectors.
  2. Connect a J 39200 DMM and measure the resistance between selector mode switch harness connector C1 terminal A to ground.

Is the resistance measured less than the specified value?

OL

Go to Step 15

Go to Step 16

15

Repair a short to ground in CKT 431. Refer to Wiring Repairs in Wiring Systems.

Is the repair complete?

--

Go to Step 18

--

16

Connect a J 39200 DMM from selector mode switch harness connector C1 terminal A to transfer case shift control module harness connector C1 terminal F14

Is the resistance measured within the specified value?

0-5 ohms

Go to Step 12

Go to Step 17

17

Repair open in CKT 431. Refer to Wiring Repairs in Wiring Systems.

Are the repairs complete?

--

Go to Step 18

--

18

  1. Ensure that the ignition is OFF.
  2. Properly mount and reconnect all previously disconnected ATC components.

Have all the ATC components been reconnected and properly mounted?

--

Go to Step 19

--

19

Clear all ATC DTCs.

Have all the ATC DTCs been cleared?

--

Go to Transfer Case Diagnostic System Check

--