GM Service Manual Online
For 1990-2009 cars only

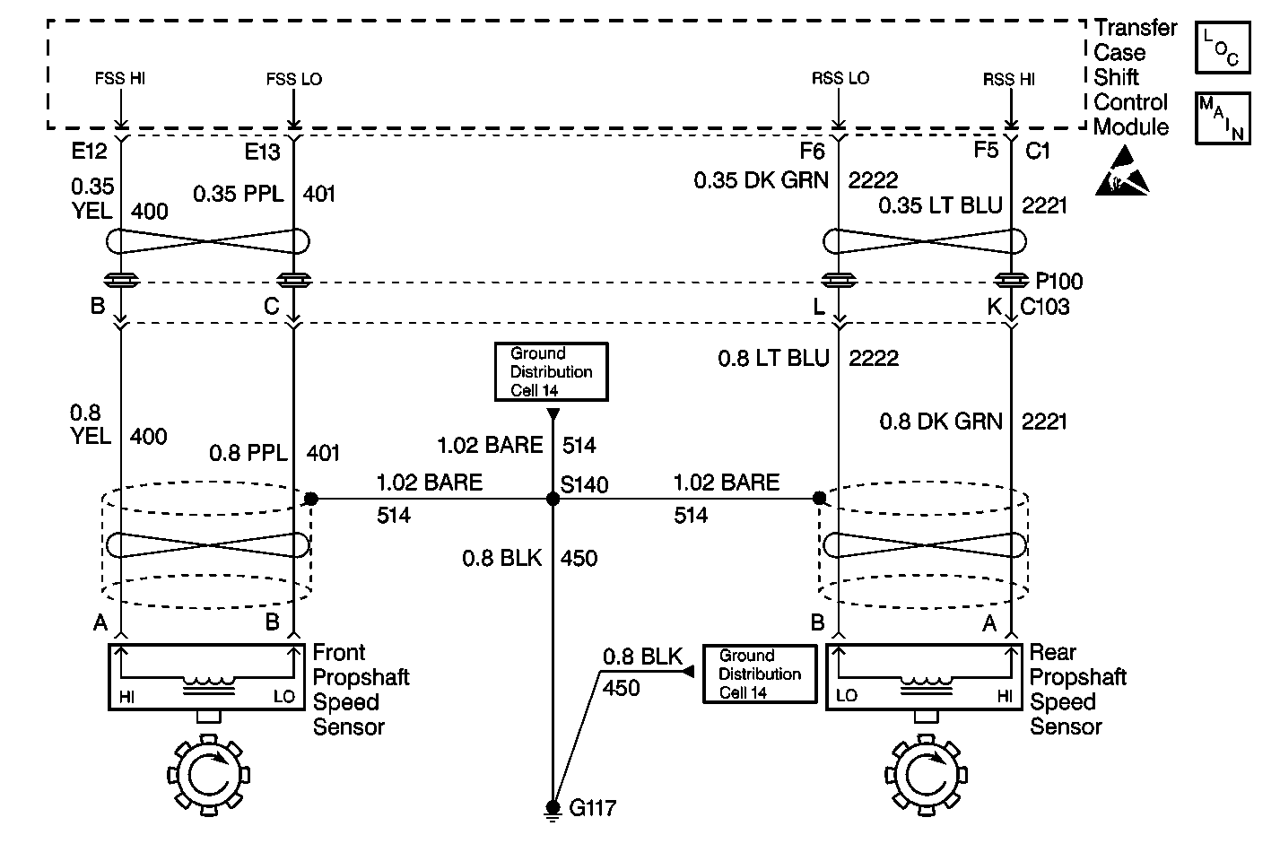
Object Number: 402069  Size: MF
Transfer Case Control Components
Transfer Case Control Schematics

Circuit Description

The front and rear propshaft speed sensor is a permanent magnet (PM) generator. The PM generator produces a pulsing AC voltage. The AC voltage level and number of pulses increases as speed increases. The module converts the pulsating AC voltage to a propshaft RPM which is used for calculations. The module only looks at these inputs together when the vehicle is in 4H, 4L, and AUTO (Adapt) range only. The propshaft RPM can be displayed with a scan tool.

This DTC detects greater than 20 % difference in the speed sensor inputs.

Conditions for Setting the DTC

The transfer case shift control module detects continued readings of front and rear propshaft speed signal which do not match. Module can not determine propshaft speed.

The system will log the DTC if the front and rear propshaft inputs indicates a speed of less than 20 % difference for 40 seconds while all of the following are true:

    • Transmission NOT in Park/Neutral
    • Engine is running
    • Front axle is engaged
    • Front propshaft indicates speed less than 75 mph
    • Front propshaft or rear propshaft speed exceeds 512 RPM
    • Vehicle speed on Class 2 Data bus exceeds 10 mph

Action Taken When the DTC Sets

    • All Shifts to AUTO (Adapt) mode will be disabled. If the current mode is AUTO, the system will not allow any further adaptive events (correct slip).
    • The SERVICE indicator (AWD/4WD) lamp will be latched on for the remainder of the current ignition cycle.

Conditions for Clearing the DTC

    • The transfer case shift control module will clear the DTC if the condition for setting the DTC no longer exists.
    • A history DTC will clear after 100 consecutive ignition cycles without a fault present.
    • History DTCs can be cleared using a scan tool.

Test Description

The number(s) below refer to the step number(s) on the diagnostic table.

  1. This step attempt to determine whether a fault exists in the rear propshaft speed sensor circuit.

  2. This step attemps to determine whether a fault exists in the front propshaft speed sensor circuit.

DTC C0376 Front/Rear Shaft Speed Mismatch

Step

Action

Value(s)

Yes

No

1

Important: If DTC C0300 is also present perform the diagnostic for DTC C0300 before continuing.

Was the Transfer Case Diagnostic System Check performed?

--

Go to Step 2

Go to Transfer Case Diagnostic System Check

2

  1. Turn the ignition OFF.
  2. Inspect the following for a mismatch:
  3. • Front and rear axle ratios
    • All tires
    • Front or rear propshaft missing
  4. Inspect that the speed sensors are wired correctly by comparing vehicle wire harness to the system schematics.
  5. Inspect the connectors for proper connection and for loose terminals.

Was a problem found?

--

Go to Step 6

Go to Step 3

3

  1. Turn the ignition OFF.
  2. Connect a Scan Tool .
  3. Turn the ignition to RUN.
  4. Check for Powertrain DTCs.

Were there any VSS DTCs found?

--

Go to Applicable DTC Table

Go to Step 4

4

  1. Connect a Scan Tool .
  2. Drive the vehicle while observing the ATC data list.
  3. Note the value of the Rear Propshaft Speed at a set speed.
  4. Change the scan tool screen to reflect the Transmission Data List.
  5. Compare the Rear Propshaft Speed previously noted to the Transmission OSS (Output Shaft Speed) at the same speed.

Are the rpm values approximately equal at the same speeds?

--

Go to Step 5

Go to Step 7

5

  1. Continue driving the vehicle while observing the ATC data list.
  2. Compare the Rear Propshaft Speed to the Front Propshaft Speed at the same speed.

Are the rpm values approximately equal at the same speeds?

--

Go to Step 8

Go to Step 9

6

Repair/replace as necessary.

Is the action complete?

--

Go to Step 10

--

7

Replace the transfer case rear vehicle speed sensor. Refer to Speed Sensor Replacement .

Are the repairs complete?

--

Go to Step 10

--

8

Replace the transfer case shift control module. Refer to Transfer Case Shift Control Module Replacement .

Are the repairs complete?

--

Go to Step 10

--

9

Inspect/replace the front transfer case vehicle speed sensor reluctor wheel for damage, misalignment, and slipping.

Are the repairs complete?

--

Go to Step 10

--

10

  1. Ensure the ignition is OFF.
  2. Properly mount and reconnect all ATC components.

Have all the ATC components been reconnected and properly mounted?

--

Go to Step 11

--

11

Clear all ATC codes.

Have all the ATC codes been cleared?

--

Go to Transfer Case Diagnostic System Check

--