GM Service Manual Online
For 1990-2009 cars only

Tools Required

    • J 5590 Rear Pinion Bearing Cone Installer
    • J 7817 Front Pinion Bearing Cup Installer
    • J 7818 Rear Pinion Bearing Cup Installer
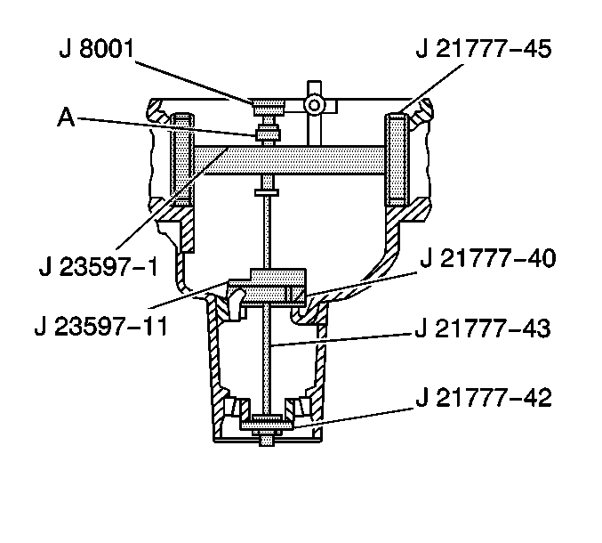
    • J 8001 Dial Indicator Set
    • J 8092 Driver Handle
    • J 8107-4 Differential Side Bearing Puller Pilot
    • J 8614-01 Companion Flange Holder
    • J 21777-40 Rear Pilot Washer
    • J 21777-42 Front Pilot Washer
    • J 21777-43 Stud Assembly Bolt
    • J 21777-45 Side Bearing Discs
    • J 23597-1 Arbor
    • J 23597-11 Gauge Plate
    • J 23765 Axle Bearing Installer
    • J 23771 Axle Shaft Seal Installer
    • J 23911 Pinion Oil Seal Installer
    • J 25299 Differential Side Bearing Installer

    Object Number: 6936  Size: SH
  1. Install the front pinion bearing cups using the J 7817 and the J 8092 .

  2. Object Number: 6937  Size: SH
  3. Install the rear pinion bearing cups, using the J 7818 and the J 8092 .
  4. Clean all the gauge parts.
  5. Lubricate the front and rear pinion bearings with axle lubricant.

  6. Object Number: 623747  Size: SH
  7. Place the bearings into the pinion bearing cups. Install the J 21777-40 , the J 21777-42 , the J 21777-43 , and the J 23597-11 into the pinion bore.
  8. Notice: Use the correct fastener in the correct location. Replacement fasteners must be the correct part number for that application. Fasteners requiring replacement or fasteners requiring the use of thread locking compound or sealant are identified in the service procedure. Do not use paints, lubricants, or corrosion inhibitors on fasteners or fastener joint surfaces unless specified. These coatings affect fastener torque and joint clamping force and may damage the fastener. Use the correct tightening sequence and specifications when installing fasteners in order to avoid damage to parts and systems.

  9. Hold the stud stationary at the flats of the stud.
  10. Tighten
    Tighten the stud nut to 2.2 N·m (20 lb in).

  11. Rotate the gauge plate and bearings several complete revolutions in order to seat the bearings.
  12. In order to keep the gauge plate in rotation, torque the stud nut to 1.6-2.2 N·m (15-20 lb in).
  13. Tighten
    Tighten the stud nut to 1.6-2.2 N·m (15-20 lb in).

  14. Assemble the J 21777-45 , the J 23597-11 , and the J 8001 to the differential bearing bores. The bores must be clean and free of burrs.

  15. Object Number: 623748  Size: SH
  16. Install the side bearing caps.
  17. Tighten the bolts finger tight.
  18. Rotate the gauge plate until the gauging areas are parallel with the discs.
  19. Position the gauge shaft assembly in the carrier so that the dial indicator rod is centered on the gauge area of the gauge block.
  20. Set the dial indicator at zero. Push the indicator shaft down until the needle rotates approximately 3/4 turn clockwise. Tighten the dial indicator in this position.
  21. Slowly rotate the gauge shaft back and forth until the dial indicator reads the greatest deflection. This shows when the indicator needle is centered.
  22. Set the dial indicator to zero, at the point of greatest deflection. Repeat the rocking action of the gauge shaft in order to verify the zero reading.
  23. Rotate the gauge shaft until the dial indicator rod does not touch the gauge block.
  24. Record the actual number on the dial indicator. Do not record the number that represents how far the needle travels. This value is the nominal pinion setting.
  25. Example: If the indicator needle moved counterclockwise 1.70 mm (0.067 in) to a dial reading of 0.84 mm (0.033 in), record the dial reading of 0.84 mm (0.033 in). Do not record the reading of 1.70 mm (0.067 in). The dial indicator should be within the 0.50-1.27 mm (0.020-0.050 in) range.

  26. All drive pinion gears are manufactured to a nominal depth with no markings. The dial indicator reading is the shim selection.
  27. Remove the bearing caps and depth gauging tools.
  28. Install the correct pinion shim to the pinion.

  29. Object Number: 6945  Size: SH
  30. Install the selective shim between the inner bearing and the shoulder on the gear.
  31. Install the inner pinion bearing using the J 5590 .
  32. Drive the bearing on until the cone seats on the pinion shim.

  33. Install a new collapsible spacer. Lubricate the pinion bearings using axle lubricant.
  34. Install the pinion to the axle housing.

  35. Object Number: 9723  Size: SH
  36. Install the outer pinion bearing onto the pinion using the J 5590 . When you drive the bearing onto the pinion, hold the pinion forward from inside the case.
  37. Install the pinion oil seal using the J 23911 .
  38. Apply sealant (GM P/N 12346004) to the inside sealing surface of the pinion yoke.
  39. Install the pinion flange by tapping the flange using a soft-faced hammer until a few threads are shown.
  40. Install the pinion washer and nut while holding the pinion flange using the J 8614-01 .
  41. Tighten the nut until the pinion end play is just taken up. Rotate the pinion while tightening the nut in order to seat the bearings. When no end play is present in the pinion, inspect the preload torque.

  42. Object Number: 1497  Size: SH
  43. Remove the J 8614-01 . Inspect the pinion preload by rotating the pinion using an inch pound torque wrench. Preload should be at or below 2.7-3.6 N·m (24-32 lb in) on new bearings, or within 1.0-1.4 N·m (8-12 lb in) for used bearings.
  44. If the preload torque is below the specified values, continue torquing the nut in small increments. Inspect the preload after each tightening. Each tighten increases the bearing preload by several pounds. If the bearing preload is exceeded, remove the pinion and install a new collapsible spacer.
  45. Once the specified preload has been obtained, rotate the pinion several times in order to ensure that the bearings have seated. Recheck the preload, and adjust if necessary.
  46. Install the differential case.
  47. Lubricate all the parts using axle lubricant.
  48. Install the thrust washers to the side gears.

  49. Object Number: 9746  Size: SH
  50. Install the side gears to the differential case on the same side in which the parts were removed.
  51. Place one pinion gear on the side gear. Rotate the gear until the pinion is exactly opposite the differential opening.
  52. Install the differential thrust washers.
  53. Rotate the pinion gears into place. Verify that the gears are aligned with the pinion shaft holes.
  54. Install the pinion shaft.
  55. Install the pinion shaft lock bolt finger tight.
  56. Inspect the mating surfaces of the differential case for cleanliness and that the surfaces are free of burrs.

  57. Object Number: 6940  Size: SH
  58. Install the ring gear to the differential case.
  59. Install two threaded studs into the ring gear on opposite sides.
  60. Place the ring gear on the case. Align the studs with the holes in the case.
  61. Install the ring gear bolts. Tighten the ring gear bolts alternately and in stages, gradually pulling the ring gear onto the differential case.
  62. Tighten
    Tighten the ring gear bolts in sequence to 120 N·m (90 lb ft).


    Object Number: 6941  Size: SH
  63. Install the differential side bearings, using the J 25299 , the J 8092 , and the J 8107-4 .
  64. • In order to protect the differential case, place the J 8107-4 in the case on the side opposite the bearing installation.
    • Drive the bearing onto the case using the J 25299 and the J 8092 .
  65. Install the differential case to the axle housing.
  66. Adjust the backlash. Refer to Backlash Adjustment .

  67. Object Number: 1478  Size: SH
  68. Install the bearing using the J 23765 and the J 8092 until the tool bottoms out against the housing shoulder.
  69. Lubricate the bearing using axle lubricant.


    Object Number: 1479  Size: SH

    Important: 

       • Do not damage the oil seal (1).
       • The splines at the end of the axle shaft must engage with the splines of the axle side gear.

  70. Install the oil seal (1) using the J 23771 until the seal (1) is flush with the axle tube.
  71. Lubricate the seal lips using axle lubricant.

  72. Install the axle shafts into the axle housing.

  73. Object Number: 9774  Size: SH
  74. Install the C locks on the axle shaft.
  75. Pull the axle shaft outward so the C lock seats in the counterbore of the axle side gear.


    Object Number: 9769  Size: SH
  76. Install the pinion shaft through the case and the differential gears.
  77. Align the hole in the pinion shaft with the lock bolt hole.


    Object Number: 9775  Size: SH
  78. Install the pinion shaft lock bolt. Apply Loctiteâ„¢ 242.
  79. Tighten
    Tighten the lock bolt to 34 N·m (25 lb ft).

  80. Inspect the gear tooth contact pattern. Refer to Gear Tooth Contact Pattern Inspection .
  81. Install the cover gasket and cover.
  82. Tighten
    Tighten the cover bolts to 27 N·m (20 lb ft).

  83. Fill the axle using new lubricant to a level within 9.5 mm (3/8 in) of the filler plug hole.
  84. Tighten
    Tighten the filler plug to 35 N·m (26 lb ft).