GM Service Manual Online
For 1990-2009 cars only
Makes
🢒
Chevrolet
🢒
2000
🢒
Blazer - 4WD - RHD
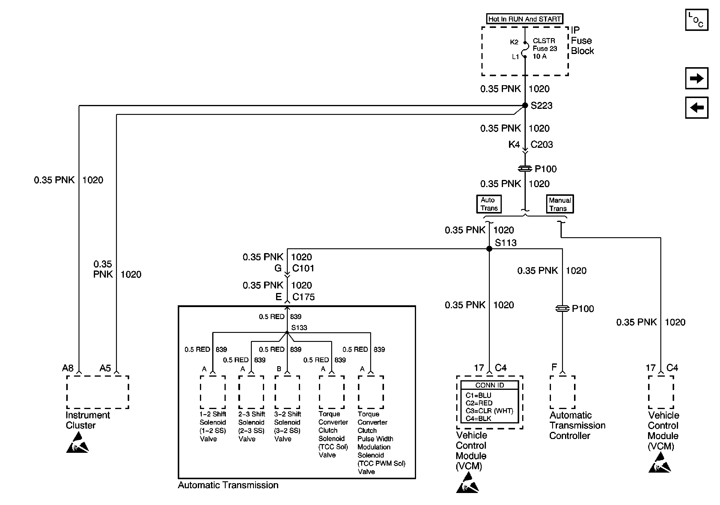
🢒 CLSTR Fuse
CLSTR Fuse
CLSTR Fuse
Power and Grounding Components
PARK LP, FR PRK, LR PRK, RR PRK, and TRL PRK Fuses
RDO IGN, FRT WPR, RR WIPER, ABS, CRUISE, and W/W PUMP Fuses
Ign RUN and START Bus Bar
Handling ESD Sensitive Parts Notice
VCM Connector End Views
Handling ESD Sensitive Parts Notice
Handling ESD Sensitive Parts Notice