GM Service Manual Online
For 1990-2009 cars only
Makes
🢒
Chevrolet
🢒
2000
🢒
Blazer - 4WD - RHD
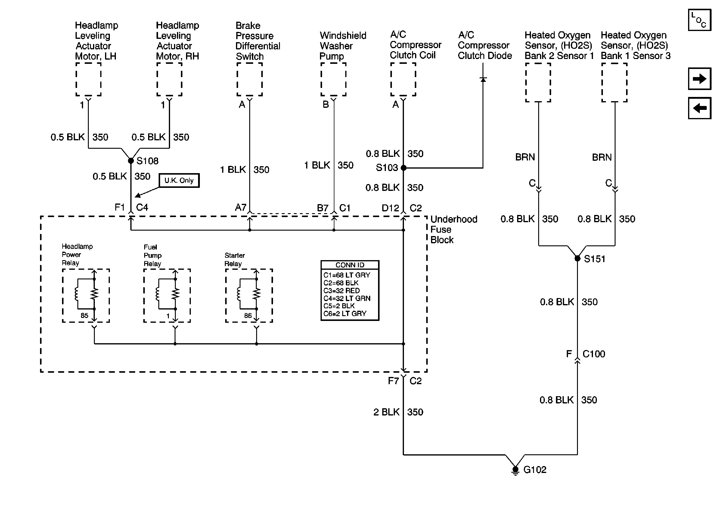
🢒 G102
G102
G102
Power and Grounding Components
G103 and G105
G117
Power and Grounding Connector End Views