GM Service Manual Online
For 1990-2009 cars only
Makes
🢒
Chevrolet
🢒
2000
🢒
Blazer - 4WD - RHD
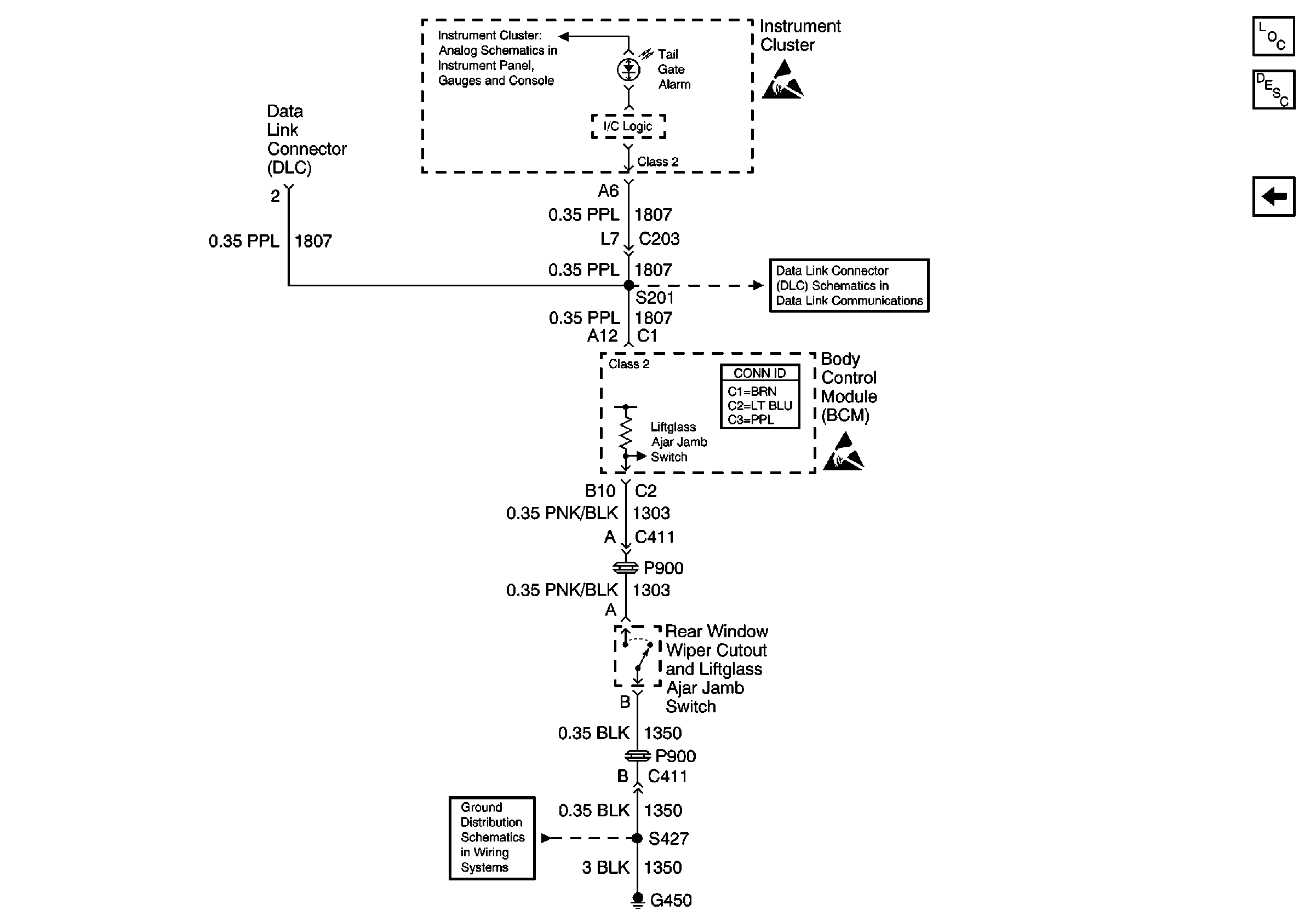
🢒 Gate Ajar Indicator
Gate Ajar Indicator
Gate Ajar Indicator
Body Rear End Components
Endgate Power Window Circuit Description
Endgate Window Release Actuator and Switch
Data Link Connector (DLC), VCM and Engine Oil Pressure Gauge Sensor
Handling ESD Sensitive Parts Notice
S201
Body Control System Connector End Views
Handling ESD Sensitive Parts Notice
G450