GM Service Manual Online
For 1990-2009 cars only
Makes
🢒
Chevrolet
🢒
2001
🢒
Blazer - 4WD - RHD
🢒
Restraints
🢒
Seat Belts
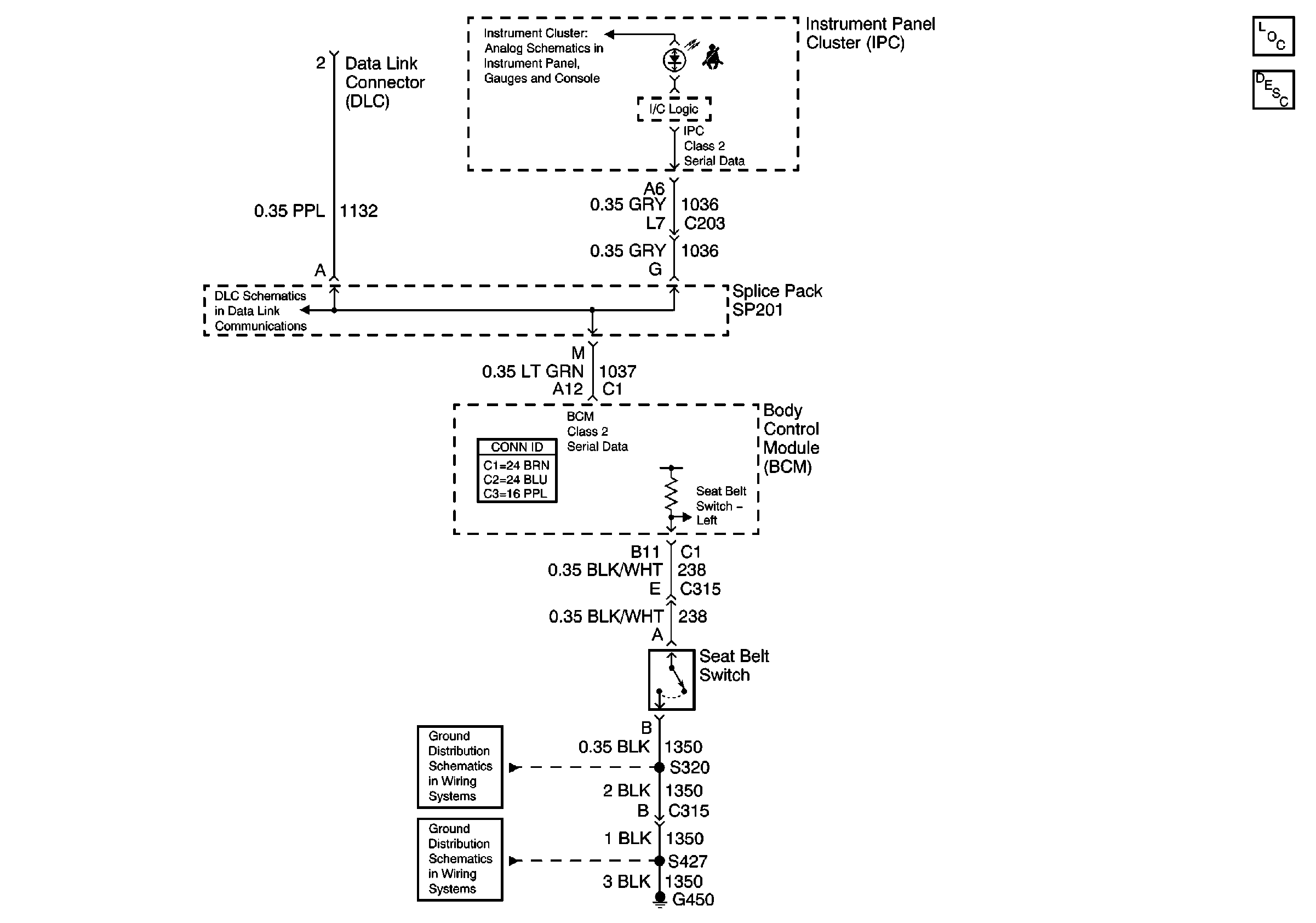
🢒 Seat Belt Schematics
Master Electrical Component List
Seat Belt System Description and Operation
Data Link Connector (DLC), VCM and Engine Oil Pressure Gauge Sensor
Splice Pack SP201 and Modules
S313 and S419
G450