GM Service Manual Online
For 1990-2009 cars only
Figure 1:

Accessories Power Receptacle Tray


Object Number: 406325  Size: LF
(1)Accessories Power Receptacle Harness
(2)C223
(3)IP Insulator
(4)Accessories Power Receptacle Tray
(5)Accessories Power Receptacle, RH
(6)Accessories Power Receptacle, LH
Figure 2:

Accessories Power Receptacle, Rear


Object Number: 397905  Size: MF
(1)Body Side Trim Panel
(2)Accessories Power Receptacle, Rear
Figure 3:

Body Harness, Right Front


Object Number: 610442  Size: LF
(1)Stoplamp Switch
(2)P100
(3)S231, S232, D200
(4)S221
(5)Body Relay Block
(6)C217
(7)S223, S224, D202
(8)S211
(9)G204, G205
(10)G203
(11)Remote Control Door Lock Receiver (Japan Only)
(12)Data Link Connector (DLC)
(13)S235, S236, D201
(14)C214
(15)C211
(16)Body Control Module (BCM), Connector C2
(17)Body Control Module (BCM), Connector C1
(18)Lower Discharge Air Temperature Sensor Connector
(19)S201
(20)S202
(21)S212
(22)Clutch Pedal Position Switch Connector
(23)S207
(24)S203
(25)S204
Figure 4:

Instrument Panel, RH


Object Number: 610699  Size: LF
(1)IP Dimmer Switch Connector
(2)IP Fuse Block
(3)IP Harness
(4)S230
(5)C217
(6)Side Door Jamb Switch, RF Connector
(7)Side Door Jamb Switch, RF
(8)IP Fuse Block Access Panel
(9)Fog Lamp Switch
(10)Headlamp Leveling Switch
(11)Instrument Panel
(12)IP Dimmer Switch
Figure 5:

Underhood Fuse Block Connector Location


Object Number: 354788  Size: LF
(1)Connector C2 (BLK)
(2)Connector C1 (LT GRY)
(3)Connector C5 (BLK)
(4)Connector C6 (LT GRY)
(5)Connector C3 (RED)
(6)Connector C4 (LT GRN)
Figure 6:

Front Frame Grounds


Object Number: 354759  Size: LF
(1)Front Wheel Speed Sensor - LH
(2)Inflatable Restraint Front End Discriminating Sensor - LH
(3)Inflatable Restraint Front End Discriminating Sensor - RH
(4)G106
(5)G118
(6)Front Wheel Speed Sensor - RH
Figure 7:

Battery Fuse


Object Number: 354776  Size: LF
(1)Radiator Support
(2)Fuse Holder - Battery Fuse
(3)G108
(4)S153
Figure 8:

Radiator Support, Inside RH


Object Number: 354578  Size: MF
(1)Radiator Support
(2)Forward Lamps Harness
(3)Splice Pack SP101
(4)Ground G112
Figure 9:

Rear Frame Location View


Object Number: 357334  Size: LF
(1)Trailer Wiring Provision
(2)Splice Pack SP423
(3)Evaporative (EVAP) Emission Canister Control Valve
(4)C430
(5)Fuel Filler Neck Ground Strap
(6)G402
Figure 10:

Body Opening Frame, Rear


Object Number: 610720  Size: LF
(1)Trailer Wiring Provisions
(2)C403
(3)G450
(4)S427
(5)S428
(6)G420
(7)C402
(8)S404
(9)S405
(10)S406
Figure 11:

Body Relay Block


Object Number: 612384  Size: LF
(1)Park Lamp Relay
(2)Courtesy Lamp Relay
(3)Retained Accessory Power (RAP) Relay
(4)Power Seats Circuit Breaker
(5)Power Windows Circuit Breaker
(6)Inadvertent Power Relay
(7)Door Lock Relay
(8)Fog Lamp Relay, Front
(9)Driver Door Unlock Relay
(10)Door Unlock Relay
Figure 12:

Underhood Fuse Block Label


Object Number: 669174  Size: MF
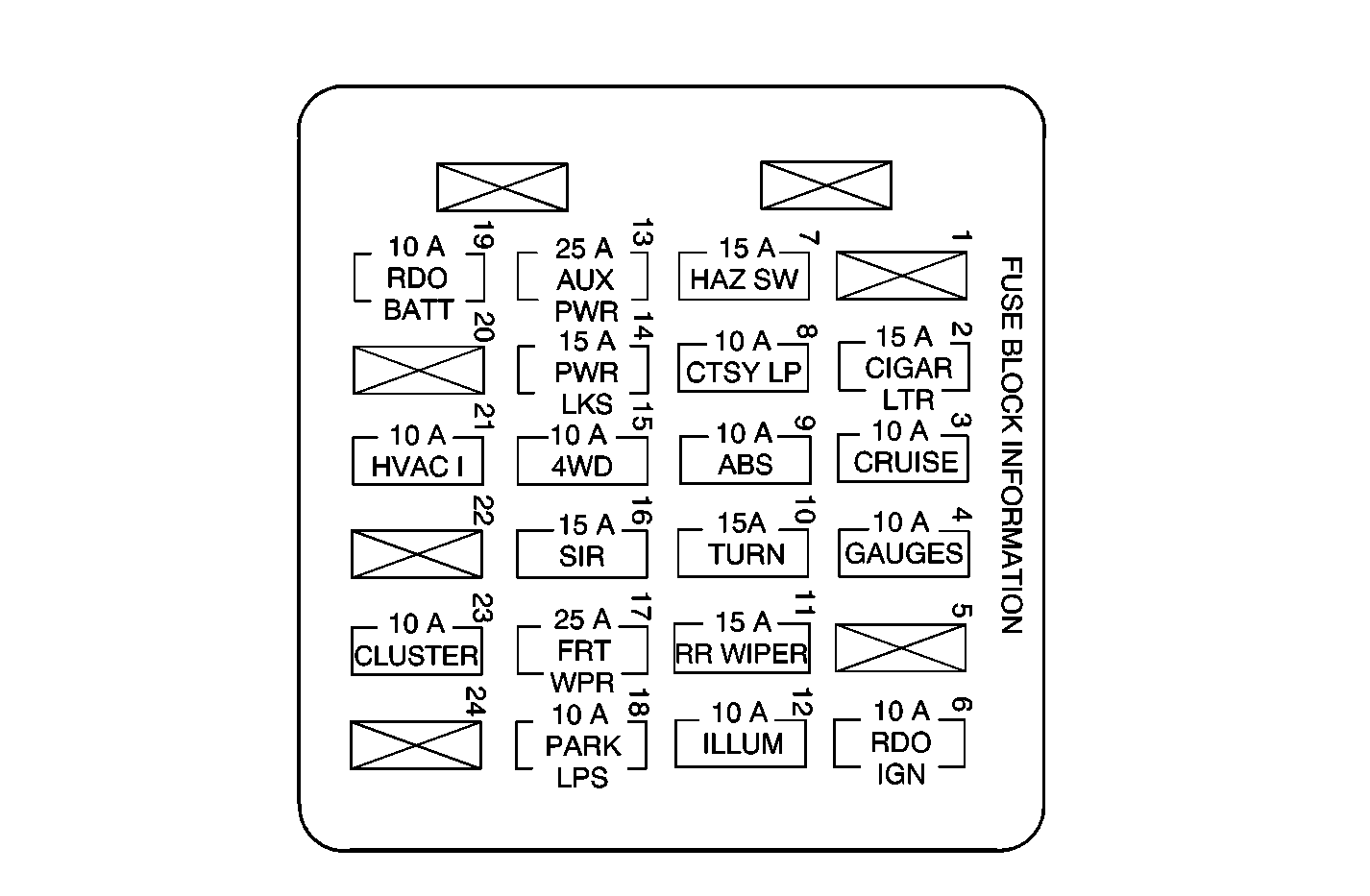
Figure 13:

IP Fuse Block (Label)


Object Number: 612393  Size: MF